70th BetonTage: Proceedings Factory report: Sustainable precast concrete elements from Luckenwalde, Brandenburg, for civil engineering and infrastructure Precast Element Production: Austrian company Mischek Systembau invests in the future of precast concrete production
Dear BetonTage attendees, dear industry partners,More than ever, designing sustainable solutions for construction will be the challenge for the coming years and decades. However, our focus should not...
Under the heading of “Markets for People”, the 2026 edition of the BetonTage congress will once again bring together experts from the fields of architecture and design, construction, industry,...
For many years, sustainability in construction has been understood mainly through an environmental lens. Reducing CO₂ emissions, improving energy efficiency and lowering the carbon footprint of...
Sustainability is no longer an optional extra in infrastructure construction, but a key prerequisite for the future viability of infrastructure in Germany. Climate targets, resource scarcity, and...
The construction industry faces the challenge of conserving resources while providing high-quality materials. Recyclates from mineral waste offer a sustainable solution here. The presentation provides...
Sustainability in concrete construction means considering the entire life cycle of a structure – from cement production through the use phase to end-of-life. Switzerland pursues a consistently...
XX Sustainability in road, civil engineering, and sewer construction – the construction company’s perspectiveNachhaltigkeit im Straßen-, Tief- und Kanalbau – Sichtweise der BauunternehmungDr....
Evonik’s Sitren Selfheal 455 is an innovative powder formulation based on natural microbes, nutrients, and surface-active ingredients designed to enhance the longevity and sustainability of concrete...
17 Optimizing floor systems using precast elements – CO2 equivalents according to the DAfStb GHG guideline in the overall project context Optimierung von Deckensystemen mit Fertigteilen –...
This presentation highlights the practical use of the Ecoelement and demonstrates how to implement a successful, effortless transition to a circular construction industry. It aims to showcase the...
The circular economy begins when the use of recycled materials in products is no longer questioned, but becomes the new “normal.” In the field of concrete and reinforced concrete construction, too,...
Floor systems have a major influence on the environmental footprint of structures owing to their high material content, which results in considerable global warming potential (GWP). The new DAfStb...
As part of the revision of the Construction Products Regulation, the European Commission decided to issue new standardization requests for harmonized standards. Precast concrete elements were the...
For the last three decades, Hering Group based in Burbach, Germany, has been pioneering sustainable construction. In 1996, it became the first-ever European construction contractor with a certified...
The reconstruction of the bell tower of St. Johannis Church in Ellrich was a technically challenging construction project that combined historical substance with modern construction. The design was...
The factory production control system consists of regular inspections and tests, documentation and availability of test results, regulations on responsibilities and powers for personnel, and steps to...
When discussing the future of paving construction, we must be honest: the way concrete paving is predominantly used today poses an ecological problem. The combination of a high carbon footprint due to...
XX Comparative life cycle assessment “Terrace structures with different surface layers” Vergleichende Ökobilanz “Terrassenaufbauten mit unterschiedlichen Deckschichten” Dipl.-Ing. (FH) Michael...
In the construction industry, climate protection and resource consumption are becoming increasingly important issues in the sustainability debate. The environmental impact of building materials and...
In Germany, the average clinker factor in cement was recently only 67% – a historically low value that underscores the industry’s progress toward climate neutrality. This development is remarkable...
XX Build infrastructure faster – Better framework conditions for bridge construction in Germany Infrastruktur schneller bauen – Bessere Rahmenbedingungen für den Brückenbau in Deutschland MR...
For the modernization of road infrastructure and the replacement of old, unsound bridges, alternative construction methods are being sought that are particularly fast, traffic-compatible, and...
The performance of the transport infrastructure is a key prerequisite for Germany’s economic development and competitiveness. Bridges in particular are increasingly becoming the focus of public...
The foreword introduces the innovative construction method used for the Echterhoff Express Bridge, a modular system for the rapid replacement of bridge structures while traffic continues to flow....
Low-clinker composite cements and cements containing recycled construction materials in accordance with the DIN EN 197-5 and -6 standards, but also other types of cement that were granted national...
XX New types of binders as alternatives to cement – Where are we heading? Neuartige Bindemittel als Zementalternativen – Quo vadis?! Univ.-Prof. Dr.-Ing. Frank Dehn XX Maximizing clinker...
The global cement industry is facing the challenge of having to reduce its carbon emissions in a sustainable manner. Besides geological storage (carbon capture and storage; CCS), another option is to...
Alkali-activated concrete (AAC) is a type of concrete where the Portland cement–based binder is substituted by an alternative, alkali-activated binder and as such is promising for reducing CO₂...
In the Netherlands, Cementbouw started 10 years ago with the development of an alternative binder for concrete with the lowest possible CO₂ footprint. After several years of lab research, a first...
XX Concrete as an architectural design element – material, atmosphere, and precision Beton als architektonisches Gestaltungsmittel – Material, Atmosphäre und Präzision Dipl-Ing. (FH) Oliver...
This presentation focuses on the versatile use of concrete as a form-giving and atmospheric element in architecture. Starting with the key question of how concrete tells stories about spaces and how...
Project 1: Überseequartier Hamburg: Sophisticated facade architecture for maritime livingThe “Eleven Decks” residential project in Hamburg’s Westfield Überseequartier district makes a striking...
Cracks in terrazzo or concrete floors not only impair the appearance, but can also endanger the functionality and durability of the surface in the long term. Synfola offers an efficient and...
The completion of the world-famous Sagrada Familia basilica, the most famous work by Catalan architect Antoni Gaudi, is drawing nearer. The monumental building is scheduled to be completed in 2026,...
Stuttgart 21 is the name given to a transport and urban development project that will reorganize the Stuttgart railway junction in the future. The construction of the new Stuttgart main station is a...
Lightweight concrete already now stands out against other building materials due to numerous specific advantages. These include, for one thing, its low bulk density and, associated therewith, its good...
Lightweight concrete represents a clear synthesis of energy efficiency, durability and resource conservation in solid construction. Yet its market share still shows significant potential for growth....
XX Sustainable Solid Construction – Innovation Meets Responsibility Nachhaltiger Massivbau – Innovation trifft Verantwortung Dipl.-Ing. (FH) Marco Schuck XX BIM-based construction with...
In times of skilled labor shortages, it is becoming increasingly difficult to find skilled workers for construction trades. Even the availability of unskilled laborers who can be employed on...
According to a survey published by the ADAC in November 2025, around 20% of the 40,100 bridges in the German federal highway network will need to be renovated or replaced by 2040. With an increased...
Decarbonizing concrete construction is a key task for construction research and the construction industry. One promising approach is the use of biochar as a multifunctional component in concrete. In...
Reducing the cement content is one of the most effective measures for reducing CO₂ emissions in concrete and lightweight concrete production. The use of reactive mineral components can significantly...
As part of a real-world transfer pilot project, a roof structure made of prestressed carbon concrete was built for the first time in Dresden under real construction and usage conditions. For the new...
Germany is facing a structural bridge crisis. An analysis of the structural data published by the Federal Highway and Transport Research Institute (Bundesanstalt für Strassenwesen; BASt) revealed that...
Floor slabs account for a significant share of the total volume of materials used in building construction. Reinforced concrete flat slabs with a solid cross-section are particularly material...
In this presentation, Lars Lehmann, Managing Director of Klaus Köhler Beton- und Fertigteilwerk GmbH, explains how nonmetallic reinforcement can be used in concrete structures and what its benefits...
XX Dedicated and sustainable – Cable duct covers with nonmetallic reinforcement contribute to a low-carbon infrastructure Motiviert und nachhaltig – Kabelkanaldeckel mit nichtmetallischer...
Since January 2024, the DAfStb guideline on “Precast Components with Non-Metallic Reinforcement” with its Parts 1 to 5 has served as a comprehensive basis for design, construction, and test methods to...
As part of an ongoing research project at Munich University of Applied Sciences, new resource-efficient structural concretes made entirely from recycled aggregates are being developed and tested for...
XX Pilot project with 100% recycled aggregate and cement replacement with RC powder Pilotprojekt mit 100 % rezyklierter Gesteinskörnung und Zementersatz durch RC-Mehl Peter Wild, M. Eng; Prof....
It is becoming increasingly important to use recycled construction materials in concrete to reduce demolition waste and limit sand and gravel extraction. In this respect, structures of our transport...
In recent years, the production of concrete with recycled aggregates (RAC) has established itself as a promising option to reduce the consumption of primary resources in the production of concrete....
Compared with (normal-strength) steel fiber-reinforced concrete, the fiber volume fraction in ultra-high-performance fiber-reinforced concrete (UHPFRC) is significantly higher. Consequently, the...
The draft for enquiry of the DAfStb directive “Durability of concrete structures based on the exposure resistance class system (ERC guideline)” was recently completed by the DAfStb subcommittee...
XX DAfStb directive: „Durability of concrete structures based on the exposure resistance class system“ (ERC guideline) DAfStb-Richtlinie „Dauerhaftigkeit von Betonbauwerken nach dem System der...
In the future, the durability of concrete and reinforced concrete structures is planned to be extended by a performance-oriented concept. This concept is based on models for predicting the durability...
In order to offer technically advanced alternatives to standard concrete formulations in the field of building materials, the Max Bögl Group has been using the performance principle as an integral...
The concept of circular construction counteracts the increasing scarcity of raw materials by reusing components or demolition material as new building materials. One approach to circular construction...
The further development of design concepts for reinforced concrete structures, in particular the punching shear design of flat slabs and footings, represents a key challenge in structural concrete....
Do we need to reinvent concrete? Perhaps not. But we do need to develop and improve it continuously, without forgetting the hard-won lessons of the past. A few contributions to this development are...
Together with the DBV, the RPTU is conducting a research project to develop a more sustainable alternative solution for conventional reinforced concrete floor slabs. The aim is to reduce concrete...
XX Modular vault design: Reversible precast ceiling system for sustainable concrete construction Gewölbe modular gedacht: Reversibles Fertigteildeckensystem für den nachhaltigen Betonbau Aaron...
The construction sector is among the most resource-intensive industries worldwide and accounts for more than half of global raw material consumption. Floor slabs, which constitute the largest share of...
For the 2027 State Garden Show (LGS) in Neustadt a. d. Weinstraße, a building will be erected, using a CEM II/C-M (Q-LL) as binder containing 30 % calcined clay in combination with 15 % limestone...
Where does additive manufacturing stand in concrete construction—and what is needed to establish 3D concrete printing in the construction industry? These questions are more relevant than ever, some 30...
As with any construction project, the same applies to 3D concrete printing: there is no “one size fits all.” Our examples using the Cobod BOD2 portal system show that the desired appearance, statics,...
3D concrete printing of buildings is a forward-looking technology for addressing the personnel, ecological, and economic challenges of the construction industry. The construction sector is responsible...
The presentation shows current projects that demonstrate how 3D concrete printing has developed from a promising technology into a real construction process. The focus is on architectural, planning,...
Additive manufacturing currently represents the most visible step on the path to digital construction. Concrete construction in particular demonstrates how materials, processes, and forms can be...
Cordless, flexible, and versatile – for use by hand or as an attachment – Probst GmbH is expanding its range with the new M-JET-250 vacuum hand-held laying device, a compact and powerful vacuum lifter...
The first part of the entries for the 2026 Supplier Industry Innovation Award was published in the previous issue of BFT 02/2026 as part of the 70th BetonTage. This time, we present the second part....
The precast concrete industry faces a double challenge: it is one of the most emission-intensive industries worldwide and, with the upcoming EU Construction Products Regulation (CPR), is facing the...
With EvoZero, Heidelberg Materials is launching the world‘s first near-zero cement based on CO₂ capture and storage —a breakthrough for decarbonizing the building materials industry. The innovation is...
Construction projects today are under considerable time and cost pressure. Delays cause downtime costs and jeopardize tight construction schedules. At the same time, especially in screed construction,...
Dyckerhoff is the first manufacturer to receive general building authority approval (abZ) for the use of the new CEM VI (S-LL) cement generation in accordance with DIN EN 197-5. The German Institute...
The construction sector is in the midst of a deep structural crisis. Reinforced concrete, which has been the standard for around 150 years, causes significant problems: cement is responsible for...
DokaXact Load & Pressure fundamentally change the production of concrete components. Whereas previous measuring systems usually only recorded individual, often analog or wired measuring points,...
The Rapp-refined shell construction system enables the production of lightweight, energy-efficient building envelopes for single-family and multi-family homes, passive houses, and Efficiency 55...
Effective January 1, 2026, Bernd Büttner took over the position of Technical Managing Director at F.C. Nüdling Betonelemente GmbH + Co. KG in Fulda.The 39-year-old father has extensive industry...
Magnetic fasteners for concrete components are increasingly in demand due to their efficiency. The objective was therefore to develop a simple and cost-effective solution for attaching rails and...
Dr. Jennifer Scheydt joined the management team at Birkenmeier Stein + Design as Chair of the Management Board on March 1, 2026, and will be responsible for the company together with Markus Hemmerich...
The demands placed on modern concrete products are constantly increasing. In the area of coloring in particular, there is a conflict between design expectations and technical limitations. Deep, stable...
Concrete pipes have been used in sewer construction for decades due to their high load-bearing capacity, dimensional stability and cost-effectiveness. In wastewater systems, however, they are exposed...
From March 10 to 12, Ulm will host BetonTage, Europe‘s largest trade congress for the concrete industry. Sika Deutschland CH AG & Co. KG will be presenting its expertise in concrete construction at...
On January 27, 2026, Goldbeck, a construction and service company operating throughout Europe, opened a concrete research center at its precast concrete plant in Hamm (Westphalia). At the Concrete...
Moldtech has recently commissioned a complete production line for box culverts for the ambitious Western Harbour Tunnel project promoted by the New South Wales Government in Sydney.The client, Acciona...
Efficiency, digitalization, and sustainability are the defining attributes of our time, which is why continuously investing in the modernization of production processes is becoming increasingly...
Ensuring consistently high product quality is one of the central challenges in concrete block and paving block production. Fluctuations in raw materials, changes in the concrete mix, wear on tools, or...
In April of last year, the Slovakian company Dosa Beton needed only one and a half weeks to completely renew its concrete plant. This was made possible by the Euromix 1600 Nova 128-4 L mobile mixing...
With the introduction of a completely new product segment, AJF Group Engineering GmbH is specifically expanding its portfolio to include recycling plants for fresh concrete. The company is thus...
Maba Fertigteilindustrie GmbH, a subsidiary of the Kirchdorfer Group, was once again awarded the silver medal in the EcoVadis sustainability rating in 2026. This means that the precast specialist is...
Since March 2023, an Austrian project consortium has been working on the „BitKOIN“ project to develop a synthetic granulate substitute (granulate 2.0) from mineral wool waste. The aim is to process...
The CHT Group relies on innovative, non-metallic reinforcements to save resources and energy and reduce CO₂ emissions in the construction industry. A prime example is textile-reinforced concrete: it...
Klaus Köhler Beton- und Fertigteilwerk manufactures, among other things, cable duct covers reinforced with GFRP Rebars for infrastructure applications. The BFT team recently visited the innovative...
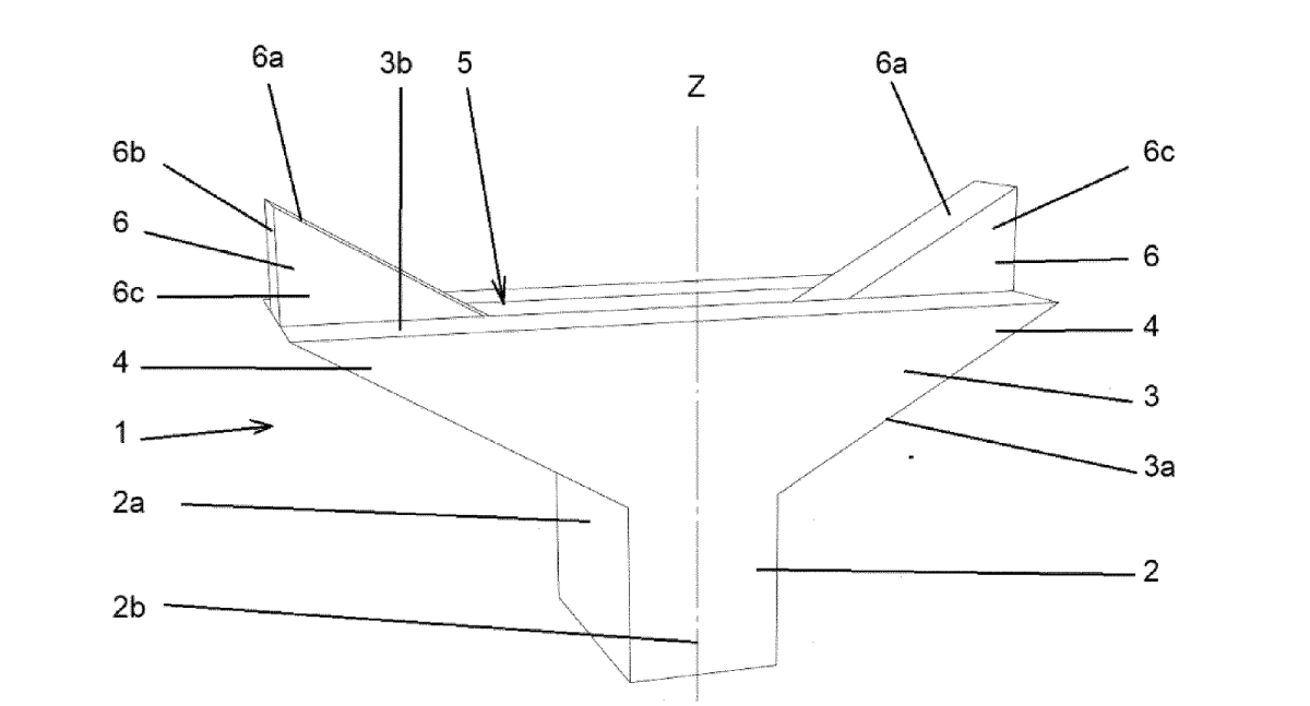
(10) WO2024208742A1(22) 28.03.2024(43) 10.10.2024(57) The invention relates to the field of construction and, more specifically, to the structural elements used in the concrete frame technique in the...
(10) WO2024209439A1(22) 05.04.2024(43) 10.10.2024(57) A system (10) and a method for forming a channel (26) in an uncured concrete slab (20) are described. The system (10) includes a first blade (50),...
(10) WO2024209711A1(22) 06.07.2023(43) 10.10.2024(57) The present invention provides a dry stacking concrete block offering high workability without use of an adhesive and the like, such as concrete...
(10) WO2024213712A1(22) 12.04.2024(43) 17.10.2024(57) A method for pre-fabricating an insulated concrete wall for a casco of a house comprises the steps preparing a mould having a base and upwardly...
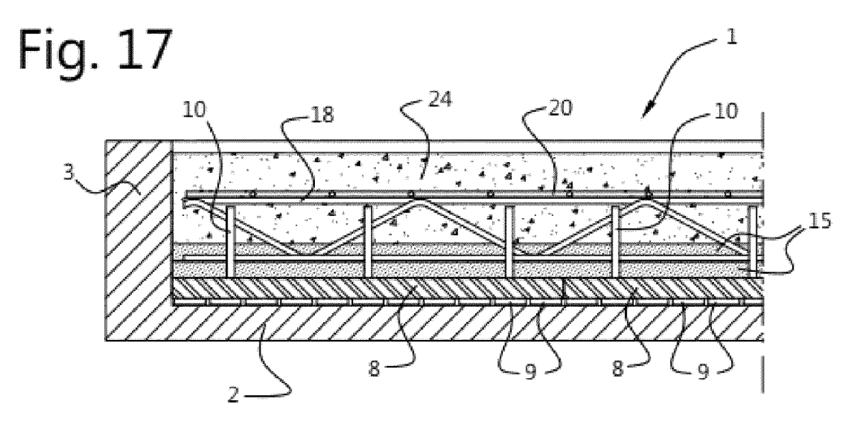
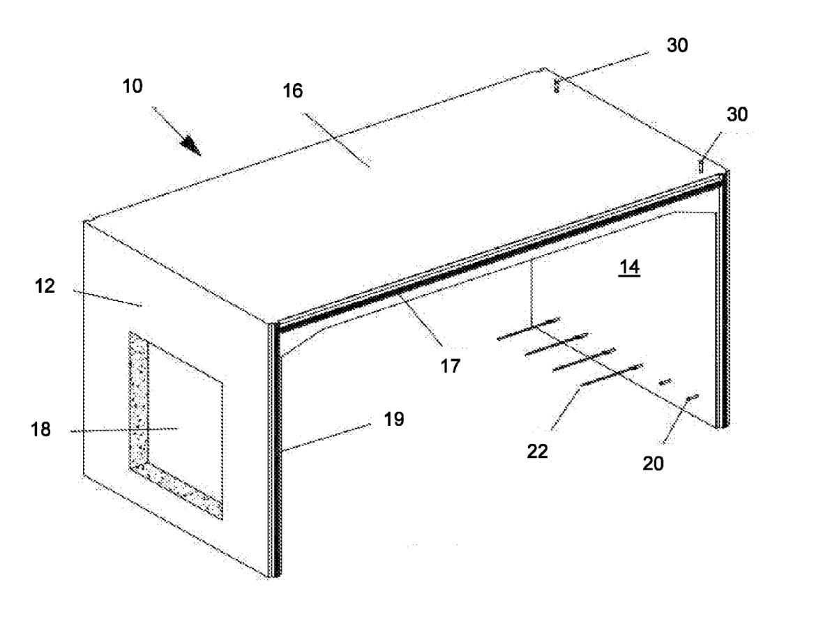
(10) WO2024221035A1(22) 12.04.2024(43) 31.10.2024(57) A prefabricated concrete construction element, the construction element having a first wall portion, a second wall portion, and a ceiling portion;...
(10) CN118322329(22) 30.04.2024(43) 12.07.2024(57) A concrete prefabricated part pouring production line is used for solving the problems that according to a prefabricated part pouring device in the...
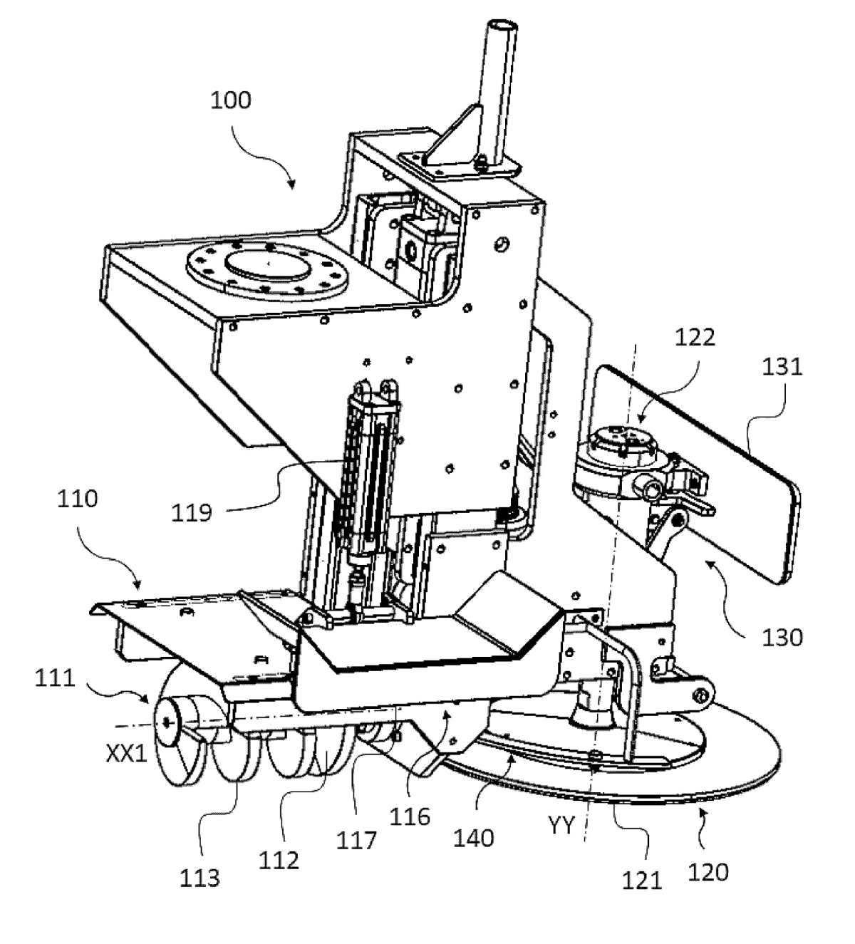
(10) WO2025261735(22) 27.05.2025(43) 26.12.2025(57) The invention relates to a machine (1) for improving the condition of the outer surface (12) of at least one portion (29) of a cast concrete...
(10) WO2025254280A1(22) 27.12.2024(43) 11.12.2025(57) The present invention relates to a concrete structure manufactured by assembling a precast concrete panel comprising a composition capable of...
(10) DE202024104708U1(22) 20.08.2024(43) 31.12.2025(57) Verstärkungsfasern (3), die aus Mineralfasern (4), die eine Beschichtung (5) aufweisen, ausgebildet sind, dadurch gekennzeichnet, dass die...
(10) DE202025003028U1(22) 09.10.2024(43) 04.12.2025(57) Betonpflasterstein mit einer Oberseite und einer Unterseite und mit im Wesentlichen senkrechten Zähnen an jeder Seitenwand, die mit Zähnen eines...
(10) EP4667673(22) 30.04.2025(43) 24.12.2025(57) Ein Fertigteil-Bauteil, bestehend aus zwei zueinander parallelen Beton-Fertigteilplatten (11, 12), die mit Gitterträgern (14) voneinander distanziert...
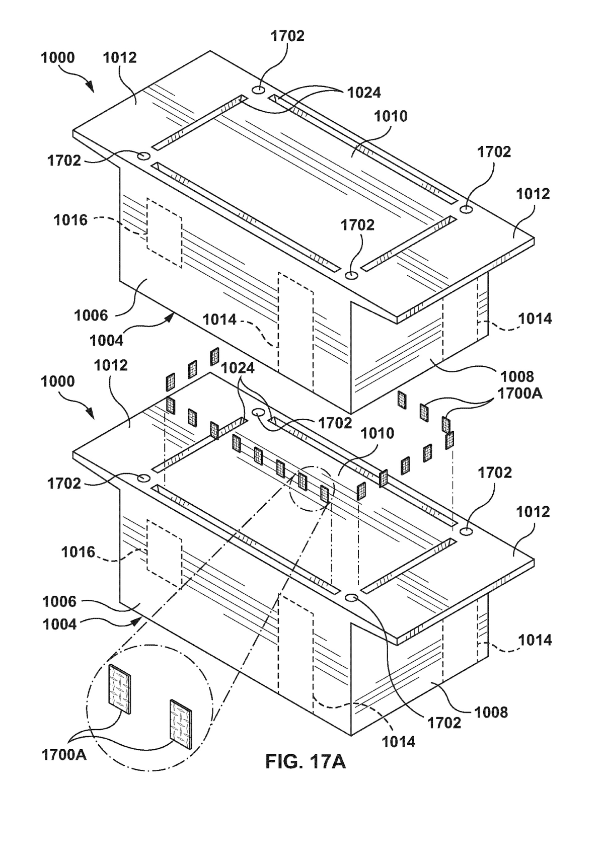
(10) WO2025245636A1(22) 30.05.2025(43) 04.12.2025(57) Modular concrete building blocks can be manufactured using an apparatus comprising an expandable and collapsible inner form, a deconfigurable...
(10) WO2025247920A1(22) 27.05.2024(43) 04.12.2025(57) The invention relates to a concreting system for producing prefabricated concrete parts, comprising a plurality of delivery line portions (31, 32,...
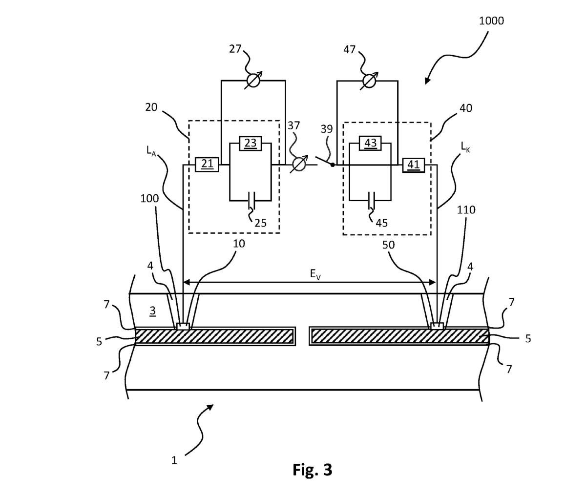
(10) WO2025248006A1(22) 28.05.2025(43) 04.12.2025(57) The present invention relates to a method for assessing the corrosive state of a reinforced-concrete component (1) comprising reinforcing steel...
(10) WO2025249347(22) 26.05.2025(43) 14.12.2025(57) Provided is an autonomous construction system of a precast prestressed concrete structure that enables efficient construction. An autonomous...