Method for pre-fabricating insulated concrete walls for casco´s of prefab houses
(10) WO2024213712A1
(22) 12.04.2024
(43) 17.10.2024
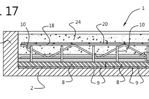
(57) A method for pre-fabricating an insulated concrete wall for a casco of a house comprises the steps preparing a mould having a base and upwardly projecting sides that together delimit an upwardly open moulding space (4), placing façade elements (7) inside the moulding space on top of the base to form a façade layer of the insulated concrete wall, and pouring concrete mixture into the moulding space to form a concrete layer of the insulated concrete wall, wherein the method further comprises an intermediate step of spraying foam insulation material (15) inside the moulding space on top of the façade layer to adhere and connect thereto and form an intermediate foam insulation layer (FIL) of the insulated concrete wall, wherein the concrete mixture is poured on top of the intermediate foam insulation layer to adhere and connect thereto.
(71) Calduran Kalkzandsteen B.V., NL
