As we start the new year, our view inevitably turns to the future. Our industry has high expectations for 2026 – and I, too, hope for a year that will give us new momentum. At the same time, I have...
Remei & BPB GmbH & Co. KG is investing approximately €5 million in its Blomberg site and constructing a new chemical production facility covering approximately 2,500 m² for sustainable and...
Over the past 27 years, IPHA has regularly organised technical seminars as a platform for members to explore new ideas, share expertise, and strengthen collaboration across the global precast hollow...
On December 4, 2025, Finnish concrete element technology innovator Elematic Oyj acquired the precast concrete business of German company Vollert Anlagenbau GmbH as part of its strategy to transform...
The hybrid construction method using wood and concrete is becoming more and more popular in property construction. Current projects show: This method is an effective answer to the shortage of skilled...
Wade Adams Ready Mix Concrete Manufacturing LLC, part of the renowned Wade Adams Group of Companies, has recently commissioned a new state-of-the-art concrete production facility in Jabel Ali, Dubai....
It will be official from mid-August 2025: Kniele Mischtechnik is entering into a strategic partnership with Danish plant manufacturer Simotec. Both medium-sized companies have already successfully...
Sotubema modernized its precast production facility at the Saint Astier site comprehensively by installing a new, low-carbon concrete mixing plant including a high-performance turbine mixer from Teka....
Since 1909 Mattig & Lindner GmbH has developed into one of the largest medium-sized construction companies in the German federal state of Brandenburg. In addition to the production of precast concrete...
Lithonplus is a subsidiary of Heidelberg Materials AG and Schwenk Zement GmbH & Co. KG and is one of the leading concrete product manufacturers in Germany. A team of 600 employees works at 18...
Founded in 1992, Ilmar Mendes e Rodrigues Lda is a Portugal-based company specializing in the development, manufacturing, and commercialization of machines and equipment to produce concrete products....
Manual labor is still the rule rather than the exception in many areas. Terhoeven GmbH & Co. KG has recently found a solution for a typical work example: the monotonous, laborious cutting of...
One of Germany‘s most modern biomass cogeneration plants is being built on part of a 13.5-hectare expansion area belonging to a biotechnology company in the Upper Bavarian district of...
Hesse‘s tallest kindergarten is currently being built in Schmitten-Oberreifenberg (Taunus), right next to the Feldberg. The building is being constructed as an environmentally friendly KfW 40 building...
At the IAB Conference Days hold in Weimar, H+L presented the Klimaver solid wall, a wall system based on expanded glass granulate that meets high demands on thermal insulation, fire protection and...
Lipa-Betoni is making history by becoming the first precast concrete manufacturer in the world to implement Carbonaide technology at its factory in Finland. This innovation enables the permanent...
So as to be able to assure an even water balance in the ground, planners and architects prefer to use ecological paving systems when it comes to the conceptual design of paved areas. They allow a...
The cement industry is going to great lengths to lower the high carbon emissions generated during cement production. One important aim – among many others – is to reduce the proportion of clinker as...
Progress Group based in Brixen, Italy, has achieved a technological breakthrough with its proprietary SPI-3D (Selective Paste Intrusion) concrete printer. Its ability to produce complex shapes with...
A vibration-modulated printing system developed at IAB Weimar utilizes the thixotropic properties of fresh concrete, eliminating the need for adding a setting accelerator. The gravity-based discharge...
DAY 2 March 11, 202609:00PLENARY 2: GUEST COUNTRY BELGIUMModerated by Dr. Ulrich Lotz, FBF Betondienst GmbH The precast concrete market in construction in Belgium Stef Maas, FEBE vzw, Belgian precast...
Under the motto „Building the future together,“ the 31st IAB Days „BETON“ took place in Weimar on November 12 and 13, 2025. The symposium organized by the Institute for Applied Construction Research...
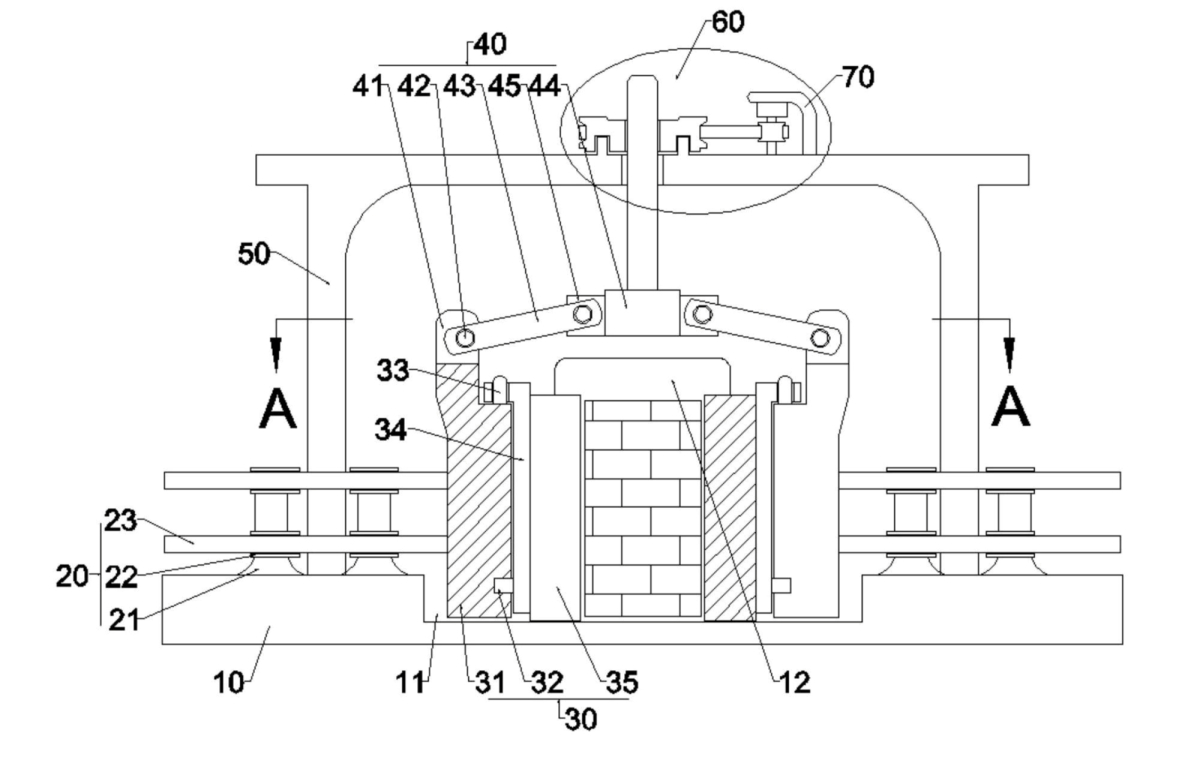
(10) CN119773035(22) 13.03.2025(43) 08.04.2025(57) The invention relates to the technical field of building material production equipment, and one embodiment of the invention provides an ultra-high...
(10) CN119238695(22) 25.10.2024(43) 03.01.2025(57) The invention relates to the technical field of reinforced concrete prefabricated tower column pouring, and particularly discloses a pouring mold for...
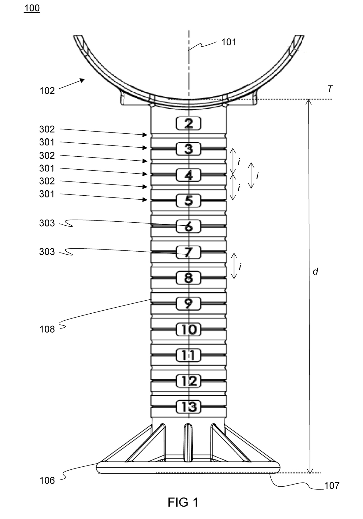
(10) WO2025195026(22) 08.02.2025; (43) 25.09.2025(57) Disclosed in the present invention are a precast concrete column with a built-in recycled component, and a construction method therefor. The...
(10) DE102024109547A1(22) 05.04.2024(43) 09.10.2025(57) Die Erfindung betrifft ein Verfahren zur Herstellung eines schaumglashaltigen Betonbauteils (4). wobei das Verfahren ein Bereitstellen (S100)...
(10) WO2025188189A1(22) 07.03.2025(43) 12.09.2025(57) The invention is in the field of concrete. Specifically, the invention is in the field of providing several fractions, in particular a cement...
(10) WO2025213119A1(22) 04.04.2025(43) 09.10.2025(57) A holder for a rod to be embedded in concrete includes a head portion elevated from a base portion by a support portion; the head portion...
(10) WO2025218091A1(22) 31.08.2024(43) 23.10.2024(57) A preparation method and curing system for solid concrete blocks. The preparation method comprises the following steps: mixing bottom ash, fly...
(10) CN120056239(22) 29.04.2025(43) 30.05.2025(57) The invention relates to the technical field of nut block prefabrication, and discloses a concrete prefabrication nut block production mold which...
(10) KR20250106794(22) 04.01.2024(43) 11.07.2025(57) The module and method include a waterproofing layer including an adhesive resin and inorganic particles, an anchor portion standing upright on the...
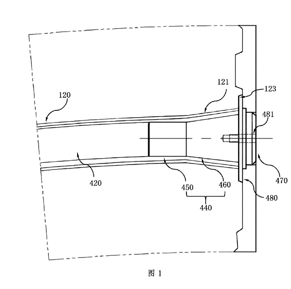
(10) DE102024109121A1(22) 28.03.2024(43) 02.10.2025(57) Die Erfindung betrifft eine Vorrichtung (1) zur Halterung eines Ankers (2) an einem Schalungselement (3), mit:- einer Schafteinrichtung (4),...
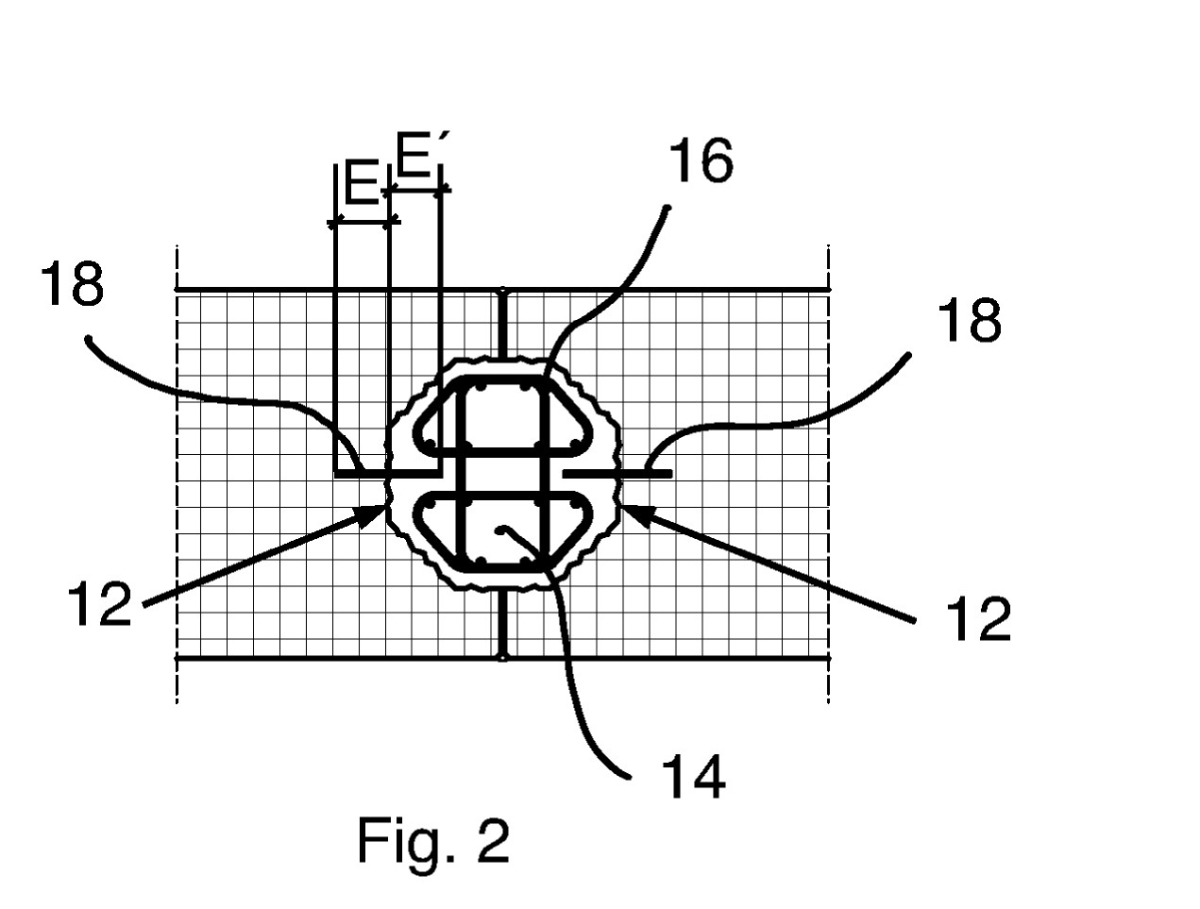
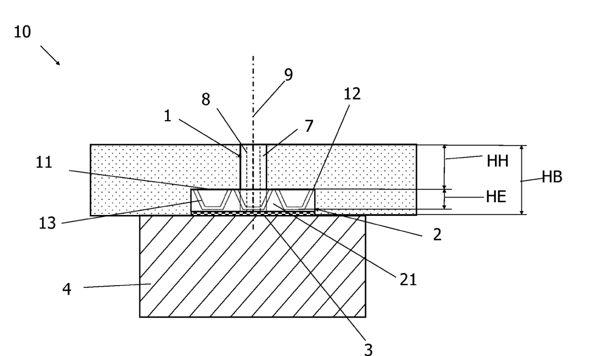
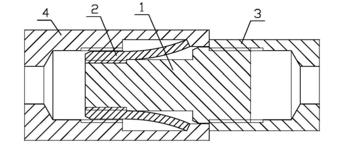
(10) DE102025114629A1(22) 14.04.2025(43) 30.10.2025(57) Ein Betonteil (10) umfasst ein Betonelement (14) mit einer Außenseite, aus der ein Betonfertigteil (16) herausragt. Das Betonfertigteil (16)...
(10) WO2025207411A1(22) 21.03.2025(43) 02.10.2025(57) A composition for producing a glass fiber reinforced cement rebar, the composition comprising glass fiber; and a binder, the binder impregnates...
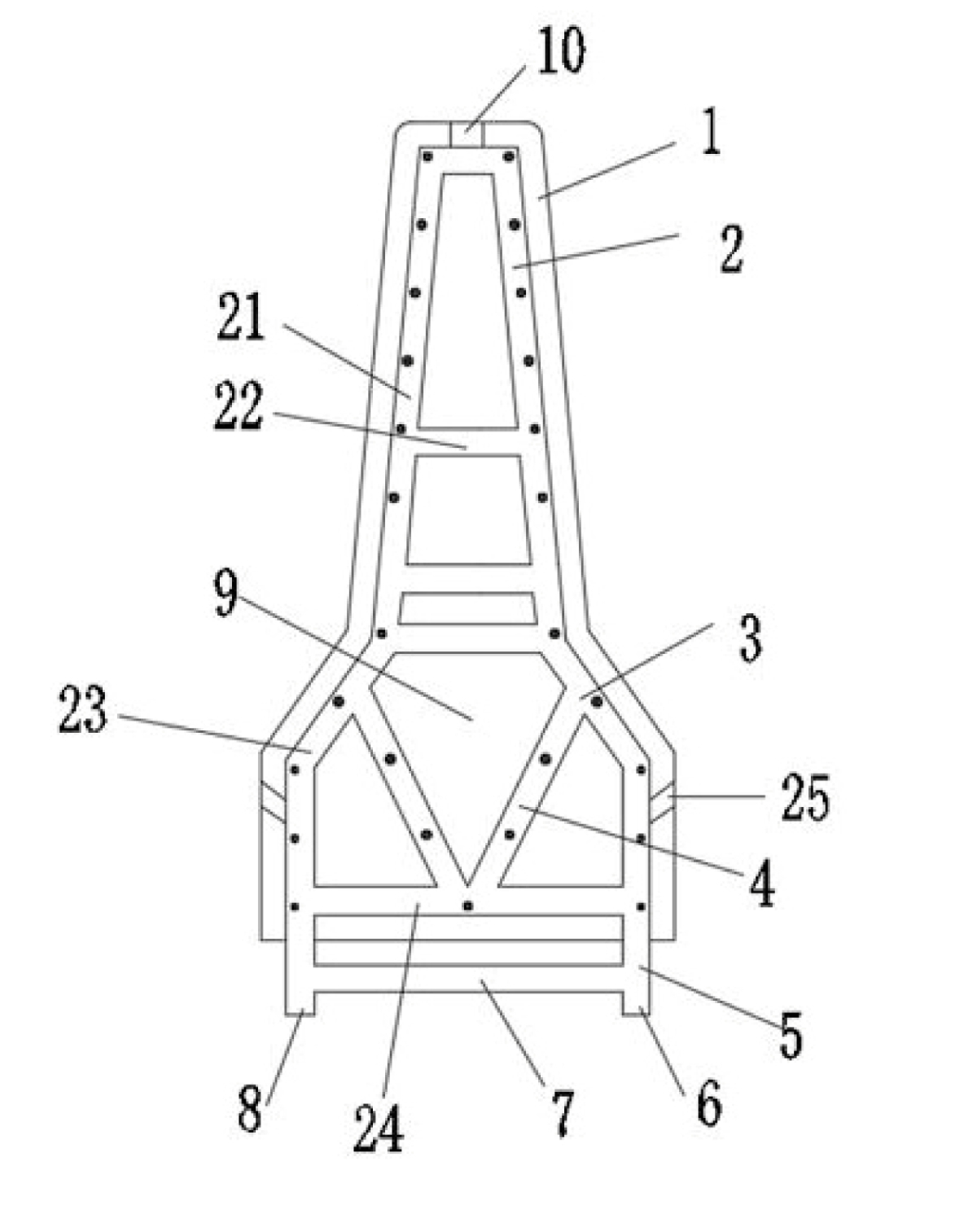
(10) WO2025213884A1(22) 31.12.2024(43) 16.10.2025(57) A fabricated concrete beam-column joint and a construction method. The fabricated concrete beam-column joint comprises an upright column and a...
(10) US2025245398A1(22) 16.01.2025(43) 31.07.2025(57) This invention discloses a method and system for numerically defining a rebar-concrete interface element under both monotonic and cyclic loading,...
(10) KR20250104098(22) 29.12.2023(43) 08.07.2025(57) The permeable roadway concrete block of the present invention comprises a lower layer concrete composition (100) manufactured using an alkaline...
(10) CN116556588(22) 12.06.2023(43) 08.08.2023(57) The invention relates to the technical field of engineering construction, in particular to a split type built-in reinforced concrete prefabricated...
(10) WO2025186592A1(22) 04.03.2024(43) 12.09.2025(57) Abstract: This invention develops the manufacturing method a type of high-strength ultra-lightweight concrete block with water resistance, sound...