Method for Assessing the State of a Reinforced-Concrete-Component Reinforcement, and Device Therefor
(10) WO2025248006A1
(22) 28.05.2025
(43) 04.12.2025
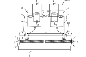
(57) The present invention relates to a method for assessing the corrosive state of a reinforced-concrete component (1) comprising reinforcing steel (5), comprising the steps: providing a first conductor (LA) and establishing an electrical connection between the first conductor (LA) and a first section of the reinforcing steel (5) for the use thereof as an anode (100), and providing a second conductor (LK) and establishing an electrical connection between the second conductor (LK) and a second section, the second section being a section of the reinforcing steel (5) which is spatially separated from the first section, or a section of a steel element present outside the reinforced-concrete component (1), for the use thereof as a cathode (110); establishing a disconnectable electrical connection between the first conductor (LA) and the second conductor (LK) outside the reinforced-concrete component (1); determining the double-layer capacitance (CDL,A, CDL,K) of the anode (100) and of the cathode (110) and/or of the surface (AA, AK) of the anode (100) and of the cathode (110) on which the double-layer capacitance (CDL,A, CDL,K) is based; forming a mathematical relation of the double-layer capacitances (CDL,A, CDL,K) to one another or of the surfaces (AA, AK) to one another; and assessing the formed relation on the basis of exactly one or at least one predetermined criterion.
(71) Neocorrtecs GmbH, 80333 München, DE
