Concreting System for Producing Prefabricated Concrete Parts, and Method for Operating a Concreting System
(10) WO2025247920A1
(22) 27.05.2024
(43) 04.12.2025
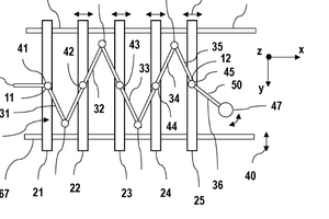
(57) The invention relates to a concreting system for producing prefabricated concrete parts, comprising a plurality of delivery line portions (31, 32, 33, 34, 35) which together form a delivery line (28) extending between a proximal end (11) and a distal end (12). A first delivery line portion (31) is suspended on a first support (21) via a first pivot joint (41), and a second delivery line portion (32) is suspended on a second support (22) via a second pivot joint (42). The first support (21) can be moved relative to the second support (22) in order to change the spacing between the proximal end (11) and the distal end (12) of the delivery line (28). The invention also relates to a method for operating a concreting system, wherein a discharge mechanism (36) is provided between the distal end (12) of the delivery line (28) and an outlet opening (47), said discharge mechanism (36) being designed to change the position of the outlet opening (47) relative to the distal end (12) of the delivery line (28), and the discharge mechanism (36) is designed to move the outlet opening (47) relative to the distal end (12) of the delivery line (28) such that the movement of the outlet opening (47) involves a movement in the transverse direction (40).
(71) Putzmeister Engineering GmbH, 72631 Aichtal, DE
