Concrete prefabricated part pouring production line
(10) CN118322329
(22) 30.04.2024
(43) 12.07.2024
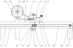
(57) A concrete prefabricated part pouring production line is used for solving the problems that according to a prefabricated part pouring device in the prior art mentioned in the background technology, constructors need to place a mold firstly and then take down the poured mold from the position between baffles, and the filling strength of the constructors is increased by frequently taking the mold; the technical problem that the pouring efficiency of the molds is reduced due to the fact that the molds cannot be poured when the prefabricated part molds are taken and placed in the prior art is solved, and the prefabricated part mold pouring device comprises supporting plates, a first conveying device used for conveying the prefabricated part molds is arranged between the two supporting plates, and a second conveying device used for conveying the molds subjected to filling is arranged between the two supporting plates. A first driving assembly is rotationally arranged on the supporting plate and used for driving the first conveying device, a second driving assembly is arranged on the first driving assembly, a discharging pipe is arranged at a discharging opening of the stirring tank in a communicating mode, and a vibrating rod is arranged on the connecting frame; the supporting frame is provided with a connecting assembly used for controlling discharging of the discharging pipe and controlling the ...
(71) Huzhou Tianyi Prefabricated Components Co., Ltd., CN
