Structural element, layout and wall for architectural construction, especially frame houses
(10) WO2024208742A1
(22) 28.03.2024
(43) 10.10.2024
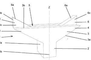
(57) The invention relates to the field of construction and, more specifically, to the structural elements used in the concrete frame technique in the construction of frame houses, without the use of a crane. The object of the invention is a structural element (1) in the form of a column, for architectural construction, especially of frame walls of buildings, which includes: a shaft (2) in the form of a vertical support beam, which shaft (2) has a bottom contact surface (2b) on its lower side; a head (3), which on the top surface of the head (3b) has at least two tongues (6), which on the top have a top contact surface (6a) and are located essentially at the edges (3c) of the head (3), and at least two grooves (5), which on the bottom have a bottom contact surface (5a), which grooves (5) are located essentially at the center of the top surface of the head (3b) and the shape of the individual tongue (6) corresponds to the shape of the individual groove (5). The invention also includes an arrangement for building a wall including structural elements (1). The invention also relates to a wall of buildings constructed using structural elements (1).
(71) Red Point Sp. Z O.O., PL
