Method and system for cutting a channel in a precast, uncured concrete slab
(10) WO2024209439A1
(22) 05.04.2024
(43) 10.10.2024
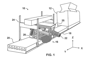
(57) A system (10) and a method for forming a channel (26) in an uncured concrete slab (20) are described. The system (10) includes a first blade (50), a second blade (52), and a third blade (54). The first and second blades (50, 52) are oriented vertically relative to the concrete slab (20) and spaced a predetermined distance (200) apart. The third blade (54) is oriented horizontally and positioned between the first blade (50) and the second blade (52) to form a concrete-receiving interior (55). The system (10) also includes a conveyor (58) having fin(s) (60) extending therefrom to move material through a chute (57). The first (50), second (52), and third (54) blades are configured to cut the channel (26) in the concrete slab (20) and direct excess concrete into the chute (57), where the conveyor (58) moves the excess concrete out of and away from the channel (26).
(71) Concore BV, NL
