Dear readers, designing sustainable solutions for construction is more than ever the challenge of the coming years and decades. However, the focus is not only on ecological aspects – often narrowly...
Prosio Vision GmbH, a company of the Eirich Group, has developed the VC series (Vision Control), a modular system for the automated detection and analysis of material properties in concrete product...
Concrete doesn‘t have to be gray. With Rebacolor 8525 Green, Fabrino brings a fresh look to facades, giving them depth and presence. The result is architecture that shows courage, conveys emotion, and...
Klaus Köhler Beton- und Fertigteilwerk GmbH presents a groundbreaking solution for infrastructure: cable duct covers with non-metallic reinforcement made of glass fibre rods („Tec Bar“). This...
As part of the BetonTage trade fair, the Innovation Award for the Concrete Component Supply Industry will be presented on 10 March 2026. On the following pages, we present the first part of the...
The Green Code tthermal wall with 3D facade takes prefabrication in precast concrete construction to a new technological level. The basis for this is the Selective Paste Intrusion (SPI) process...
The BigFeeder is the innovative solution for fast, clean and efficient loading of conveyor systems with bulk materials. Thanks to its sophisticated design, it replaces costly pits, fault-prone grates...
OCIMA is a digital innovation that fundamentally modernizes the service life assessment of reinforced concrete. For bridges, tunnels, retaining walls, or precast elements, durability determines...
The quality of fresh concrete is crucial for the subsequent properties of the building components. Reliable testing of the required fresh concrete parameters is therefore essential – both on the...
The Coldrock Aggregate Cooling System is the green game changer when it comes to temperature-controlled concrete. The Coldrock system was developed for use as an aggregate cooling system for...
Automated high-pressure cleaning for greater safety and efficiency in the concrete industryWith its Cleanjet systems – in particular the Cleanjet 1500 and the Cleanjet 2-in-1 – Walter Cleaningsystems...
Digital communication, new distribution channels, and the use of artificial intelligence are also fundamentally changing the concrete and construction industry. TalkConcrete | Digital Hub, which will...
In July 2025, the comprehensive modernization of the concrete mixing plant at the Zeithain precast plant was successfully completed. With its new plant, Fuchs is setting standards in terms of...
More than control – true process intelligence: By fully integrating optical quality control into the Masa plant control system, a solution has emerged that not only monitors quality but helps ensure...
Eurobend GmbH offers a comprehensive line of automatic machines for all precast concrete applications: from entry-level welding machines producing simple reinforcement elements to complex equipment...
Finnish supplier Peikko celebrated the opening of its new plant, Peikko Gulf LLC, in the United Arab Emirates in February 2020 and has been on a growth trajectory ever since. BFT editor-in-chief...
Western Canada’s precast industry has gained a new driving force: Matbar Industries, who recently partnered with Progress Group to bring cutting-edge automation into mesh production. With the...
Rising energy costs and the need for sustainable resource utilization are two major challenges the concrete precast industry is facing. This article concentrates on the concrete products sector to...
The 46th edition of Big 5 Global, co-located with nine specialized events, including – among others – Heavy and Totally Concrete, successfully concluded at the Dubai World Trade Centre from 24 – 27...
The Form+Test in-house exhibition is entering its fourth round – and will be presenting an expanded program with leading technology partners from the fields of testing technology, laboratory...
(10) WO2025194778(22) 30.10.2024(43) 25.09.2025(57) The present invention relates to the technical field of the curing of precast concrete components, and in particular to an anti-cracking film...
(10) CN120326773(22) 19.06.2025; (43) 18.07.2025(57) The invention relates to the technical field of concrete prefabricated part preparation, in particular to concrete prefabricated part pouring...
(10) US2025296889A1(22) 05.06.2025; (43) 25.09.2025(57) A method of manufacturing a concrete product includes mixing a composition including a binder, an aggregate, and water to produce a concrete...
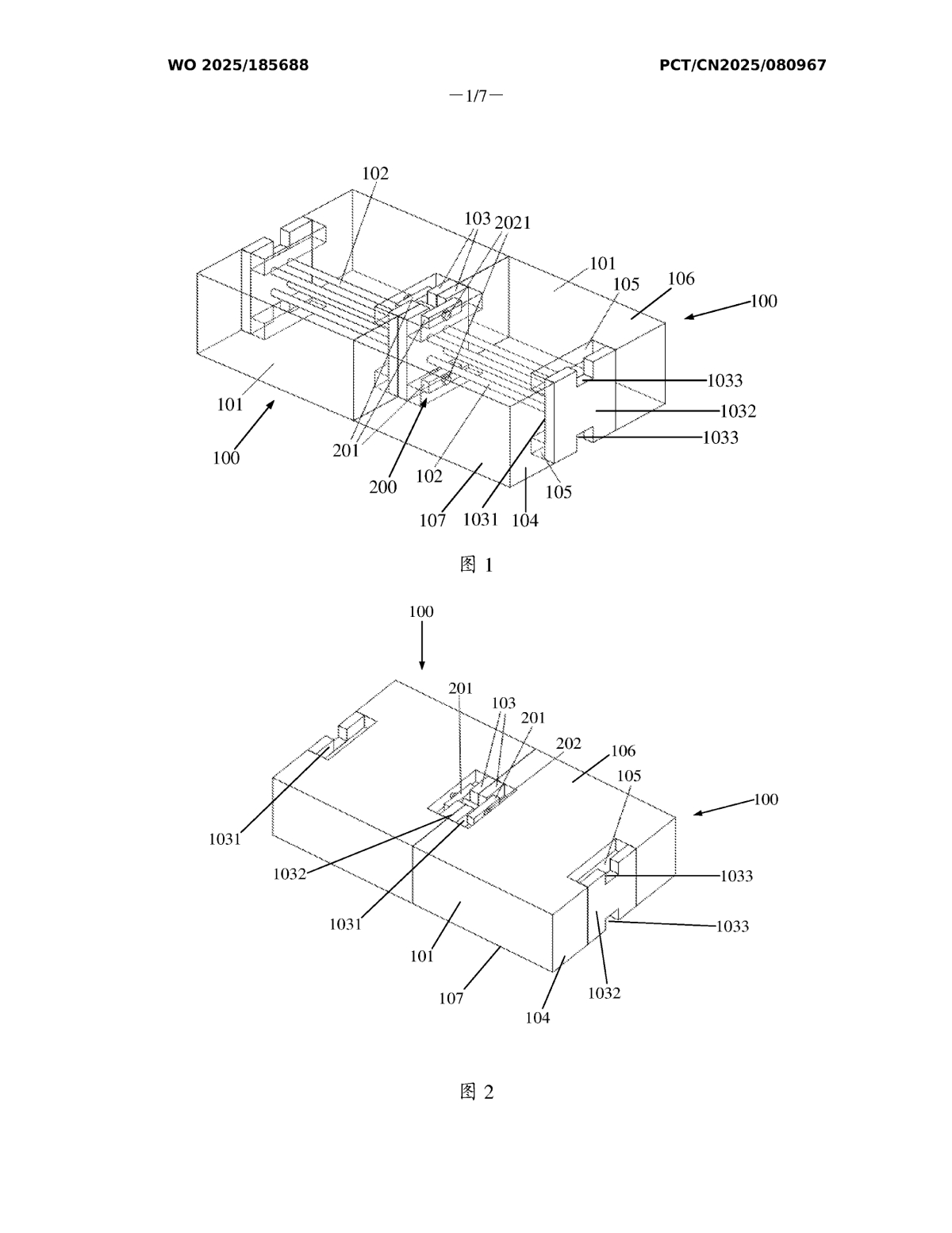
(10) WO2025185688A1(22) 06.03.2025(43) 12.09.2025(57) A reusable precast concrete slab connecting structure and a mounting method therefor, relating to the technical field of prefabricated buildings....
(10) DE102024001573A1(22) 15.05.2024(43) 20.11.2025(57) Verbindung zwischen einer Platte aus Beton (1) und Bauteilen (2), bei dem Bauteile (2) mit dem Beton (1) so verbunden werden, dass am Bauteil...
(10) DE102024112798A1(22) 07.05.2024(43) 13.11.2025(57) Betonformteil (1b), insbesondere Beton-Schlitzrinne bzw. Entwässerungsrinne, wobei das Betonformteil (1b) eine im We-sentlichen längsgerichtete...
(10) DE102025119013A1(22) 16.05.2025(43) 20.11.2025(57) Hohlkörper (1) zur Verwendung als Aussparungskörper bei der Herstellung von Betonbauteilen (10), der eine Bodenfläche (2), vier Wandflächen (4)...
(10) EP4442908A1(22) 16.11.2022(43) 09.10.2024(57) According to the present invention, a first concrete block is installed in a state in which a tubular waterproof membrane and a guide pipe are...
(10) EP4613954A2(22) 01.12.2016(43) 10.09.2025(57) Die Gewindehülse (1) zur Verankerung von Bauelementen in einem Betonbauwerk umfasst an Stegen (9) radial verlaufende Einschnitte (13). An diesen...
(10) EP4624701A2(22) 06.12.2028(43) 01.10.2025(57) A precast, prestressed concrete tank (2) and method (100) that facilitates construction of a primary inner tank (4) within a secondary outer tank...
(10) EP4644628A1(22) 02.05.2025(43) 05.11.2025(57) A compound coupling for cantilevered coupling of a precast concrete slab, in particular a balcony, a parapet, a canopy or a walkway, to a concrete...
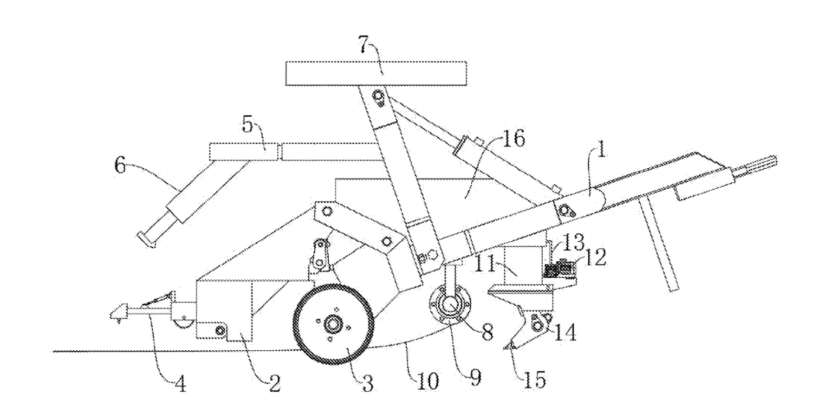
(10) US12479127B1(22) 08.07.2025(43) 25.11.2025(57) A device for forming high-strength and high-toughness concrete product and a method thereof are provided. The device includes a vehicle body; a...
(10) US2024293957A1(22) 03.03.2023(43) 05.04.2024(57) An automated concrete cube processing system. The system comprises a curing stage including a water tank arranged to facilitate curing of a...
(10) US2025361685A1(22) 07.08.2025(43) 27.11.2025(57) Adjustable concrete forms including a landing form and a ramp form. The landing form includes jacks and landing brace members. The jacks are...
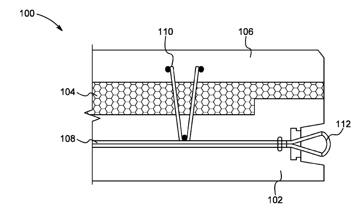
(10) WO2025235134A1(22) 08.04.2025(43) 13.11.2025(57) A precast concrete panel is described. The precast concrete panel includes a first layer forming a rear-side of the precast concrete panel,...
(10) WO2025243000A1(22) 24.05.2024(43) 27.11.2025(57) The present invention relates to a composite concrete product and methods thereof. The product comprises one or more solid concrete (SC) outer...