Improvements in Cantilevered Coupling of a Precast Concrete Slab to a Concrete Building Element
(10) EP4644628A1
(22) 02.05.2025
(43) 05.11.2025
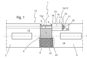
(57) A compound coupling for cantilevered coupling of a precast concrete slab, in particular a balcony, a parapet, a canopy or a walkway, to a concrete building element, in particular a storey floor or wall element. The compound coupling includes a set of cooperating building-sided and slab-sided coupling parts that in use are anchored in and/or supported on facing end portions of the concrete slab and the concrete building element respectively, wherein the compound coupling includes at least one concrete insert piece that is to be cast into an end portion of the concrete slab or concrete building element.
(71) Schöck Bauteile GmbH, 76534 Baden-Baden, DE
