Anti-Cracking Film Covering Device for Precast Concrete Component and Film Covering Method
(10) WO2025194778
(22) 30.10.2024
(43) 25.09.2025
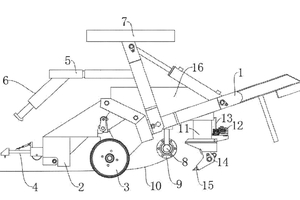
(57) The present invention relates to the technical field of the curing of precast concrete components, and in particular to an anti-cracking film covering device for a precast concrete component, and a film covering method. The anti-cracking film covering device comprises a film covering frame, wherein one side of the film covering frame is fixedly connected to side film covering modules distributed at the front and back; the top of the film covering frame is further fixedly connected to a horizontally arranged balance module; one side of the film covering frame is further fixedly connected to a synchronous movement module; and one side of the synchronous movement module is further fixedly connected to an obliquely arranged pressing module. In the present invention, by means of reserving a certain length of plastic film, a second hydraulic rod driving a friction plate to move downwards, and the bottom of the friction plate coming into contact with the plastic film, the purpose of fixing the plastic film is achieved; pulling the film covering frame realizes the covering of a precast component with a film by a single person; the arranged side film covering modules ensure that a side face of the precast component is pressed, thereby guaranteeing that the side face of the precast component is tightly covered with a film and ensuring the quality of the precast component; and under the action of a water pump, arranged nozzles can uniformly and stably water a surface of the precast component for curing.
(71) China First Highway Engineering Co., Ltd., CN
