Method for Constructing a Concrete Block Structure
(10) EP4442908A1
(22) 16.11.2022
(43) 09.10.2024
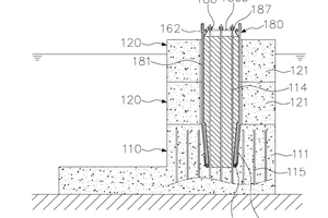
(57) According to the present invention, a first concrete block is installed in a state in which a tubular waterproof membrane and a guide pipe are temporarily coupled to the first concrete block, then a second concrete block is installed, and subsequently concrete is poured into the tubular waterproof membrane and the guide pole is removed to form a concrete column, thereby allowing the concrete column to be connected to a body of the first concrete block by means of a column rebar assembly, such that the lower end of the concrete column is formed very firmly to thus greatly improve the stiffness of the entire concrete block structure. In addition, since the concrete column is formed by means of the concrete poured into the tubular waterproofing membrane, the concrete column can be formed in the same way as that in the land environment.
(71) Yujoo Co., Ltd., 46073 Busan, KR
