Method of Manufacturing Concrete Products
Including Post-Hardening Treatment
(10) US2025296889A1
(22) 05.06.2025; (43) 25.09.2025
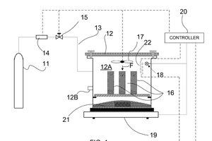
(57) A method of manufacturing a concrete product includes mixing a composition including a binder, an aggregate, and water to produce a concrete mixture, and imparting a form to the concrete mixture to provide a formed intermediate. The formed intermediate is carbon cured to obtain a cured intermediate. A post-hardening treatment to the cured intermediate is done by exposing the cured intermediate to a temperature above an ambient temperature to obtain the concrete product.
(71) Carbicrete Inc., CA
