Method and Arrangement for Forming Precast Concrete Panels
(10) WO2025235134A1
(22) 08.04.2025
(43) 13.11.2025
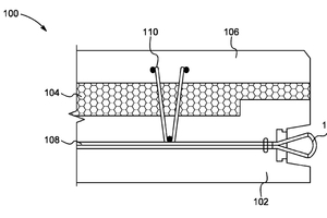
(57) A precast concrete panel is described. The precast concrete panel includes a first layer forming a rear-side of the precast concrete panel, wherein the first layer has concrete with a reinforcement structure, a core having a thermally insulating material, and a second layer forming a front-side of the precast concrete panel, wherein the second layer has fiber reinforced concrete. Further, the first layer, the core, and the second layer are coupled to each other to form the precast concrete panel.
(71) ONX, INC., Georgetown, 78633 Texas, US
