The application phase for the 2026 Innovation Prize of the Supplier Industry for Concrete Components is now open. Sought are innovative products, processes, and services that improve the manufacture...
The new Automation check-up system from Unitechnik Systems GmbH offers a structured service for optimizing automated production systems. The three-step process analyzes malfunctions, implements...
A milestone for modular housing construction: Otto Quast Bau AG in Coswig, located in the German federal state of Saxony, recently commissioned an impressive Teichmann gantry crane with a total...
On August 10, 2025, Bundesliga club Borussia Dortmund bid farewell to Mats Hummels, one of its greatest soccer legends. The game was packed with emotional moments as the “Yellow Wall” cheered the...
Attaching a concrete box with wings directly to the reinforcement? Fixing the flush-mounted box in the hole with foam? Cavity wall boxes that can be combined and therefore directly wired? With all...
The construction industry is facing major challenges: rising costs, labor shortages, and the demand for greater sustainability are fundamentally calling current building methods into question. This is...
Sometimes concrete turns into magic. For the world premiere of „Cagliostro – Johann Strauss in the Circus Tent“ at Vienna‘s Heumarkt, the Kirchdorfer subsidiary MABA Fertigteilindustrie GmbH is using...
At a time of construction boom in the United Arab Emirates, Consent LLC is sending out a clear signal: The new high-tech production plant in Abu Dhabi, developed and built by machinery specialist Masa...
Spurgin stands for innovation, sustainability, and efficiency in precast production. Being the French market leader for prefabricated conventional and low-carbon double walls, the company develops...
Important factors affecting the profitability of investments include not only the construction completion time, but also the appropriate selection of solutions and value engineering. How do modern...
As the pioneer of rebar tying tools, Max is launching the cordless wire mesh cutter WMC80, designed to significantly reduce physical strain on workers. Weighing only 2.8 kg including the battery, its...
As inventor of the hyperbolic roller rotor, Eurobend GmbH sets a new milestone with the new, maintenance-free fifth generation straightening rotor, according to the supplier.The heart of the rotor...
Many precast and tunnelling factories invest in faster production, among others in vacuum tilting. In this article, you‘ll discover how a vacuum tilter reduces handling time, frees up molds faster,...
With Nafuquick eCO2 and Emcefix F eCO2, MC-Bauchemie has launched two sustainable alternative for classic concrete fillers on the market. Both products offer not only significantly lower CO₂...
SuedOstLink is a high-voltage DC transmission line (HVDC) that is planned to transport renewable energy efficiently – in particular, wind power from northern and eastern Germany to the south of...
In fall 2023, a BFT team had already visited the Lintel concrete plant in Porta Westfalica to learn more about the new Hess block machine and Pemat mixers (see BFT 12/2023). Now, Lintel’s managing...
Concrete, due to its strength, resistance, and durability, is a building material that has become indispensable in today‘s world. The extensive portfolio of concrete replacement systems from Sika...
HVAC floor slabs based on semi-precast concrete elements provide an innovative solution for energy-efficient temperature control of modern buildings. By the integration of water-carrying tube systems...
The new cement silo 12 is being built at the Dyckerhoff Göllheim cement plant. The construction project is a key component of the CO2 reduction strategy across the group. With the new silo...
Under the heading “Building the Future Together”, the 31st edition of the IAB Tage “BETON” (IAB Concrete Days) will take place on November 12 and 13, 2025, in Weimar. This renowned industry event...
(10) WO2025093069A2(22) 23.10.2024(43) 08.05.2025(57) A mixture for the recycling of an aerated concrete recyclate comprising 60 to 90 wt. % of a cement component; 4 to 35 wt. % of a lime component,...
(10) WO2025146696A1(22) 24.12.2024; (43) 10.07.2025(57) The present invention discloses an indopod concrete armour block for resisting wave action. The armour block comprises at least one first...
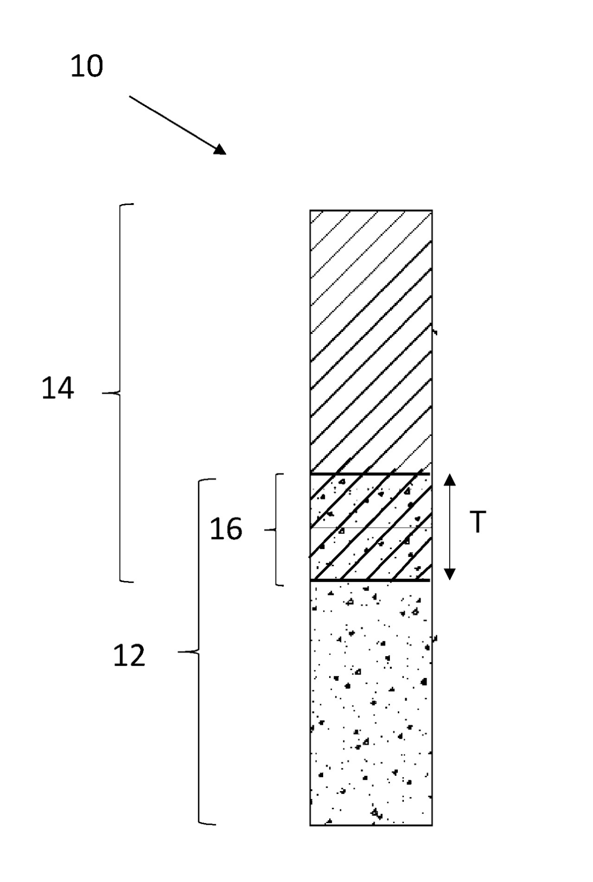
(10) DE102024102835A1(22) 01.02.2024(43) 07.08.2025(57) Die Erfindung betrifft ein Betonelement (10) für ein Versickerungssystem, mit einer ersten Bauteilzone (12) und zumindest einer zweiten...
(10) WO2025153676A1(22) 17.01.2025(43) 24.07.2025(57) Ein Verbindungselement (1) für einen Holzbetonverbund weist ein eine Auflageebene (3) bildendes Auflageelement (2), sowie ein Schraubkanalrohr...
(10) US2025230614A1(22) 01.03.2023(43) 17.07.2025(57) The invention relates to a concrete block in the form of a planar element that can be laid in combination in order to create a paving. The...
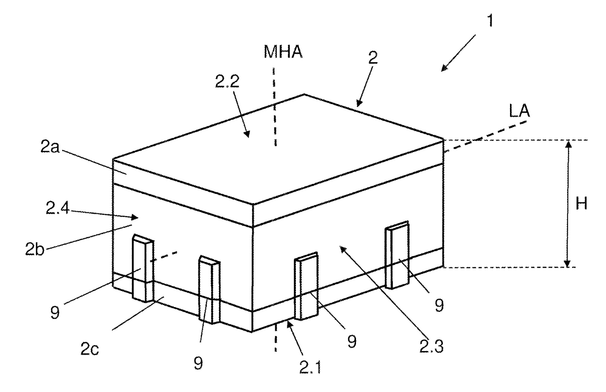
(10) US2025222624A1(22) 08.01.2025(43) 10.07.2025(57) A thermal break provides a break in thermal conduction between adjacent slabs of concrete. The thermal break can include a form body with a hollow...
(10) US2025243658A1(22) 24.01.2025(43) 31.07.2025(57) Methods of forming connections between concrete articles and articles and constructions formed therefrom.(71) University of South Florida, US
(10) CN119952812(22) 07.04.2025(43) 09.05.2025(57) The invention relates to an aerated concrete block pouring device, and belongs to the technical field of aerated concrete block processing equipment....
(10) CN120042281(22) 27.04.2025(43) 27.05.2025(57) The invention discloses a prefabricated reinforced concrete column beam-column connecting structure, and particularly relates to the field of...