Many of you already know me, but I would still like to use my first editorial to briefly introduce myself: My name is Kristin Hanneforth, I am currently completing an editorial traineeship and am now...
Still more freedom for the classic Arena: the organically shaped design blocks have enjoyed great popularity for years. With their natural look and widened, irregular joints, they have a high...
Plan more in less time – that‘s what the new developments in Allplan Precast 2026 are all about. Users can look forward to significantly faster precast design: shorter loading times, even for complex...
In the district of Garmisch-Partenkirchen, a dam was created for a federal highway through a natural depression. The project was already presented in our 2025 yearbook. The new volume „Beton Bauteile...
Creagh Concrete, one of the major British manufacturers of concrete goods, started with the production of concrete blocks in 1974 and has developed into a leading manufacturer of precast concrete...
Gulf Precast is revolutionizing the construction industry in the UAE with cutting-edge automation and advanced technology. Through its partnership with Progress Group, the company has enhanced...
The MODS24 mobile dosing system has established itself in practice as a real advantage package in paint and additive processing. Developed for the direct dosing of liquid paint and additives into the...
Wooden production boards are often criticized in concrete block production: too sensitive, too short-lived, too maintenance-intensive. Peri addresses these preconceptions with a fact check – and shows...
With a customized battery formwork from Ratec, Glass GmbH Bauunternehmung in Mindelheim has renewed its production capabilities. The Glass Group, headquartered in Mindelheim, is one of the most...
BFT International deputy editor-in-chief, Karla Knitter, visited Breuer Stahlhandel in Goch, North Rhine-Westphalia, to experience the newly installed EVG machine in operation. This automatic PBX...
Schöck Bauteile GmbH presents an innovative solution for the thermal separation of concrete building components, namely the new generation of the load-bearing thermal insulation elements – Isokorb...
The product line of Eurobend GmbH includes sustainable solutions and a wide range of automatic mesh welding and reinforcing steel processing machines for the greatest majority of precast concrete...
(10) DE102024105902A1(22) 29.02.2024(43) 04.09.2025(57) Die vorliegende Erfindung betrifft einen Formkern 4 zum Einsatz an einer Formvorrichtung 100 zur Herstellung von hohlen bzw. insbesondere...
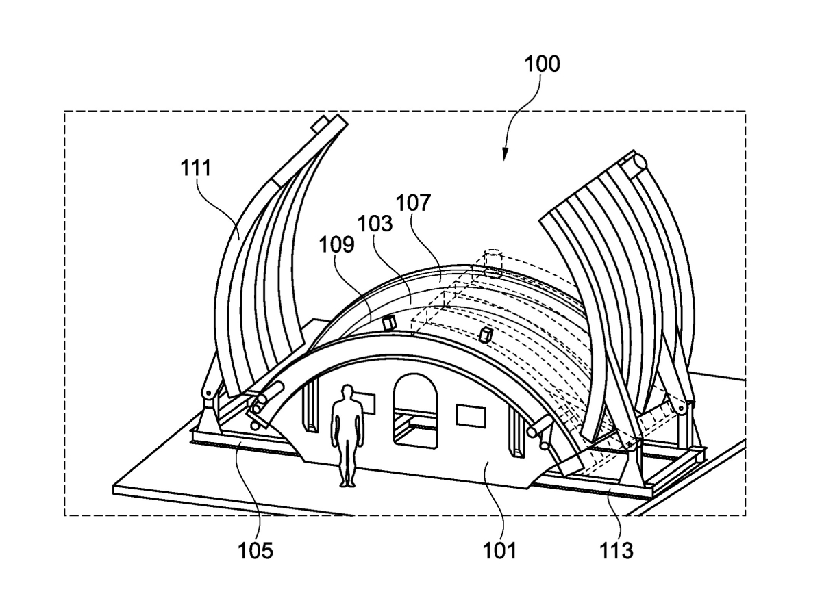
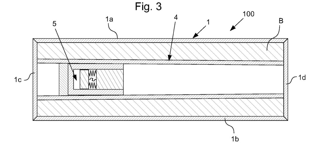
(10) DE102024106077A1(22) 01.03.2024(43) 04.09.2025(57) Bei einem Schalungsbausatz (1) zur Ausbildung einer Herstellungsschalung für eine Anzahl als Teilstücke (100) bezeichnete Betonbauteile,...
(10) DE102024108437A1(22) 25.03.2024(43) 25.09.2025(57) Offenbart wird eine Erfindung die zwecks Aufbereitung von Rohstoffen und/oder zwecks Herstellung von Beton/Betonprodukten (u.a....
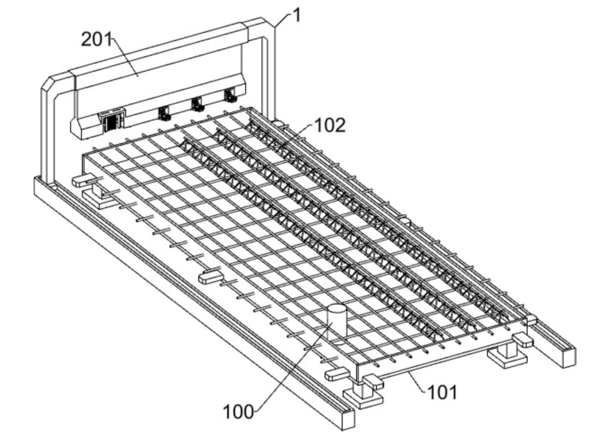
(10) DE102024130857A1(22) 23.10.2024(43) 04.09.2025(57) Die vorgestellte Erfindung betrifft ein System (100) zur Herstellung von Betonteilen, wobei das System (100) eine Schalung (101) umfasst, wobei...
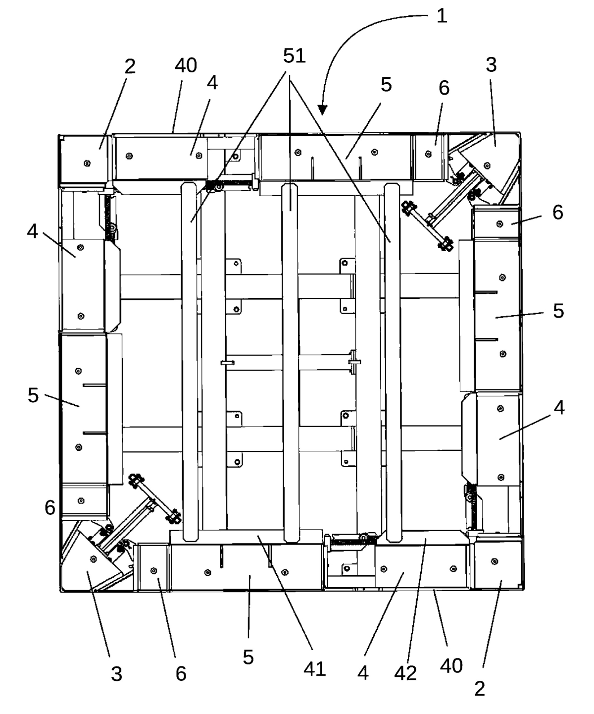
(10) DE202025103894U1(22) 08.07.2025(43) 09.08.2025(57) Schalungsträgerelement (4) zur Herstellung eines Schalungselements (4, 40) für das Gießen von Betonfertigteilen, mit einer Plattenaufnahme für...
(10) EP3239435A1(22) 02.03.2017(43) 01.11.2017(57) Mantelstein für Schornsteine, umfassend eine Betonmischung, wobei die Betonmischung eine Rohdichte von kleiner als 1300 kg/m3 aufweist, und wobei der...
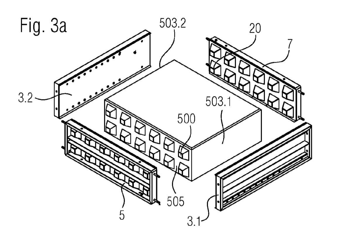
(10) EP3885091A1(22) 15.03.2021(43) 29.09.2021(57) Schalung (1) zur Herstellung von Betonfertigelementen mit Überständen, insbesondere Noppen oder Pyramiden umfassend zwei Seitenteile (3.1, 3.2) mit...
(10) EP4613954A2(22) 01.12.2016(43) 10.09.2025(57) Die Gewindehülse (1) zur Verankerung von Bauelementen in einem Betonbauwerk umfasst an Stegen (9) radial verlaufende Einschnitte (13). An diesen...
(10) CN116945356(22) 05.08.2023(43) 27.10.2023(57) The invention relates to the technical field of prefabricated part manufacturing, in particular to a concrete prefabricated part manufacturing device...
(10) CN119795328(22) 17.02.2025(43) 11.04.2025(57) The invention relates to the technical field of building construction, in particular to an assembly type concrete prefabricated part forming device....