Formwork for Producing Finished Concrete Parts
(10) EP3885091A1
(22) 15.03.2021
(43) 29.09.2021
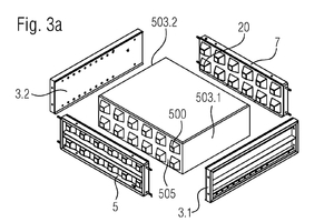
(57) Schalung (1) zur Herstellung von Betonfertigelementen mit Überständen, insbesondere Noppen oder Pyramiden umfassend zwei Seitenteile (3.1, 3.2) mit einer Höhe H und ein Ober- (5) und ein Unterteil (7) mit einer Länge L und einer Breite B, dadurch gekennzeichnet, dass das Ober- (5) und/oder das Unterteil (7) Einbuchtungen (30) oder Ausbuchtungen (20), die im Wesentlichen kongruent zur Form der Überstände, insbesondere Noppen oder Pyramiden, sind, umfassen und wenigstens das Oberteil (5) und/oder das Unterteil (7) verschiebbar entlang der Höhe H des Seitenteils ausgebildet ist.
(71) Röttinger, Jochen, DE
