Mold core for a mold for producing hollow concrete bodies and mold device having such a mold core
(10) DE102024105902A1
(22) 29.02.2024
(43) 04.09.2025
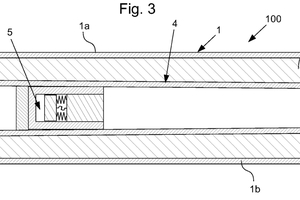
(57) Die vorliegende Erfindung betrifft einen Formkern 4 zum Einsatz an einer Formvorrichtung 100 zur Herstellung von hohlen bzw. insbesondere rohrförmigen Betonkörpern B sowie eine einen derartigen Formkern 4 umfassende Formvorrichtung 3. Der Formkern 4 umfasst eine Hammerschlageinrichtung 5, die dazu eingerichtet ist, einen in Längsrichtung des Formkerns 4 wirkenden Kraftstoß zu erzeugen.
(71) Schlüsselbauer, Ulrich, AT
