Formwork kit for the production of precast concrete elements, and production method
(10) DE102024106077A1
(22) 01.03.2024
(43) 04.09.2025
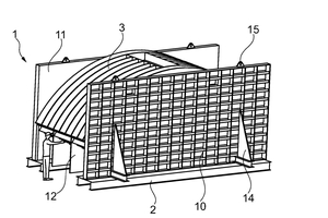
(57) Bei einem Schalungsbausatz (1) zur Ausbildung einer Herstellungsschalung für eine Anzahl als Teilstücke (100) bezeichnete Betonbauteile, insbesondere Betonbauteile zur Erstellung eines Turmbauwerks, wobei die Anzahl Teilstücke (100) jeweils einen ringabschnittförmigen Grundkörper aufweist, umfassend:
• eine Anzahl Außenteile (3) mit jeweils einer gekrümmten Außenschalung (7), welche dazu ausgestaltet ist, die radiale Außenoberfläche eines Teilstücks (100) zu begrenzen, und
• eine Anzahl Innenteile (4) mit jeweils einer gekrümmten Innenschalung (8), welche dazu ausgestaltet ist, die radiale Innenoberfläche eines Teilstücks (100) zu begrenzen, wird vorgeschlagen, dass der Schalungsbausatz (1) weiterhin umfasst:
• eine Anzahl Zwischenteile (5) mit einer gekrümmten Außenschalung (7) und / oder mit einer gekrümmten Innenschalung (8), wobei der Krümmungsradius der Außenschalung (7) der Anzahl Zwischenteile (5) größer ist als der Krümmungsradius der Innenschalung (8) der Anzahl Innenteile (4), und / oder wobei der Krümmungsradius der Innenschalung (8) der Anzahl Zwischenteile (5) kleiner ist als der Krümmungsradius der Außenschalung (7) der Anzahl Außenteile (3). Weiterhin wird ein Herstellungsverfahren vorgeschlagen.
(71) Peter Herbers GmbH, DE
