It’s always a pleasure, dear readers of BFT International, to be able to spread – together with Bauverlag, our industry partner of many years – new optimism for building with concrete elements. The...
MC-Bauchemie‘s Intaktin system comprises ready-to-use, solvent-free and easy-to-spray oils for mixer protection. MC-Bauchemie‘s mixer protection system has now been expanded to include Intaktin Bio,...
Battery molds, among others, provide solid walls which feature smooth surfaces as far as the main exposed sides are concerned, however their output is often limited owing to the closed design. The...
Area and space became increasingly important during the last years. For both new buildings and refurbishment properties applies: Each square meter matters and pays off. The focus lies on the building...
The Bolda column shoe is a new generation of bolted connections for precast columns made by Peikko with a high load capacity. It is more lightweight, more efficient and more compact than predecessor...
The VHV FlatFeeder offers numerous advantages, according to the manufacturer, as an alternative to underground hoppers or complex unloading units based on chain conveyors. The unloading unit can be...
Plug in, turn, ready to go. The optimized Bole Type F punching shear reinforcement with its practical click system was developed by Schöck especially for precasters and enables even easier...
With its Tribus system, the company Ehl AG, according to its own statement, brings to the market the first concrete block throughout Europe with plug-in system for individual landscaping. The...
In the opinion of leading industrial associations, CEM II/C cements, owing to their low content of burnt clinker, are a crucial approach toward lowering CO2 emissions in building with cement and...
The possibility to get information on the processing status of all orders independent of place and time, an early-warning system for potential supply bottlenecks, preventing the own company from...
Philipp considers itself successful with its permanent fixing system (PB system), which has been on the market since mid-2021, developed for solutions that enable long-lasting fastening of elements...
Peikko‘s declared goal is to make construction in all its forms faster, more efficient and safer. This goal is achieved not only through the manufacture of appropriate products, but also through the...
The product is an innovative composite material which manufacturing process combines glass-fiber concrete production processes. For the front, different aggregates are incorporated into the concrete...
The quality of the outer concrete surface is crucial for the durability of concrete components, especially when reinforcement is applied. Environmental influences may cause severe damage due to...
The potential consequences of an unfavorable combination of inappropriate mix designs in combination with faulty construction may lead to serious problems. At the new construction of the Wusterwitz...
The future of the transport of goods is, according to a variety of companies and experts, electric and autonomous. Driverless transportation systems become an essential part of intralogistics. In this...
With Minpur P-IP 20 and Minpur P-IP Perl, Synfola presents a concrete impregnation system that can be used to finish surfaces while still in the fresh state – without causing any undesirable staining....
According to the manufacturer, it is the world‘s first 3D concrete printing head for the selective paste intrusion method. Liquid Portland cement is injected through binder jet nozzles and the newly...
Synfola has launched the Minpur mineral industrial concrete coating (IBB) for outdoor use. Following tests performed on outdoor objects, including extreme stress tests, the innovative IBB coating was...
Fractures, cracks and spallings within concrete components affect the security of construction projects and must be minimized. Therefore, manufacturers are controlling the components’ quality at...
With its Solidian Form carbon reinforcement, the company Solidian aims to set new standards in architecture. The product offers added value in precast construction – from simple angle reinforcements...
The CBS technology is based on and made up of two construction material components:a slender lightweight structural steel framework consisting of 1 mm to 2 mm thick cold-formed galvanized sheet...
Master Builders Solutions invented two new product lines, after investing in research and development. Their new portfolio of inorganic foams, which includes NFF 1000 IN and 2000 IN, is aiming for...
The precast production is confronted with two main challenges: There is, on the one hand, an increase in the complexity of the needed precast concrete products. On the other hand, however, there is a...
The Wasa Construct division is gaining in importance within the Wasa group. Only small formats were manufactured in the first years of polyurethane mold production, but now the share of large molds...
Marcantonini values ecology as well as the responsible use of resources. Among the key points, on which the company was founded, is sustainability. Within the factories and during the production...
By the extension of Berlin‘s U5 underground line, the „Unter den Linden“ and „Rotes Rathaus“ underground stations were completed as well. Concrete and precast concrete elements act as innovative and...
Gutters are components whose construction requires both designers and contractors to possess the necessary expertise and many years of experience. This article is the first of a series of two...
Modern concrete spreaders increase plant productivity in precast concrete plants through precise and fast travel paths and optimized concrete discharge. Simultaneously, they are an essential quality...
There are enormous opportunities in the construction industry in India. In recent years, the southern cities in India have become the focal point for future real estate developments because of their...
Established in 1972, Danish family-owned business Gandrup Element A/S currently employs 121 people at its premises situated in the town of Gandrup. The company switched to in-house production of...
A large residential and commercial building, completed a few months ago, now stands on the Aesculap-Platz in Tuttlingen, Germany. For the floors and walls, the builder had chosen precast elements from...
“Planbar 2022 is a BIM-CAD-program built for the future. We appreciate, for example, the PythonPart menu very much because we can now create structural precast elements like columns, beams or stairs...
Eurobend GmbH offers a comprehensive line of automatic machines covering every precast application: From the entry level welding lines producing simple reinforcing elements to complete lines producing...
(10) DE 10 2020 126 213 B3(22) 07.10.2020(45) 30.12.2021(57) Die Erfindung betrifft einen Ankergreifer (1) zum Entfernen eines zwischen Schalungselementen (5) einer Betonwandschalung (15) angeordneten...
(10) EP 3 919 706 A1(22) 10.06.2020(43) 08.12.2021 Bulletin 2021/49(57) This invention relates to an anti-seismic wall with construction elements such as profiled bricks and beton steel reinforcements...
(10) US 2021/0380483 Al (22) 20.04.2021(43) 09.12.2021(57) A method for making a carbonated precast con-crete product includes: obtaining a mixture including at least one binder material, an...
(10) US 2021/0381220 Al(22) 23.04.2021(43) 09.12.2021(57) Various implementations include methods and apparatuses for constructing a concrete structure. In one implementation, a structure includes a...
(10) US 2021/0381236 Al(22) 07.06.2021(43) 09.12.2021(57) A precast concrete wall panel and system comprising prestressed concrete layers surrounding an insulation layer, the concrete layers...
(10) DE 10 2021 003 050 A1(22) 02.06.2021(43) 23.12.2021(57)Die Erfindung betrifft eine Vorrichtung zur Aufnahme von Bohrmehl bei Probebohrungen zur Bewertung von Betonbauwerken, wobei die Vorrichtung...
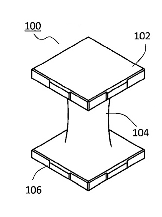
(10) DE 10 2021 116 461 A1(22) 25.06.2021(43) 30.12.2021(57) Die Erfindung betrifft ein Bauelement zur Verlegung von Erdreichabdeckungen, insbesondere Pflasterplatte, Pflasterstein oder dergleichen,...
(10) DE 20 2021 003 154 U1 (22) 09.10.2021(45) 02.12.2021(57) Das Positionierungs- und Stabilisierungselement zur Lage- und Positionssicherung von ein- und mehrlagigen textilen Bewehrungslagen in...
(10) DE 10 2020 112 589 A1(22) 08.05.2020(43) 11.11.2021(57) Es wird eine Schalungsvorrichtung zur Herstellung von Betonstützen insbesondere zur Herstellung von Teile einer Mauer bildenden vertikalen...
(10) DE 10 2020 113 406 A1(22) 18.05.2020(43) 18.11.2021(57) Die Erfindung betrifft ein Raumodul, aufweisend eine einstückige, wannenförmige Bodenplatte und einen einstückigen Raumkorpus mit einer...
(10) DE 10 2020 113 637 A1 (22) 20.05.2020(43) 25.11.2021(57) Zusammenfassung: Verfahren zur liegenden Herstellung eines tragenden, vertikalen Betonfertigteils (5) mit den folgenden Schritten:a) ...
(10) DE 10 2021 111 854 A1(22) 06.05.2021(43) 11.11.2021(57) Ein Wasserabflussbremssystem, das den Wasserfluss in einem Kanal, Bach oder Fluss verlangsamt, wobei das System mindestens ein Betonelement...
(10) DE 20 2018 006 645 U1 (22) 02.02.2018(45) 18.11.2021(57) Entwässerungsblock zur Verwendung als Pflasterung oder als Unterbau an Deichen oder in städtischen Räumen, umfassend:eine Platte; eine...
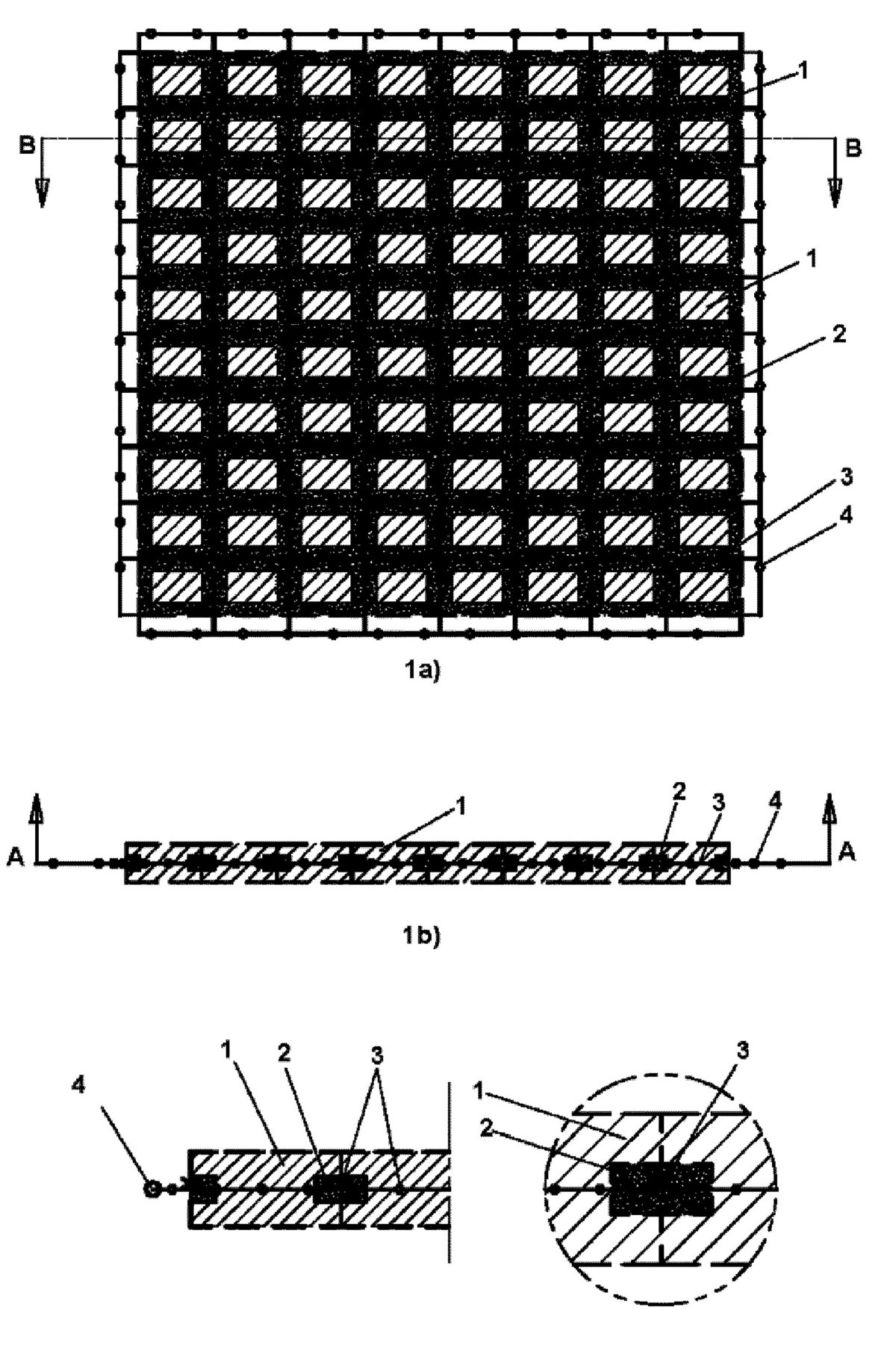
(10) DE 20 2021 105 285 U1 (22) 30.09.2021(45) 18.11.2021(57) Betonstein-Herstellvorrichtung (10) zur Verteilung von rieselfähigem Material (40), insbesondere Granulat (42), zur Ausbildung einer...