for manufacturers of concrete elements, suppliers, innovation providers as well as for researchers and industry sector partners alike, the 24th BIBM Congress from 27 to 29 September 2023 in Amsterdam...
JKH Drainage was established 53 years ago and the founder’s grandson, MD Daniel Prince, is now in charge at a new 6 acre site in Suffolk which will give the company the capacity to grow and take on...
There is lots of excitement at MCT Italy: only a few weeks ago the supplier opened a new section of its manufacturing factory which allows to speed up production times, execute total control over...
At the Ulmer BetonTage (20 to 22 June 2023), Dyckerhoff introduced its newly developed CO2-reduced Dyckerhoff Weiss Blue Star. The pozzolanic cement with the standard designation CEM IV/A (P) 42,5 R...
A2C Préfa has decided to modernize its production plant for achieving its goals in terms of sustainability. In this regard, a lot of planning was put into waste recycling, a reduction in pollutant...
The mesh welding machine developed by mbk Maschinenbau GmbH is a cutting-edge solution for producing precast slabs with in-situ topping, double and solid walls. This machine incorporates technical...
The machinery and plant manufacturer Keller, with its headquarters in Ibbenbüren in North Rhine-Westphalia, is one of the most important companies of the region. For many years, Keller has been...
Obersulm, a municipality in the administrative district of Heilbronn in the German state of Baden-Württemberg, was formed during the 1970s by the merger of six smaller communities. Obersulm belongs to...
In early March 2023, Feiter’s new concrete block production line was commissioned at the new premises located in Xanten in the German Lower Rhine region to manufacture concrete products such as paving...
Fujairah Concrete Products (FCP) – a group company of Fujairah Building Industries situated in Fujairah, UAE – has been a leading producer of high-quality pavers since 1978. Since its establishment...
In garden design, contemporary building architecture permits a variety of styles. Southern elegance, in addition to classical straight lines, now as before finds many friends among garden owners. With...
Premium patio slabs of modern design, easy to install and very easy to maintain – GeoCeramica from FCN are impressive in every respect. The perfect combination of ceramic and concrete makes every...
As one of Europe’s leading mold manufacturers, Construx conceived over the years a full range of state-of-the-art 3D molds and continues to set new worldwide standards for 3D molds. Recently, Construx...
Welcome to the BIBM Congress 2023! The BIBM Congress 2023, scheduled in Amsterdam from 27 to 29 September, is approaching with great strides. This is the 7th BIBM Congress I am attending and that I...
Construction’s future in the context of a green and digital society (Philip Crampton)The transition of our societies and economies to climate-neutral and digital societies is one of the biggest...
Quality and performance of PVA fibres for durable constructions (Tomoka Yoshida)One of the trends in construction is the use of alternative materials to reduce the amount of concrete and cement used....
(10) CN114922317(22) 31.05.2022(43) 19.08.2022(57) The invention discloses a fabricated house adopting autoclaved aerated concrete plates, and relates to the field of fabricated houses, the fabricated...
(10) CN115091603(22) 27.07.2022; (43) 23.09.2022(57) The invention relates to the technical field of concrete manufacturing equipment, and provides a production line for preparing concrete blocks, the...
(10) DE102021006243A1(22) 17.12.2021; (43) 22.06.2023(57) Die Erfindung betrifft ein Betonpflastersteinsystem aus Quadersteinen mit oder ohne Abstandhaltern, Verbundzähnen oder Abstandsblöcken an den...
(10) DE102021133597A1(22) 17.12.2021(43) 22.06.2023(57) Die Erfindung betrifft ein Verfahren zur automatisierten Herstellung eines dünnwandigen Betonbauteils (114) mit einem Spritzbetonverfahren,...
(10) DE202023100028U1(22) 04.01.2023(43) 01.06.2023(57) Bauteil in Form eines Bauwerkes oder eines Bauwerksteiles oder einer Bauwerkskomponente aus einem Werkstoffverbund, aufweisend eine Tragstruktur...
(10) DE202023101207U1(22) 13.03.2023(43) 22.06.2023(57) Dübel mit einer Dübelachse (A) zum Eingießen in ein Betonfertigteil, der dafür vorgesehen ist, eine Befestigungsschraube mit einem Schraubenkopf...
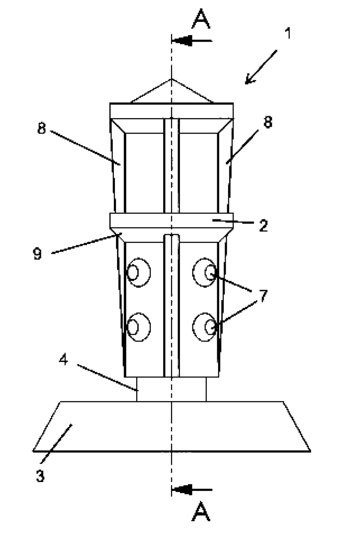
(10) DE202023102175U1(22) 24.04.2023(43) 07.06.2023(57) Betonstein (1) mit einem im Wesentlichen L-förmigen Querschnitt, insbesondere zur Erstellung eines begrenzenden Steinverbundes, umfassend...
(10) EP4202145A1(22) 21.12.2022; (43) 28.06.2023(57) Die Erfindung betrifft ein Verfahren zum Erstellen einer Bewehrung eines Betonfertigbauteils in einer Fertigungsumgebung, bei dem eine Vorrichtung...
(10) LU503116(22) 29.11.2022(43) 05.06.2023(57) The present invention is applicable for construction engineering technical fields, and provides a prefabricated concrete shear wall with formwork meshes...