Search

Your search for "" found 8661 Hits

Environmental Data as a Competitive Advantage: Emidat Hosts the Climate-Native Summit 2026

Emidat, the Munich-based platform for climate-native product management, is hosting the Climate-Native Summit 2026 at the Memox Skyline Tower in Munich. The summit brings together building materials...

more
Issue 05/2026 EVEROX

CO₂ reduction through upcycling of waste concrete

Everox is bringing an industrially scalable upcycling process to market that enables waste concrete to be fully converted into high-quality substitutes for cement and aggregates. By reactivating...

more
Issue 05/2026 Progress

Digitalization and Automation in Precast Concrete Production at DS Elcobyg

DS Elcobyg, a key player in the precast concrete industry in Scandinavia, has taken a significant step in modernizing its operations by implementing the Erpbos software solution. The previous system...

more
Issue 05/2026

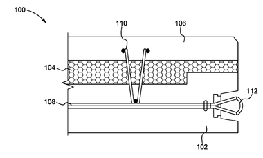
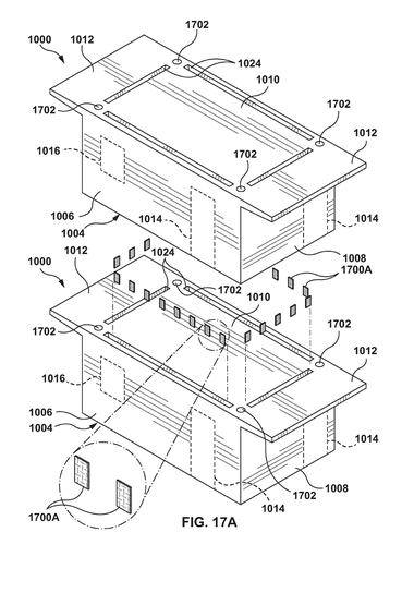
Forming device and method for producing prefabricated concrete stairs

(10) CN117067368(22) 07.10.2023(43) 17.11.2023(57) The invention belongs to the technical field of concrete stair production, and particularly relates to a forming device and method for producing a...

more
Issue 05/2026

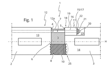
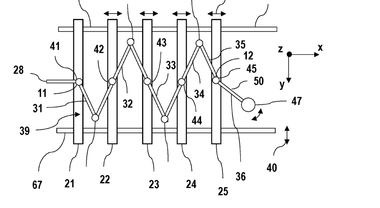
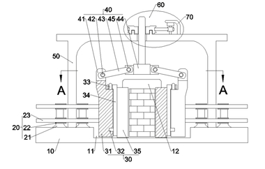
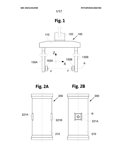
Handling Device for Lifting and/or Pivoting Concrete Elements and Concrete Elements for Use in Connection with Such a Handling Device

(10) WO2025261990(22) 16.06.2025(43) 26.12.2025(57) The invention relates to a handling device (100) for lifting and/or pivoting or turning concrete elements, in particular prefabricated concrete...

more
Issue 05/2026 DICAD/3DCONNEXION

SpaceMouse and CadMouse optimize 3D design of construction projects

3Dconnexion, a leading manufacturer of 3D input devices for CAD applications, announces a new partnership with Dicad. The collaboration will see 3Dconnexion‘s SpaceMouse, CadMouse, and Keyboard Pro...

more
Issue 05/2026 Probst

Stefan Pfetsch becomes Managing Director of Probst GmbH

Probst GmbH welcomed Stefan Pfetsch as its new Managing Director on March 1, 2026. With his many years of experience in the construction machinery and intralogistics industries, he assumes a central...

more
Issue 05/2026 SOLID UNIT

First production facility for climate-friendly concrete additive in Bernau

How can the construction industry not only reduce CO₂ emissions but also actively help remove carbon from the atmosphere? A facility in Bernau near Berlin has recently begun operations that is turning...

more
Issue 05/2026

Versa Line UN.O. – the new production heart of Augustinus

With the installation of the new Versa Line CC UN.O., Augustinus Prefab Wapeningsstaal takes a strategic step toward production independence by choosing Schnell as its partner. The goal was, among...

more
Issue 05/2026 SCHÖCK BAUTEILE

Fast, construction-time-flexible, and column-free installation of precast balconies

For fast, construction-time-flexible, and cost-effective construction, Schöck offers solutions for connecting precast components to buildings – such as the Schöck Isokorb IQ K. This load-bearing...

more

Ihre Suche nach "" :

5948 Treffer in "AT Minerals"

9032 Treffer in "Bundesbaublatt"

8661 Treffer in "Betonwerk + Fertigteil-Technik"

7863 Treffer in "bauhandwerk"

1212 Treffer in "Brandschutz"

1316 Treffer in "Computer Spezial"

5554 Treffer in "dach+holzbau"

15607 Treffer in "Deutsche BauZeitschrift"

5873 Treffer in "FACILITY MANAGEMENT"

11471 Treffer in "Kälte Klima Aktuell"

6085 Treffer in "metallbau"

1706 Treffer in "recovery"

12220 Treffer in "SHK Profi"

13653 Treffer in "tab - Das Fachmedium der TGA-Branche"

12334 Treffer in "Tiefbau Hochbau Ingenieurbau Straßenbau"

2090 Treffer in "tunnel"

5808 Treffer in "Zement Kalk Gips"

3556 Treffer in "Ziegelindustrie International"