At this year’s Dyckerhoff Weiss Cast Stone Convention, which took place in late April in Wiesbaden, Germany, the focus was on questions and solutions...
The new type of colloquium to be held on 28 June 2016 in Braunschweig is to provide information about how prestressed precast floor slabs can be used...
Building in record time without cutbacks in safety and quality – this goal has become more and more important in times when living space is becoming...
At the Bauma 2016 trade fair in Munich, Elematic headquartered in Finland once again presented itself as innovative supplier of plant technology for...
Schlüsselbauer Technology, the Austrian supplier of pipe and manhole production equipment, centered this year’s Bauma presence on its Perfect Forming...
Candidates shortlisted for the “Innovation Wins!” show at the IHM, the international fair for crafts and trades, rank among the most innovative craft...
Since the 1970 s, Thailand has experienced a rapid economic boom. In spite of current political instability, the demand for real estate in the cities...
Strain-hardening cement-based composites (SHCC) can be a good candidate for use in critical infrastructure elements that require extended lifetimes....
Karl Kronimus passed away on 14th April 2016 aged 87 (the BFT International trade magazine reported on the death for the first time on 25th April at...
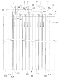
(10) US 2016/0107396 Al (22) 28.07.2015 (71) Beyon 3D Ltd., Tel Aviv (IL) (73) Beyon 3D Ltd., Tel Aviv (IL) (57) A method and system for constructing...
Fibrelite has partnered with precast concrete manufacturer Trenwa in the US and has released a new line of Fibrelite composite trench covers designed...
When a thermoactive element is incorporated into a concrete ceiling, this is offset by part of the building itself to regulate heat. This technology...
Sooner rather than later , day- to-day environmental exposure will lead to damage to concrete or reinforcing steel. Water and pollutants dissolved in...