In the hope that you, dear readers, have missed my personal editorials in recent months, I would like to tell you that I am back once again – and regularly from now on. Our esteemed colleague Karla...
The BFT’s editorial team was quite surprised when, instead of the man in his late fifties they had expected judging by his voice on the telephone, an 80-year-old but nevertheless extremely spry...
Based in the town of Donaueschingen, Mall GmbH offers innovative system solutions for rainwater management, separators, wastewater treatment plants, pump and plant technology, as well as L-shaped...
Debut of the VHV FlatFeeder: in its new ready-mix concrete plant, Weser-Diemel-Beton processes at least 180 tons of gravel and sand per hour. These quantities must be reliably and quickly received as...
In the Stellingen district of Hamburg, a new urban quarter is being developed on approx. seven hectares. All buildings will comply with DGNB Gold Certification as well as with the requirements of IFB...
Boulogne Composants Béton (BCB), one of France’s long-established precast companies (since 1968), expanded its machinery to keep production efficient and to stay at a top level. The automated machines...
The production processes of state-of-the-art precast concrete plants are faced with ever higher requirements so as to ensure the highest possible efficiency of the processes. While we see a trend...
F.B.I. Tasbud, situated near Warsaw/Poland, is preparing for the future needs of precast concrete element usage with state-of-the-art machinery for production and the associated software solutions....
The product line of Eurobend GmbH includes sustainable solutions and a wide range of automatic mesh welding and reinforcing steel processing machines for the greatest majority of precast concrete...
SICEP is a leading company in the design, production, and erection of concrete precast elements for industrial, commercial, and residential building industry and infrastructures. Operating in the...
For many industries, such as precast concrete, measurement and control of the moisture in materials is vital. Whether it be getting the correct proportions of dry material, adding the incorrect amount...
Textured precast concrete panelling has been used to dress the street-facing façade of new headquarter premises of fruit export company, Delecta Fruit (Pty) Ltd. Completed in March and fronting onto...
On the Reeperbahn in Hamburg, one of the best-known streets in Germany, you are now on the safe side, even after dark, because seven suburban S-Bahn train access staircases provide a bright façade...
In the course of comprehensive extension works at the company headquarters in Herne, Reckli, the leading manufacturer of textured formliners, has had a modern administration building constructed...
One of the architectural trends in building construction in recent years has been and continues to be façades with brick surfaces. While in certain regions brick wall and façade surfaces are an...
Measuring the admixture performance by testing the admixture effect on a concrete mix is a procedure that requires the investment of large inputs of skilled manpower and time. This paper presents...
The construction industry accounts for a significant portion of greenhouse gas emissions. The Green Deal of the European Union, which envisages Europe to be carbon-neutral by 2050, therefore places...
More than 2,000 participants from over 65 countries participated in this event, which was held in over 20 national pavilions. More than 65,000 trade visitors had been expected at the trade show, which...
(10) CN115157425(22) 07.09.2022(43) 11.10.2022(57) The invention discloses a mineralization maintenance system and method for concrete blocks. The mineralization maintenance system for the concrete...
(10) CN115157426(22) 08.09.2022(43) 11.10.2022(57) The invention discloses equipment for producing a concrete pipe pile, the equipment comprises a steam kettle main body, a steam inlet mechanism and a...
(10) DE102019126608B4(22) 02.10.2019(43) 08.04.2021(57) Verfahren zur Herstellung einer textilen Querkraftbewehrung (5), ausgebildet aus wenigstens einem Garn (17), das zum Lastabtrag geeignete Fasern...
(10) DE102021114940A1(22) 10.06.2021(43) 15.12.2022(57) Zuschlagstoff für Beton und Verwendung von Beton-Recyclat als Zuschlagstoff für Beton bestehend aus Bauwerksbruch mit einer Gesteinskörnung (20,...
(10) DE102021115025A1(22) 10.06.2021(43) 15.12.2022(57) Stützkonsole (12) zur Abstützung eines Schalungselements und/oder einer Arbeitsplattform (47) einer Schalung (50), aufweisend: einen...
(10) DE102021116194A1(22) 23.06.2021(43) 29.12.2022(57) Die Erfindung betrifft ein Verfahren zur Herstellung eines Betonbauteils (100, 200), umfassend die Schritte: Erzeugen eines ersten...
(10) DE102021116332A1(22) 24.06.2021(43) 29.12.2022(57) Die Erfindung betrifft eine Glättvorrichtung (100, 200) zum Glätten eines Betonbauteils (1), umfassend eine Primärschneide (104, 204, 204‘,...
(10) GB2607644, (22) 15.10.2021(43) 14.12.2022(57) A lightweight composite structural construction panel comprises a concrete core portion 11 with a first and a second major surface and a compressed...
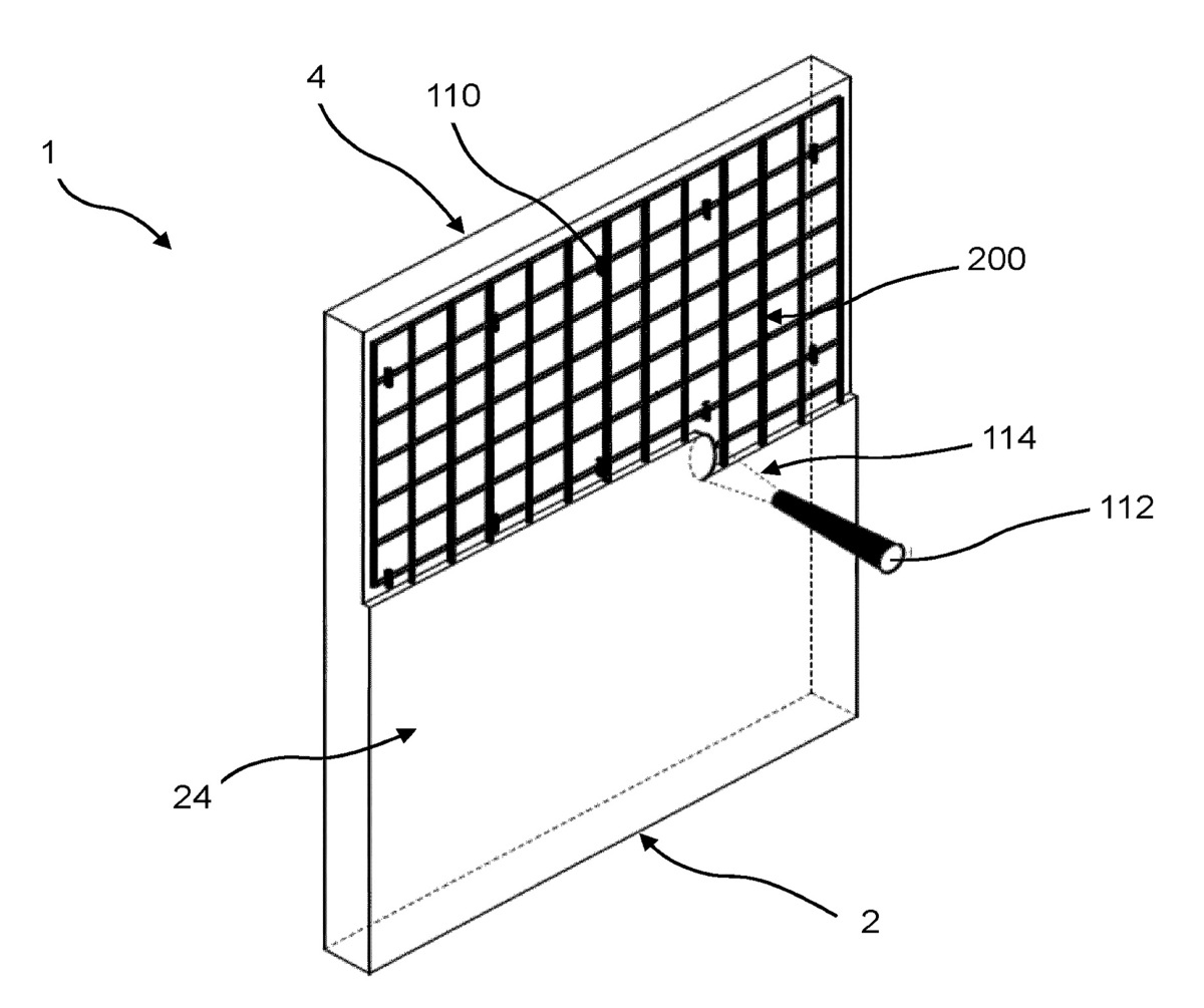
(10) US 2022/0396005 A1(22) 17.11.2020(43) 15.12.2022(57) The invention relates to a method for manufacturing a reinforced concrete component (1, 1‘), in particular a generatively produced reinforced...