Concrete slab structure, concrete prefabricated slab and construction method of concrete prefabricated slab
(10) CN117166671
(22) 28.09.2023
(43) 05.12.2023
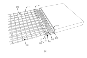
(57) The invention relates to a concrete slab structure, a concrete prefabricated slab and a construction method of the concrete prefabricated slab. The concrete prefabricated slab comprises an end plate, an anchoring structure, a reinforcing mesh, a matching structure and a concrete pouring body. The anchoring structure is arranged on the first side of the end plate. The reinforcing mesh is arranged on the first side of the end plate and connected with the anchoring structure. The matching structure is arranged on the second side of the end plate and used for being matched with a connecting piece for connecting two adjacent concrete prefabricated plates. The anchoring structure on the first side of the end plate and the reinforcing mesh are both poured into the concrete pouring body. The anchoring structures and the matching structures are arranged on the two sides of the end plates correspondingly, reliable connection of the two adjacent concrete prefabricated plates can be achieved, overall stress of the structure is achieved, horizontal reinforcing bars are not needed, the production technology of the concrete prefabricated plates is simplified, mechanical operation can be conducted, and the production efficiency is high.
(71) Tsinghua University, CN
