Dear readers, While riding my bicycle on the way to Bauverlag, my smartwatch vibrated, showing me the newsflash of a news service: “Carola Bridge in Dresden collapses!” This event, of course, later...
The Berding Beton group of companies has taken over the 3A Wassertechnik GmbH & Co. KG specialist company based in Augsburg – always referred to as 3A for short – together with the associated concrete...
What innovations will enable the precast industry to move forward with strength and confidence? What are the answers to sustainability and artificial intelligence? And how will the industry evolve...
Concrete has many good properties: it is robust, has a high load-bearing capacity and is very resistant to moisture, high heat and severe cold. In addition, it provides outstanding sound insulation....
Modern precast concrete plants manufacture both solid concrete walls and sandwich walls, while attaching great importance to highest efficiency. The production processes become more and more...
This year, the Eirich Group has celebrated three important jubilees: 50 years of Eirich in Japan, 30 years in China and 25 years in India. On the occasion of these special events, General Manager,...
Probst GmbH, a world market leader in lifting and installation technology, is launching an innovative load-lifting device on the market just in time for the September trade fairs: The SM-1200 stone...
The mortar machine roars along, the shriek of circular saws shakes you to the core. You can hear hammering and trucks with construction material coming and going – and often this goes on until late in...
Within the Investment Pact Social Integration in the Quarter, the German Federal Ministry of Construction supports projects in urban neighborhoods that enable municipalities to offer facilities for...
The product line of Eurobend GmbH includes sustainable solutions and a wide range of automatic mesh welding and reinforcing steel processing machines for the greatest majority of precast concrete...
Those, who want to remain competitive in the construction industry in the long and medium term, can no longer get around BIM. In the meantime, a large part of the sector, therefore, has integrated the...
Afinitas, leading global infrastructure equipment and services company, has launched a platform of wetcast automation systems aimed at helping precast concrete producers enhance productivity, reduce...
The Machinery Group and UBO Engineering proudly announce that they have entered into an intensive strategic partnership starting on 1 September 2024, and marking an important milestone in the...
Peikko Group Corporation is a leading global supplier of Slim Floor Structures, Wind Energy Applications and Connection Technology for Precast and Cast-in-situ construction. Peikko’s innovative...
Modernizing the precast element production process is the key to business success. This is also true for Gebr. Ott, a family-run business that has evolved from manufacturing simple concrete girders...
MBI De Steenmeesters celebrated an extraordinary milestone with the inauguration of their production hall – the ‚Modern Mondrian‘. After eight months of intensive work, the former heap of sand had...
The modifications made at OL-Trans, the Polish manufacturer of concrete products, range from the new finger car to the new rack system through to an optimized climate control for the stored products....
Shanghai Citi Raise Construction Group Co. Ltd. is a large-scale corporate group with a complete industrial chain that covers real estate development, architectural planning and design, general...
In August 2023, the new generation of the DIN 1045 series of standards was published. It comprises seven parts in total, encompassing structural concrete construction from planning to concrete and the...
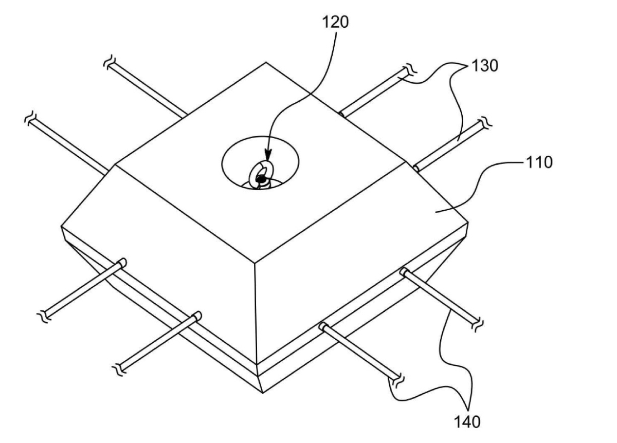
(10) DE102023101584A1(22) 23.01.2023(43) 25.07.2024(57) Die Erfindung betrifft ein Verfahren zur schalungsfreien Herstellung eines Betonbauteils (100) mit einem Einbauteil (106), umfassend die...
(10) DE102023100881A1(22) 16.01.2023(43) 18.07.2024(57) Die Erfindung betrifft einen Bordstein aus Beton zur Anordnung auf einer Fahrbahn zwecks Abtrennung eines Fahrbahnbereichs, insbesondere eines...
(10) CN117468634(22) 10.11.2023(43) 30.01.2024(57) The prefabricated concrete floor slab assembly comprises a slab body, clamping boxes, first supporting plates, supporting boxes and first supporting...
(10) DE102023101344A1(22) 19.01.2023(43) 25.07.2024(57) Die Erfindung betrifft einen Formstein aus Beton zur Begrenzung von Fahrbahnen für Straßen, wobei der Formstein eine Fahrbahnseite (11) und eine...
(10) US2021207336A1(22) 17.05.2019(43) 08.07.2021(57) A concrete block includes a dry cast concrete body having opposite first and second sides, opposite first and second end faces extending between...
(10) US2021395971A1(22) 28.06.2021(43) 23.12.2021(57) A method of forming simulated stone or brick column or a retaining wall is made up of rows of masonry blocks of generally trapezoidal...
(10) US2022341151A1(22) 06.09.2019(43) 27.10.2022(57) A concrete ceiling element for producing a concrete ceiling is disclosed. The concrete ceiling element has a flat basic structure that has an...
(10) US2024218656A1(22) 20.08.2021(43) 04.07.2024(57) The purpose of the present invention is to disclose a semi-fabricated composite shielding shell with ultra-high performance concrete (UHPC),...
(10) CN110295524(22) 01.08.2019(43) 01.10.2019(57) The invention discloses a concrete prefabricated road, which is used for forming a road on a roadbed. The concrete prefabricated road comprises a...
(10) CN115958691(22) 29.12.2022(43) 14.04.2023(57) The invention discloses an efficient energy-saving concrete pipe making machine which comprises a frame, sliding grooves are symmetrically and...
(10) KR20240007630(22) 20.09.2023(43) 16.01.2024(57) Gemäß der vorliegenden Erfindung wird ein plattenförmiger Betonkörper bereitgestellt, in dem ein oder mehrere Hohlabschnitte und mindestens ein...
(10) KR20240054604(22) 19.10.2022(43) 26.04.2024(57) Bei der vorliegenden Erfindung handelt es sich um ein Hochleistungsbetonelement, das fest am Betonelement befestigt werden kann, indem es eine...
(10) KR20240109094(22) 03.01.2023(43) 10.07.2024(57) Die vorliegende Erfindung betrifft einen Betonblock zum Schutz von Unterseekabeln, der in drei Dimensionen zusammengebaut werden kann, und eine...
(10) WO2024142530A1 (22) 05.10.2023 (43) 04.07.2024 (57) A duct component which constitutes part of a duct of an external cable, said duct component having a main body section into which a PC steel...
(10) CN117782799(22) 19.02.2024(43) 29.03.2024(57) The invention relates to the technical field of structural engineering, and provides an assembly type concrete block strength detection device which...
(10) PL443436(22) 05.01.2023(43) 08.07.2024(57) Gegenstand der Anmeldung ist ein Badezimmermodul aus vorgefertigten Betonelementen, das aus vier vorgefertigten flachen Wandpaneelen (1, 2, 3, 4), davon...
(10) WO2024150257A1(22) 13.01.2024(43) 18.07.2024(57) A concrete 3D printing apparatus, for constructing buildings and structures, comprises a primary manoeuvring arm, a secondary manoeuvring arm, a...