Ground-Type storage tank
(10) WO2024241781A1
(22) 18.04.2024
(43) 28.11.2024
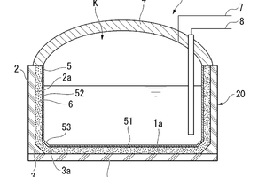
(57) This ground-type storage tank comprises a concrete wall, and a membrane disposed along an inner wall surface of the concrete wall. The concrete wall has a bottom part, a side wall part erected on the bottom part, and a corner part provided with an inclined surface connecting an inner wall surface of the bottom part and an inner wall surface of the side wall part as an inner wall surface. A bottom-part membrane that is disposed facing the inner wall surface of the bottom part, a side-part membrane that is disposed facing the inner wall surface of the side wall part, and a corner-part membrane that is disposed facing the inclined surface of the corner part and is connected to the bottom-part membrane and the side-part membrane are provided as the membrane.
(71) IHI Plant Services Corporation, JP
