An inspirational week at BAU with its approx. 180,000 national and international visitors lies behind us. At the completely booked out grounds at Messe München, 2,230 exhibitors from 58 countries...
Load-bearing capacity and likewise high thermal insulation need not be mutually exclusive. This is proven by the new „KLB Wabenstein“ hollow block of the renowned lightweight concrete manufacturer KLB...
Sebastian Müller AG, based in Rickenbach in the canton of Lucerne in German-speaking Switzerland, is specialized in the manufacture of concrete products for the building, civil engineering, road...
Since the adoption of the Federal Climate Change Act in 2019, with requiring climate neutrality in Germany by 2045, the requirements on producers of semi-precast concrete elements have increased too....
A fascinating work of art is raising at Europaplatz in St. Pölten since September 2024 – it is far more than just an aesthetic enrichment of the cityscape. The so-called „Windfänger“ (vestibule), a...
The Front End Engineering Design represents the detailed technical planning for the GeZero decarbonization project – the first facility of Heidelberg Materials for carbon dioxide capture and storage...
Reductions of more than two-thirds in CO2 emissions with consistently high quality: researchers at Fraunhofer Institute for Building Physics (IBP) are adjusting numerous key factors to make the future...
Rapid International Ltd (County Armagh, Northern Ireland) has recently supplied Orchard Fencing Ltd with a new bespoke static concrete batching plant, located in Erith, South-East London. The plant is...
The Gotthard Road Tunnel, one of the most important Alpine crossings and main connection between the region of Central Switzerland and Ticino, gets a second tunnel tube. On behalf of the Swiss Federal...
A multitude of EU-funded projects are putting a Bulgarian business – and an Ammann CBS 120 SL Elba Concrete-mixing Plant – to work. With hourly output of 120 m3, the Ammann Elba plant is a perfect...
A massive firewall has been built between two Controlled Atmosphere (CA) storage facilities at Two-A-Day’s (TAD’s) apple and pear distribution centre in Grabouw, Western Cape. A hundred and thirtyfour...
In Niedermuhlern, near Bern, in Switzerland, a space observatory recently opened to the public. The building, designed by the master architect Mario Botta, features façade cladding of precast...
Over the past three years, the ReCyCONtrol research consortium, which receives funds from the Federal Ministry of Education and Research, has developed a completely new approach to producing fresh...
Prefaco Oeterbeton, a renowned precast producer based in Belgium, has recently completed a ground-breaking transformation of its operations thanks to Ebos, Progress Group’s specialized Manufacturing...
The company Franz Ludwig Gesellschaft für Mess- und Regeltechnik mbH, in Mainz, Germany, now led in its third family generation, has since 1973 been actively engaged in the field of process measuring...
The company Rünz und Hoffend was founded in 1925 in the German state of Rhineland-Palatinate and is today a successful medium-sized building and garden and landscape construction company. With the...
Eurobend GmbH offers a comprehensive line of automatic machines for all precast concrete applications: from entry-level welding machines producing simple reinforcement elements to complex equipment...
The BZ3 Dynamic wedge anchor, according to the manufacturer, is the first mechanical expansion anchor with a European Technical Assessment (ETA) for fatigue loading (Fig. 1). The ETA-20/0117 also...
Concrete meets glass technology: The Maxit Group (Azendorf) is setting new standards with a special product innovation in the concrete industry. The Group has succeeded in transferring the...
(10) PL444935A1(22) 19.05.2023(43) 25.11.2024(57) Gegenstand der Anmeldung ist eine vorgefertigte Stahlbetonbodenplatte, bestehend aus einer dünnwandigen Platte mit Bewehrungs-einlagen und über die...
(10) WO2024234067A1(22) 23.04.2024(43) 21.11.2024(57) The present invention relates to concrete mixtures and panels including such mixtures, which will find application in construction, and...
(10) WO2024241781A1(22) 18.04.2024(43) 28.11.2024(57) This ground-type storage tank comprises a concrete wall, and a membrane disposed along an inner wall surface of the concrete wall. The concrete...
(10) WO2024242654A1(22) 15.05.2024(43) 28.11.2024(57) The present invention relates to a recycled building element (100) prepared using construction or demolition waste concrete, with plant seeds...
(10) WO2024243591A1(22) 28.05.2024(43) 28.11.2024(57) Disclosed are compositions containing an Ulva extract and a concrete admixture suitable for inclusion in cement and concrete compositions, and...
(10) DE102009053297A1(22) 16.11.2009(43) 19.05.2011(57) The method involves causing dynamic force on a production area of a base plate (4), and measuring time response of motion and/or force...
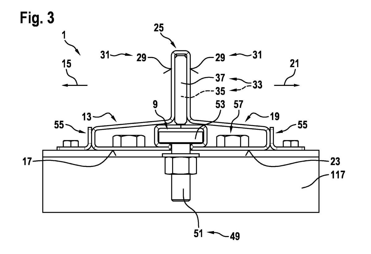
(10) DE102011105334A1(22) 07.06.2011(43) 25.10.2012(57) Die Erfindung betrifft ein Lastaufnahmeelement (1) zur Einbetonierung in einen Schachtring sowie einen Schachtring mit wenigstens einem...
(10) WO2024235941A1(22) 15.05.2024(43) 21.11.2024(57) Ein Führungsschienensegment (1) einer Führungs-schienenanordnung (3) für eine Aufzuganlage (101) weist ein längliches Hohlprofil (5) aus einem...
(10) WO2024229490A1(22) 06.05.2024(43) 14.11.2024(57) A description is given of an apparatus for producing a lower shaft part from concrete, the lower shaft part comprising a shaft floor (1) with a...