Liebe Leserinnen und Leser, die letzte Ausgabe der BFT International eröffnete unser Chefredakteur, Silvio Schade, mit einem Grußwort, das die Innovationskraft und Zukunftsorientierung unserer BFT und...
Die steirische Gemeinde Radmer an der Stube liegt in einem idyllischen Hochtal östlich des Nationalparks Gesäuse. Die Zufahrt zum beliebten Ausflugsort musste wegen der hohen Steinschlaggefahr...
Die 2010 gegründete Curetec Energietechnik GmbH & Co. KG ist ein führender Anbieter für die Entwicklung, Installation und Wartung von Spezialsystemen zur Betonhärtung. Zuletzt war das Unternehmen an...
Mit der Einführung der nächsten Generation von Vertua-Zusatzmitteln bleibt das weltweit aktive Baustoffunternehmen Cemex führend im Bereich nachhaltiger Lösungen für die Baubranche.Die Produktpalette...
Der Spannbetondeckenhersteller Elbe delcon GmbH – Elbe Decken feiert im Sommer 2021 sein 25-jähriges Bestehen. Gegründet ist das Werk im Jahr 1996 vom Bauunternehmer Ewald Endris, Deisen-Gruppe, und...
Elbe Decken feierte im Juni sein 25-jähriges Firmenjubiläum (siehe vorheriger Beitrag). Einen Ausblick in Zukunft und Vergangenheit geben der Betriebsleiter, Dipl.-Ing. Lars Klötzer, und der ehemalige...
Bereits im Sommer 2018 starteten die Stadtwerke Essen mit der Erneuerung des Kanalsystems Wolfsbachtal. Mittlerweile ist die umfangreiche Baumaßnahme weitestgehend umgesetzt und wird voraussichtlich...
Ende Mai 2021 wurde im westfälischen Beckum das erste 3D-gedruckte Wohnhaus Deutschlands realisiert. Aber nicht nur die Art und Weise der Wandherstellung ist bei diesem Haus hoch innovativ. Auch das...
Das seit 1994 bestehende Unternehmen Generale Costruzioni Pizzarotti SA mit Sitz in Bellinzona, Schweiz, blickt auf eine lange Geschichte zurück. Eigentlich ist es eine 100-prozentige...
Durch Software, Automatisierung und autonome Maschinen lassen sich Produktionsanlagen zu intelligenten Anlagen mit einer Vielzahl von Vorteilen aufwerten. Echo Precast Engineering gibt einige...
Mit dem neuen Anlagenkonzept von B.T. innovation konnte die Beton-Fertigteil-Union (BFU) ihre Produktionskapazität, Produktqualität und Prozesssicherheit erhöhen. Herzstück des neuen Konzeptes ist...
Kaum ein anderer interpretiert den ehemaligen Branchen-Slogan „Beton – es kommt drauf an, was man draus macht“ so variantenreich und individuell wie Erwin Voit. Er ist Gründer und geschäftsführender...
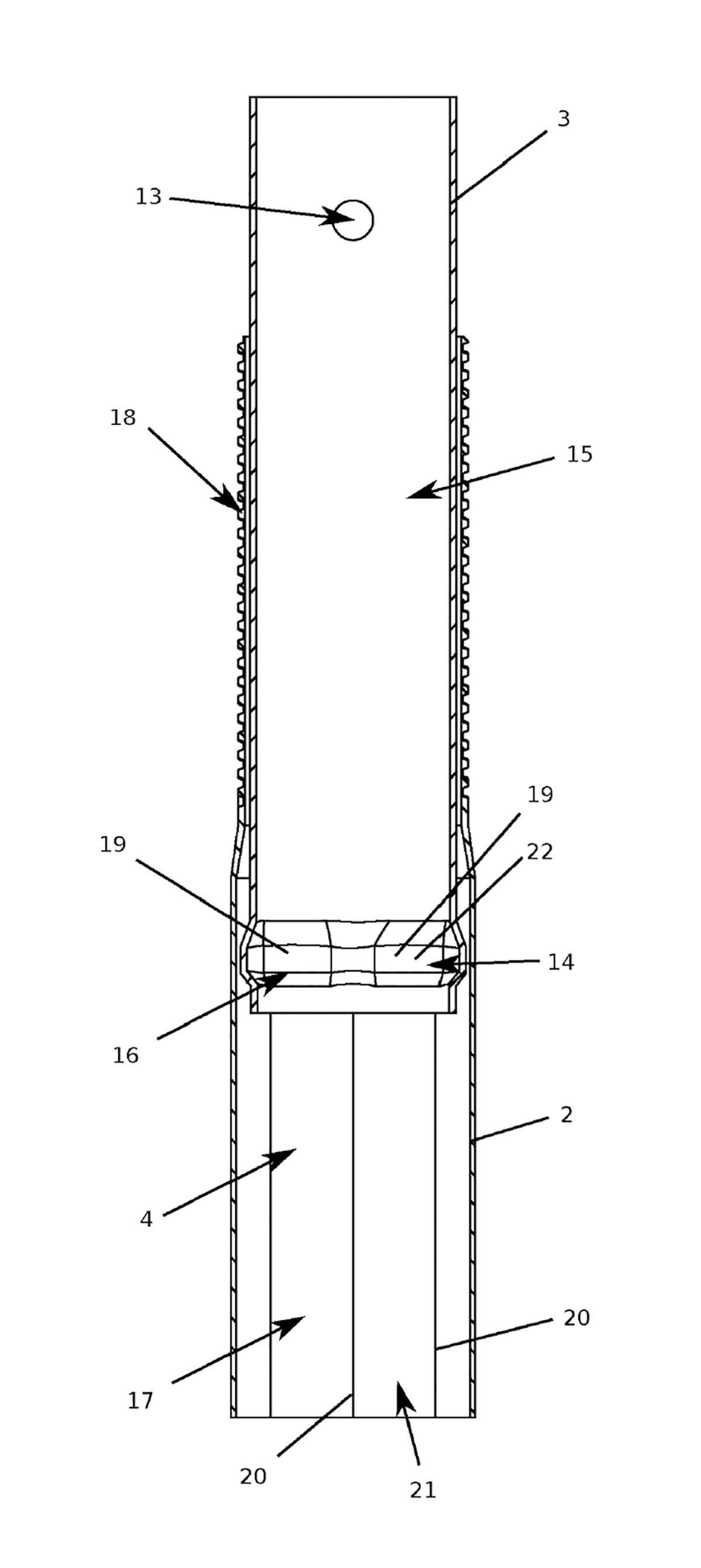
Der langjährige Leitsatz „Die Welt ist in Bewegung. Wir geben ihr Halt.“ wird nun ergänzt durch „Jetzt noch permanenter.“ Denn mit dem neuen Philipp Permanent-Befestigungs-System (PB-System, s. Abb....
Die patentierte MCI Technologie von Cortec, die speziell zum Korrosionsschutz von Bewehrungsstahl im Beton entwickelt wurde, findet weltweit breite Anwendung. Der laut Herstellerangabe rasante Anstieg...
Die Betonfertigteilgesimse des neuen Parkhotels in Heilbronn sind an tragenden Wärmedämmelementen für auskragende Bauteile befestigt und thermisch getrennt. Der Rohbau konnte ohne Gerüst und in sehr...
Der Einsatz von Textilbeton in Deutschland steigt. Dennoch ist ein Umstieg von Stahlbeton nicht ganz leicht, da Textilbewehrungen aus Glasfasern und Carbonfasern eine andere Verarbeitung und Bemessung...