Search

Your search for "" found 8626 Hits

Issue 05/2016 Jordahl

New toothed strap for precast concrete elements

At this year‘s bauma in Munich, Jordahl GmbH presented a new product for the precast concrete industry: The toothed strap. The JVB-V system joins together precast concrete elements quickly and...

more
Issue 05/2016 Weckenmann Anlagentechnik

State-of-the-art formwork systems for Lithuanian and Indian precast plants

Formwork plays a key role in producing large structural precast components since it defines the elements’ shape, determines product quality and makes manufacturing processes more flexible. Its...

more
Issue 05/2016 SUBMITTED BY: DYCKERHOFF

Innovation: premium products for precast plants

At its Geseke plant, Dyckerhoff has been producing PZ Dreifach (CEM I 52.5 R), a particularly fine cement, for several years. This cement exhibits a very high early and final strength, which is why...

more
Issue 05/2016 SUBMITTED BY: FAYMONVILLE

Innovation: Telescopic inloader – short version

Winding streets, narrow access ways, and barely room for maneuvering – inner-city areas are often difficult to negotiate for drivers and haulers when accessing construction sites. In response to...

more
Issue 05/2016 SUBMITTED BY: MAX FRANK

Innovation: The Joint Configurator

The design of joints in concrete, a complex matter, largely depends on structural-engineering and building-physics circumstances. The new Joint Configurator graphically presents non-product-related...

more
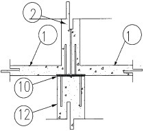
Issue 05/2016 SUBMITTED BY/EINGEREICHT VON: PRECONTECH

Innovation: Erection system for precast walls

This innovation consists of a connection and erection system on the basis of a PTA anchor channel with double T-head for solid walls and insulated wall panels. The Click Connector is preassembled in...

more
Issue 05/2016

Device for the manufacture of molded ­concrete parts

(10) DE 10 2014 113 756 Al (22) 23.09.2014 (43) 24.03.2016 71) KOBRA Formen GmbH, 08485 Lengenfeld, DE (57) Es wird eine Vorrichtung zur Her­stellung von Betonformteilen in einer Formmaschine mit...

more
Issue 05/2016

Double wall of high-strength or ultra-high strength reinforced concrete

(10) WO 2016/037864 Al (22) 28.08.2015 (71) Technische Universität Wien, AT (84) Bestimmungsstaaten (soweit nicht anders angegeben, für jede verfügbare nationale Schutzrechtsart): ARNO (BW, GH, GM,...

more
Issue 05/2016

Wall element made of concrete, process of manufacturing such as wall element and ­application of same

(10) DE 10 2014 113 166 A1 (22) 12.09.2014 (43) 17.03.2016 (71) braun-steine GmbH, 73340 Amstetten, DE (57) Wandelement (10) aus Beton, insbesondere aufrechtstehendes oder an einer Außen- oder...

more
Issue 05/2016 SUBMITTED BY: SCHÖCK

Isokorb ID for subsequent installation of balconies in new construction

Following the principle of “first the shell construction, then the balcony”, the new Schöck Isokorb ID element allows the subsequent installation of balconies in new building construction. This...

more

Ihre Suche nach "" :

5932 Treffer in "AT Minerals"

9031 Treffer in "Bundesbaublatt"

8626 Treffer in "Betonwerk + Fertigteil-Technik"

7859 Treffer in "bauhandwerk"

1212 Treffer in "Brandschutz"

1314 Treffer in "Computer Spezial"

5547 Treffer in "dach+holzbau"

15528 Treffer in "Deutsche BauZeitschrift"

5871 Treffer in "FACILITY MANAGEMENT"

11462 Treffer in "Kälte Klima Aktuell"

6085 Treffer in "metallbau"

1691 Treffer in "recovery"

12215 Treffer in "SHK Profi"

13637 Treffer in "tab - Das Fachmedium der TGA-Branche"

12331 Treffer in "Tiefbau Hochbau Ingenieurbau Straßenbau"

2090 Treffer in "tunnel"

5808 Treffer in "Zement Kalk Gips"

3556 Treffer in "Ziegelindustrie International"