BFT International this year celebrates its 90th birthday. For 90 years it has been the recognized trade journal for manufacturers of concrete products and precast elements, as well as for companies...
With the symbolic ground-breaking ceremony, the start of the new construction of the largest ever and most modern precast concrete plant of the Glatthaar Group was marked on November 9 in the Bavarian...
Combilift, one of the largest global manufacturers of multidirectional, articulated forklifts and straddle carriers, today announced its move into the offshore wind sector with the launch of a new...
Fdu, a leading supplier in the field of high-quality precast concrete elements, is extending the existing collaboration with Idat GmbH as their software partner. The long-term goal is the conversion...
On November 1st, 2023, the management of Avermann Betonfertigteiltechnik GmbH & Co. KG was tranferred to Mr. Timo Steinhauer, who will take over the responsibility together with the CEO of the...
The modular Giromatic turning system from Dumeta can be attached to conventional load lifters and, with the aid of tear-resistant slings or chains, also keeps difficult to balance objects safely under...
With the Anchor Profi design tool from the German software house Dr. Li Anchor Profi GmbH, structural engineers can compute which dowels or headed bolts are adequately reliable for fastening their...
In a very special application of precast concrete in South Africa, 12 U-shaped precast concrete elements, manufactured by Concrete Manufacturers Association (CMA) member, Cape Concrete, have been used...
The expectations on the concrete manufacturer are already growing at the beginning of a project when it comes to the conception of a suitable formwork or textured formliner. In order to meet these...
The built environment creates approximately 40% of CO2 emissions globally, of which 27% comes from building operations and 6% from the building construction industry, according to Architecture 2030....
Green cements are booming because the cement and concrete industry is on a net-zero journey to become carbon-neutral by 2050. What are the latest market trends for green cements and which types of...
Weber Betonwerk GmbH offers a wide range of high-quality precast concrete elements for residential and commercial construction. To counteract the rise in energy costs, new approaches have been taken...
DW Systembau GmbH is a subsidiary of Consolis, a European market leader in precast concrete solutions. Just recently, BFT editor-in-chief Silvio Schade visited the climate-friendly production of...
Reducing the CEM I dosage or replacing it with clinker-reduced cement types or SCMs can improve the sustainability of hollow core slabs, but can lead to performance losses in terms of strength...
Although knowledge of CO2 storage below the seabed is not entirely new, many do not know how such storage can function and/or are rather skeptical of the whole idea. But there is no getting around the...
In the last BFT edition of 2023, as you know, we started with our new „GREEN CHALLENGE“ section, among others, presenting an interview with Dr. Johannes Tiefenthaler, the CEO of the Swiss scale-up...
(10) CN107650246(22) 19.09.2017(43) 02.02.2018(57) The invention discloses a rotary forming device for a concrete prefabricated part. The rotary forming device comprises a base, a vertical seat, a...
(10) CN114427254(22) 11.06.2021(43) 03.05.2022(57) The invention relates to a prefabricated concrete member which comprises a first prefabricated concrete member body and a second prefabricated...
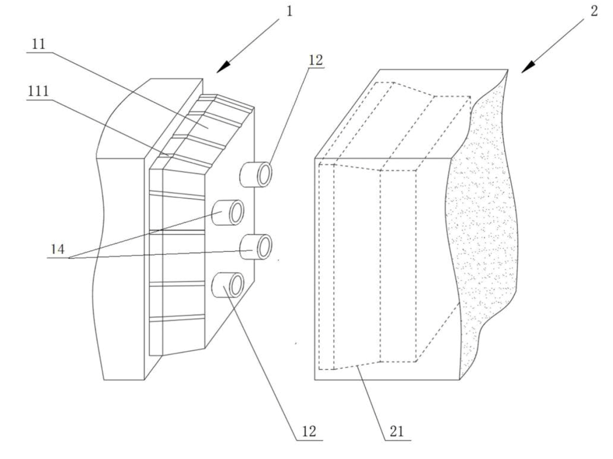
(10) DE102022106480A1(22) 21.03.2022(43) 21.09.2023(57) Beschrieben wird ein Verfahren zum Herstellen von Bodenbelagselementen (1) aus Beton, insbesondere zum Herstellen von Beton-Pflastersteinen oder...
(10) DE102022106481A1(22) 21.03.2022; (43) 21.09.2023(57) Beschrieben wird ein Betonstein (1), insbesondere in Form eines im Verbund verlegbaren Flächenelementes zur Erstellung eines Flächenbelages,...
(10) DE202019005950U1(22) 16.04.2019(43) 14.09.2023(57) Fugenabdichtungselement (1) zur zementfreien Abdichtung von Fugen zwischen zwei Betonbauteilen (5, 6), aufweisend ein Trägerelement (2), eine...
(10) DE202023001267U1(22) 14.06.2023(43) 07.09.2023(57) Single-Anker (1) für die Befestigung eines Anbauteils (6) an einem Betonelement (8), bestehend aus einem Einbauteil (11), gefertigt aus einer...
(10) EP4245919(22) 07.02.2023; (43) 20.09.2023(57) The invention relates to an expansion joint (1) for a formwork system for concrete slabs over which at least one automatically guided vehicle is...