A multilayer concrete wall panel for greening of vertical surfaces and method for production thereof
(10) EP4449855A1
(22) 19.04.2023
(43) 23.10.2024
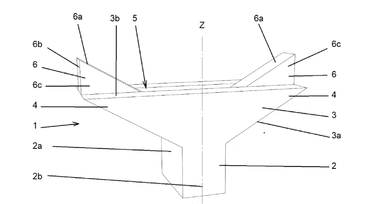
(57) The present invention relates to a multilayer wall greening panel (1) for planting plants on a wall surface for greening of vertical surfaces. The multilayer wall panel (1) for greening of vertical surfaces is characterized in comprising a structural layer (2) produced from the high-performance fiber-reinforced concrete with a thickness from 20 to 50 mm, with the aggregate size ≤ 4mm, ensuring the strength and stiffness of the wall panel (1); a second layer (3) made from lightweight expanded clay pervious concrete suitable for biological colonization, having a variable thickness of 20 mm and 50 mm, forming regular 30 mm deep pattern of cavities (5) at the surface specifically designed as initial plant growth regions; biological boosters (4) of a triangular shape, located in the cavities (5) and designed to accelerate the initial colonization and plant growth on a multilayer panel (1), composed from the local forest topsoil and bio-degradable paper pulp to increase the initial stiffness of the biological boosters (4); and a drip line irrigation system consisting of pipes (7) arranged in grooves (8) on the top of the multilayer wall panels (1).
(71) Vilniaus Gedimino technikos universitetas, LT
