Pouring mold for reinforced concrete segment prefabricated part
(10) CN119238695
(22) 25.10.2024
(43) 03.01.2025
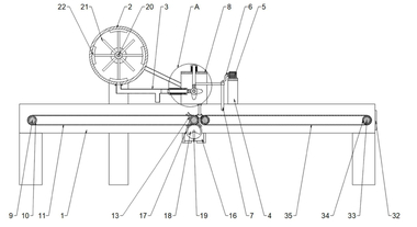
(57) The invention relates to the technical field of reinforced concrete prefabricated tower column pouring, and particularly discloses a pouring mold for a reinforced concrete segment prefabricated component, the pouring mold comprises a mold body and a U-shaped frame, auxiliary positioning assemblies are symmetrically arranged on the two sides of an inner cavity of the U-shaped frame, and water storage tanks are mounted on the two sides of the outer wall of the U-shaped frame correspondingly; a water cooling assembly is installed between the auxiliary positioning assembly and the water storage tank in a matched mode, and a vibration guide assembly is installed between the two sides of an inner cavity of the U-shaped frame and used for improving the compactness and strength of concrete in the mold body. According to the pouring mold for the reinforced concrete segment prefabricated part, the auxiliary positioning assembly and the water cooling assembly are arranged in the pouring mold for the reinforced concrete segment prefabricated part, and when the pouring mold is used, through mutual cooperation of the structures, the effect of limiting diffusion of atomized water vapor for cooling can be achieved while the prefabricated part in the lower mold can be cooled.
(71) Xuyi Linhuai Building Material Co., Ltd., CN
