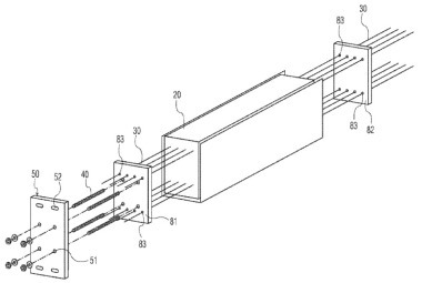
Pre-stressed steel concrete beam
(11) RU 2657881 C1
(22) 10.04.2017
(45) 18.06.2018
((57) Field: Construction. Substance: Invention relates to the field of construction and can be used as beams of ceilings and coatings of residential and public buildings. Pre-stressed steel concrete beam comprises a steel profile of a single or composite I-section having anchor assemblies, longitudinal pre-stressed reinforcing bars, end ribs and embedment concrete. End faces of the profile are welded to the end edges with holes for removable tensions, attached to the anchor plates located on the inside of the end ribs. Effect: Invention is aimed...
