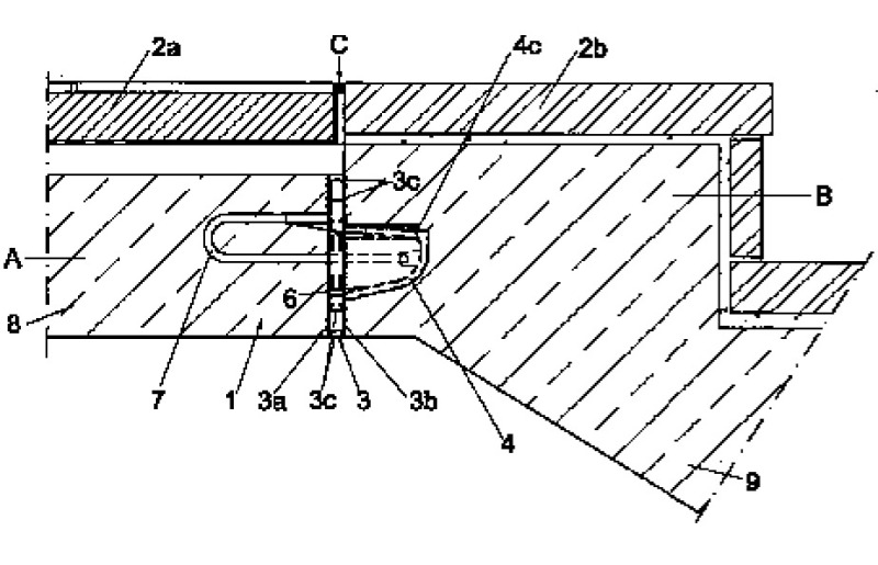
Bauelement zum Einbau in Trennfugen von Gebäuden
(10) DE 10 2011 009 762 A1
(22) 28.01.2011
(43) 02.08.2012
(71) Schöck Bauteile GmbH, 76534, Baden-Baden, DE
(57) Die Erfindung betrifft ein Bauelement zum Einbau in Trennfugen (C) von Gebäuden, insbesondere an Treppenpodesten (A), zur schalldämmenden, kraftübertragenden Verbindung beidseits angrenzender Gebäudeteile (A, B), bestehend aus einer Trennplatte (3) und aus diese durchquerenden Bewehrungselementen (7), wobei die Trennplatte (3) zumindest eine Durchbrechung (3f) für ein Bewehrungselement aufweist, wobei die Trennplatte im Bereich der Durchbrechung einen trogförmigen Schalkörper (4)...
