Concrete Block and Surface Covering
(10) DE102020122516B4
(22) 28.08.2020
(43) 03.03.2022
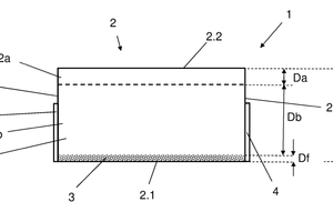
(57) Betonstein (1) in Form eines im Verbund verlegbaren Flächenelementes zur Erstellung eines Flächenbelages, umfassend zumindest einen, mehrere Betonsteinschichten (2a, 2b, 2c) aufweisenden Betonsteinkörper (2) mit zumindest einer zum Verlegen auf einer Bettungsschicht (7) eines Untergrundes geeigneten Betonsteinunterseite (2.1) und einer dieser gegenüberliegenden Betonsteinoberseite (2.2), wobei der Betonsteinkörper (2) zumindest eine erste Betonsteinschicht (2a), eine unmittelbar daran anschließende zweite, zumindest teilweise wasserdurchlässige Betonsteinschicht (2b) sowie eine daran anschließende dritte, ebenfalls zumindest teilweise wasserdurchlässige Betonsteinschicht (2c) aufweist, wobei die dritte Betonsteinschicht (2c) die Betonsteinunterseite (2.1) bildet, und wobei der Betonsteinkörper (2) zumindest eine, sich entlang der Betonsteinunterseite (2.1) erstreckende und einstückig mit dem Betonsteinkörper (2) ausgebildete, integrierte Filterschicht (3) zur Entfernung von Schadstoffen aus Niederschlagswasserabflüssen aufweist, die durch ein natürliches und/oder künstliches Molekularsieb gebildet ist, welches zumindest einem zur Herstellung der zumindest teilweise wasserdurchlässigen Betonsteinschichten (2b, 2c) verwendeten Betonmaterial zur Erzeugung der Filterschicht (3) abschnittsweise zugesetzt ist, dadurch gekennzeichnet, dass die zumindest eine integrierte Filterschicht (3) zwischen der zweiten und dritten Betonsteinschicht (2b, 2c) oder in der zweiten und dritten Betonsteinschicht (2b, 2c) ausgebildet ist.
(71) Godelmann GmbH & Co. KG, 92269 Fensterbach, DE
