Multi-layer concrete block for a composite surface covering and surface covering
(10) DE102023136057A1
(22) 20.12.2023
(43) 26.06.2025
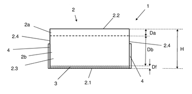
(57) Beschrieben wird ein Betonstein (1), insbesondere in Form eines im Verbund verlegbaren Flächenbelagele-mentes zur Erstellung eines Flächenbelages. Der Betonstein weist zumindest einen mehrschichtigen Betonsteinkörper (2) mit zumindest einer Betonsteinunterseite (2.1) und einer dieser gegenüberliegenden Betonsteinoberseite (2.2) auf. Der mehrschichtige Betonsteinkörper (2) umfasst zumindest eine an der Betonsteinoberseite (2.2) angeordnete erste Betonsteinschicht (2a), zumindest eine an die erste Betonsteinschicht (2a) anschließende zweite Betonsteinschicht (2b) sowie ferner eine an die zweite Betonsteinschicht (2b) anschließende dritte Betonsteinschicht (2c). Die dritte Betonsteinschicht (2c) bildet die Betonsteinunterseite (2.1), die zur Auflage auf einer Bettungs-schicht (3) eines Untergrundes vorgesehen ist. Die zwischen der ersten und dritten Betonsteinschicht (2a, 2c) angeordnete zweite Betonsteinschicht (2b) ist eine haufwerksporige Kernschicht. Der Betonstein zeichnet sich insbesondere dadurch aus, dass die erste Betonsteinschicht (2a) eine erste Porosität (P1) aufweist und Poren mit einer ersten Porengrößenverteilung (q1) umfasst, dass die zweite Betonsteinschicht (2b) eine zweite Porosität (P2) aufweist und Poren mit einer zweiten Porengrößenverteilung (q2) umfasst und dass die dritte Betonsteinschicht (2c) eine dritte Porosität (P3) aufweist und Poren mit einer dritten Porengrößenverteilung (q3) umfasst, wobei eine mittlere Porengröße der Poren in der dritten Betonsteinschicht (2c) kleiner ist als die mittlere Porengröße der Poren in der zweiten Betonsteinschicht (2b).
(71) Godelmann GmbH & Co. KG, DE
