Meine Kollegin Karla Knitter sprach es bereits in ihrem Vorwort für die BFT 4/2022 an: Die bereits zwei Jahre andauernde Corona-Pandemie ist noch nicht ganz ausgestanden, da bricht der furchtbare...
Die Peikko Group Corporation hat die Produktrechte für ein Konsolsystem von der Zech Hochbau AG erworben. Der Kauf umfasst das Patent, die Produktdokumentation, die Bemessung und das Knowhow. Peikko...
Vier Jahrzehnte diente das Edwin-Scharff-Haus in Neu-Ulm als Austragungsort für die BetonTage. Von 1981 bis 2020 bot das Kongresszentrum am Ufer der Donau die Plattform für den Leitkongresses der...
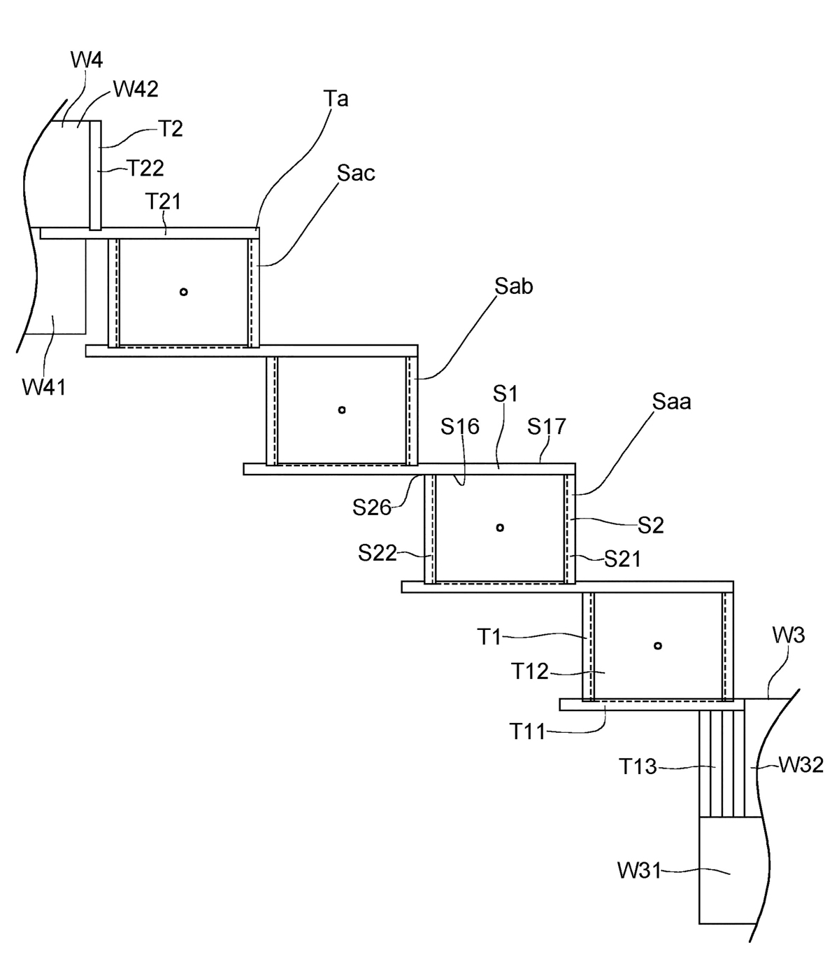
Die Anforderungen an Betonfertigteile steigen jährlich und werden stetig komplexer. Ein Indiz dafür ist die wachsende Anzahl diverser Einbauteile, welche von Fertigteilwerken verbaut werden. In diesem...
Der Branchentreff für die Betonfertigteilindustrie widmet sich in diesem Jahr dem Thema „Vorfertigung in der neuen Realität“. Die Engineering Days bieten zwei Tage lang Raum für inspirierende...
Afinitas, eines der weltweit führenden Unternehmen für Ausrüstungen und Dienstleistungen im Infrastrukturbereich, gab anlässlich der Verbandstagung 2022 der National Precast Association in Kansas City...
Trotz schwieriger Rahmenbedingungen bilanziert die Glatthaar Gruppe mit Stammsitz in Schramberg-Waldmössingen ein gutes Geschäftsjahr 2021. Der Gesamtumsatz des Unternehmens, u. a. mit den...
Die Schweizer Unternehmensgruppe SFS ist, mit mehr als 50 Jahren Erfahrung, ein Spezialist für Befestigungslösungen rund um die Gebäudehülle. Mit MXC vereinfacht SFS die Montage von Sandwichelementen...
Der geschäftsführende Gesellschafter Hermann Weckenmann, wird sich zum 30.06.2022 nach fast 40-jähriger Tätigkeit im Unternehmen von der Unternehmensführung und dem Tagesgeschäft der Weckenmann...
Ebenbürtig zur denkmalgeschützten Nachbarschaft präsentiert sich ein moderner Wohnungsbau direkt an der Isar. Die passgenau für das Bauwerk gefertigten Elemente aus Architekturbeton erhalten ihre...
Was vor 40 Jahren von zwei Studenten der TU Darmstadt als Zweimannbetrieb gegründet wurde, ist längst ein international agierendes Softwareunternehmen mit ca. 30 MitarbeiterInnen geworden. Denn in der...
Der Straßenverkehr zwischen Deutschland und der Schweiz wird derzeit an 67 Grenzübergängen abgewickelt. Einer dieser Übergänge erfolgt vom deutschen Gottmadingen-Bietingen im Hegau zum schweizerischen...
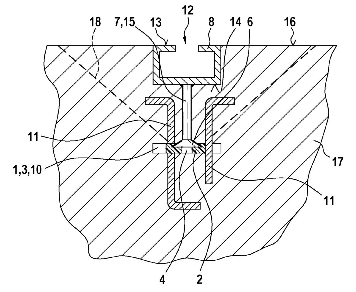
Ein Unterflurcontainer ist ein unterirdischer Behälter mit oberirdischem Einwurf zum Sammeln von Abfällen oder Wertstoffen. Seine Vorteile sind hinlänglich bekannt: Unterflurcontainer benötigen eine...
Das italienische Unternehmen Fratelli Abagnale ist seit Anfang der 1970er Jahre als Hersteller von Betonprodukten und Betonfertigteilen aktiv. Das kontinuierliche Wachstum sowohl in Bezug auf die...
Im indo-deutschen Projekt „CleanWater“ entwickeln Forscher gemeinsam mit Industriepartnern ein modulares, ressourceneffizientes Lösungskonzept zur Ermöglichung von Abwasserbehandlung in ländlichen...
Die dänische Give Elementfabrik A/S ist ein führender Anbieter von Beton- und Leichtbetonelementen für die Landwirtschaft und den Industriebau. Das Unternehmen verfügt mit den insgesamt drei...
Modernland, mit seiner Tochtergesellschaft PT. Modern Panel Indonesia einer der führenden indonesischen Bauträger, realisiert derzeit ein neues Wohnungsbauprojekt mit auf Erdbebensicherheit geprüften...
Die Firma Antares Pré-Fabricados wurde 1980 in Jaraguá do Sul im brasilianischen Bundesstaat Santa Catarina von Vilmar Emmendoerfer gegründet und begann zunächst mit der Produktion industrialisierter...
„Hamburger Klassenhäuser“ In Hamburg wächst die Zahl der Schülerinnen und Schüler. Um dem steigenden Bedarf nach Unterrichtsraum gerecht zu werden, hat der städtische Landesbetrieb SBH | Schulbau...
Rector Lesage begann 2018 mit dem Bau einer Produktionseinheit, um seine Produktionskapazität zu erhöhen und seine Produktpalette mit Doppelwänden zu erweitern. Mit dieser Anlage ist nun die...
Mit der Version 2022 setzt die Tragwerks-, Bewehrungs- und Fertigteil-Planungssoftware Strakon von DICAD nach eigenen Angaben in den Bereichen BIM-, Tragwerks-, Architektur- und Brückenplanung neue...
An dieser Stelle veröffentlicht BFT International in Kooperation mit den unten genannten deutschen Verbänden die Position der Organisationen zu einem aktuellen Thema der deutschen oder europäischen...