Paving block system comprising several concrete paving blocks and method for production of a paving block system
(10) DE102023110738A1
(22) 26.04.2023
(43) 31.10.2024
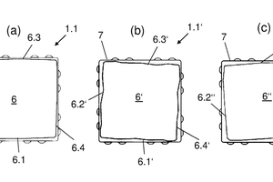
(57) Die Erfindung betrifft ein Pflastersteinsystem (1) und zugehöriges Verfahren, zu dessen Herstellung umfassend mehrere Pflastersteine aus Beton, die jeweils zum Verlegen im Verband in einem zugeordneten Rastermaß ausgebildet sind, bei dem die Pflastersteine mehrere, unterschiedliche Pflastersteinformate (1.1, 1.2, 1.3) aufweisen und jeder Pflasterstein jeweils einen quaderförmigen Pflastersteinkörper (2) mit einer Steinoberseite (3), einer Steinunterseite (4) sowie vier Steinumfangsseiten (5.1 - 5.4) umfasst, wobei die Steinoberseite (3) jeweils parallel zur Steinunterseite (4) verläuft und die Steinoberseite (3) eine von vier oberen Seitenkanten (6.1 - 6.4) gebildete obere Kontur (6) und die Steinunterseite (4) eine von vier unteren Seitenkanten (7.1 - 7.4) gebildete untere Kontur (7) aufweisen, wobei die untere Kontur (7) im Wesentlichen rechteckig oder quadratisch und die obere Kontur (6) eine im Wesentlichen viereckige Grundform aufweist und derart ausgebildet ist, dass bei einer Projektion der oberen Kontur (6) in eine die Steinunterseite (4) aufnehmenden Ebene die obere Kontur (6) vollständig in der unteren Kontur (7) aufgenommen ist. Besonders vorteilhaft weisen die Pflastersteine eines Pflastersteinformats (1.1, 1.2, 1.3) jeweils die gleiche untere Kontur (7), jedoch mehrere, unterschiedlich zueinander ausgebildete obere Konturen (6, 6‘, 6‘‘) auf, wobei die oberen Konturen (6, 6‘, 6‘‘) eines Pflastersteinformats (1.1, 1.2, 1.3) jeweils mehrere unterschiedliche, obere Seitenkanten (6.1 - 6.4) aufweisen, die einen in Draufsicht freihandlinienförmigen und/oder gezackten Kantenverlauf aufweisen.
(71) Godelmann GmbH & Co. KG, DE



 
						 
									

 
									 
									 
									 
									