Modular concrete foundation
(10) US2023022855 (A1)
(22) 28.06.2022
(43) 26.01.2023
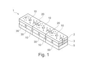
(57) A modular foundation including plurality of prefabricated concrete modules defining an upper layer of modules including at least one internal passage opening onto at least its upper and lower faces, at least one lower layer of modules on which the upper layer at least partially rests, including at least one internal passage opening onto at least one of its sides and onto at least its upper face, this internal passage communicating at the level of the interface between the upper layer and the lower layer(s) with the internal passage of the upper layer in such a manner as to form at least one global internal passage in the foundation opening onto at least one side and onto at least the upper face of the foundation.
(71) Stations E [FR]
