Auch in dieser Ihnen vorliegenden BFT 5/2021 versuchen wir, liebe Leser:innen, Ihnen eine möglichst bunte Themenvielfalt anzubieten. Dem zentralen Schwerpunkt der alljährlichen Maiausgabe geschuldet,...
Die Kanzlei der Deutschen Botschaft in Paris liegt im 8. Arrondissement ziemlich zentral auf der Rückseite des Grand Palais und nur wenige Schritte vom Champs-Élysées entfernt. Das in...
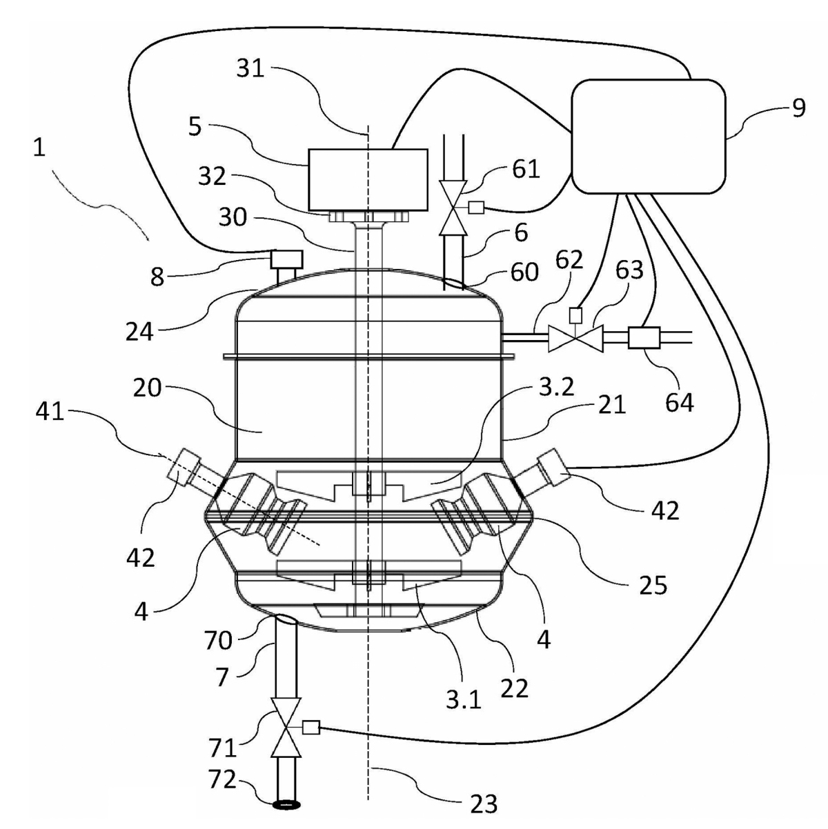
Die Firma B.T. innovation GmbH und ihre Mitarbeiter stehen seit vielen Jahren für die Entwicklung von bahnbrechenden Produkten für die Bau- und Fertigteilbranche. Ein Rückblick auf die nunmehr...
Experten von Master Builders Solutions haben die neue Lösung MasterSuna RCA entwickelt, die nun die Herstellung von Standardbeton mit bis zu 100 % rezyklierter Gesteinskörnung erlaubt. Damit werden...
Das Unternehmen Rehm Kies- & Betonwerk GmbH & Co. KG mit seinem Hauptsitz in Lottstetten beschäftigt sich seit über 50 Jahren erfolgreich mit der Gewinnung, Aufbereitung und dem Vertrieb von Sand und...
PT Bonna Indonesia, Spezialanbieter von Stahlbetondruckrohren (RCCP) und eine Tochtergesellschaft der Consolis-Gruppe, einem führenden Hersteller von Betonfertigteillösungen in Europa, liefert 7 km...
Um im Münchner Westen eine wesentliche Verbesserung der hydraulischen Situation im Entwässerungsnetz zu erreichen, wurden im Rahmen der „Kanalnetzsanierung Landsberger Straße“ auf einer insgesamt...
Der Ausbau des Berg River Boulevard und der Oosbosch Street in Paarl in der südafrikanischen Provinz Westkap umfasst auch ein Brückenverbreiterungsvorhaben mit Betonfertigteilträgern, das im August...
Die Eurobend GmbH bietet das umfassendste Sortiment an Mattenschweißlinien für die Herstellung von Matten aller Art, die im Fertigteilbetrieb und im Baubereich eingesetzt werden. Neben dem breiten...
Mit dem Ultraschallvormischer von Sonocrete wird Beton schneller fest. Betonfertigteile können früher entschalt oder mit nachhaltigeren Zementen oder weniger Wärme und damit klimafreundlicher...
Die Firma Budova, ein anerkanntes führendes Unternehmen im Bereich Wohnungsbau in Odessa, gehört zu den größten Bauunternehmen in der Südukraine. In seiner 30-jährigen Firmengeschichte hat Budova rund...
Die Firma Contiga A/S ist einer der größten Hersteller von Betonfertigteilen in Skandinavien. Die umfangreiche Produktpalette umfasst u. a. Wandelemente, Hohllochdecken, Stützen und Balken. Der...
Die Schwörer Bausysteme GmbH produziert in Haigerloch-Stetten u. a. Qualitätskeller, Plattendecken, Fertigteiltreppen, Beton-Sonderteile und Fertiggaragen. Die Automatisierung im Betonfertigteilwerk...
Priamos by GTSdata hat den Anspruch, nicht nur Maschinen mit einzelnen Prozessen digital zu vernetzen, sondern auch deren digitale Integration in ein umfassendes Firmennetz mit Konnektoren zur...
Sowohl im Ortbeton- als auch im Fertigteilsektor kommen massive Betonbauteile zum Einsatz, die hohe Hydratationswärme und damit rissbildende Spannungen entwickeln können. Um drastische Schäden am...
Bevor er auf dem Bau eingesetzt werden kann, muss Betonstahl, wahlweise vom Ring oder in Stangenform mit bis zu 50 mm Durchmesser, präzise gerichtet, geschnitten und zurechtgebogen werden. Für die...
Alljährlich ehrt das Berufsförderungswerk für die Beton- und Fertigteilhersteller e. V. (BBF), Ostfildern, und die Eberhard-Schöck-Stiftung (ESST), Baden-Baden, die besten Azubis in den...
Zement und Beton im Fokus: Der Zement- und Betonexperte Rainer Nobis hat ein reich bebildertes, unterhaltsames Sachbuch geschrieben: “Illustrierte Geschichte des Zements und Betons – die spannende...