Waterproof plate module of precast concrete and method of manufacturing the module
(10) KR20250106794
(22) 04.01.2024
(43) 11.07.2025
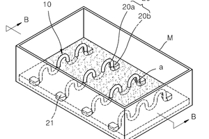
(57) The module and method include a waterproofing layer including an adhesive resin and inorganic particles, an anchor portion standing upright on the waterproofing layer, and a concrete plate poured to cover the waterproofing layer and the anchor portion, wherein the inorganic particles are mixed into the adhesive resin while being heated to a curing acceleration temperature that cures a hardener.
(71) Park, SEO Jun, KR
