Structure protection sheet, concrete block, and method for
manufacturing reinforced structure
(10) EP4116087A1
(22) 02.03.2021; (43) 11.03.2023
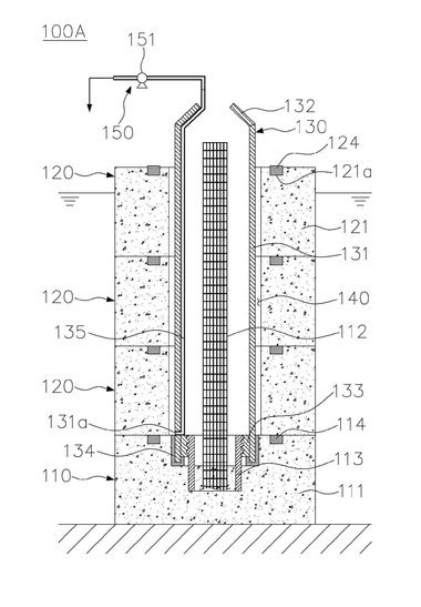
(57) The present invention provides a structure protection sheet capable of dramatically reducing a construction period to place protective layers on surfaces of structures such as concrete, protecting the structures for a long time, preventing swelling phenomena caused by water vapor inside the concrete, and preventing a decrease in attachability. The present invention relates to a structure protection sheet including: a polymer cement cured layer on a side facing a structure; and a resin layer on the polymer cement cured layer, the structure protection sheet having a water vapor transmission rate of 10 to 50 g/m2·day.
(71) Keiwa INC, Tokyo
