Method and tooling for the manufacture of precast prestressed concrete parts, in particular prestressed concrete sleepers or ...
(11) EP 3 109 021 Al
(22) 07.06.2016
(43) 28.12.2016 Patentblatt 2016/52
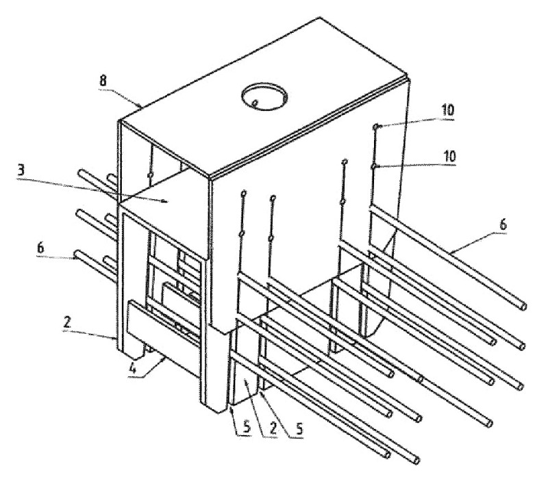
(57) Die Erfindung betrifft ein Verfahren und eine Vorrichtung zur Herstellung von Spannbetonfertigteilen, insbesondere Spannbetonschwellen oder Spannbetonweichenschwellen, wobei in mindestens einem Formenbett mehrere Formteile durch Gießen erzeugt werden und das Formenbett eine Vielzahl von Spannstählen (6) aufnimmt, zwischen den Formteilen und in den Endbereichen des Formenbetts Abstellkasten (1) eingesetzt sind, um einerseits die Lage der Spannstähle (6) und die Geometrie des Formteils bestimmende Formenbleche während...
