Construction set and process for erecting
building by the precast construction method
(10) DE 10 2013 201 732 A1
(22) 04.02.2013
(43) 07.08.2014
(71) Baumeister & Sapper Engineering Ltd., 41844, Wegberg, DE
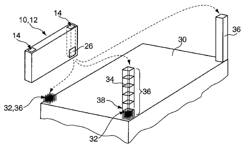
(57) Die Erfindung betrifft einen Bausatz (10) zur Montage von Gebäuden in Fertigteilbauweise, mit mindestens zwei vorgefertigten Wandelementen (12), in die jeweils mindestens ein durchgängiger Schacht (14) integriert ist und/oder durch die ein durchgängiger Schacht (14) durch aneinander stoßende Seitenränder zweier Wandelemente (12) gebildet ist. Die Erfindung betrifft ferner ein Verfahren zur Montage eines ein- oder mehrgeschossigen Gebäudes anhand eines derartigen Bausatzes...
