One or the other of you, dear readers, may possibly no longer want to hear or read this anymore – but the COVID-19 pandemic with all its known effects on professional and personal life is...
To better meet the market requirements in south and east Asia, Topwerk establishes Topwerk Asia in Ho Chi Minh City. With this location in the economic centre of Vietnam, the Group is consistently...
In the September issue (BFT 9/2021, pp. 8/9) we reported on the newly elected Executive Board of the Syspro-Gruppe Betonbauteile, as well as on the Group’s joining the “SolidUnit” network. At the end...
Founded in July of 1961 by Martin and Gerhard Würschum and continued, in 1998, by Hubert and Volker Würschum, the third generation will now be actively involved in shaping the future of Würschum GmbH....
Afinitas, the leading global infrastructure equipment and services company, announced today that it has acquired Caswick Limited, a leading manufacturer of access and sealing products for the precast...
F.C. Nüdling is consequently committed to a carbon-neutral production. The company headquartered in Fulda, Germany, now had its carbon footprint certified by the Fokus Zukunft sustainability...
Helmut Faber joined the company Scholz in September of 1996. He had brought to Scholz extensive know-how about the subject of coloring concrete. At that time, his customers profited from his broad...
The name of Osnabrück-based Pion AG says it all: “pion” is French for “playing piece”, and that’s exactly what the stylish charging stations for electrical vehicles look like. They have meanwhile been...
White cement is not simply cement with a different color. It is a special building material that allows architectural visions to be realized. Cement producer CRH (Slovensko) a. s. North Danube, which...
WetCast products are among the high-end products in the portfolio of manufacturers. The nearly unlimited freedom in shape and coloring creates concrete products with superior surfaces. In addition,...
Ferrobeton Zrt. is one of the largest companies nationwide producing concrete and reinforced concrete elements and a key player in the prefabrication of reinforced concrete in Hungary. From planning...
In mid-June 2021, Aachen Building Experts e.V. (ABE) hosted a short conference at the premises of Aachen-based Lucem GmbH, the well-known manufacturer of light-transmitting concrete products. The ABE...
Brüninghoff is now expanding its location in Heiden considerably by a new precast concrete plant. However, in this regard, it is not the size that is a decisive factor – on the contrary, it is the...
The construction sector is still unjustifiably associated with the image of being somewhat outmoded. The sector is often seen as being not very innovative and technologically backward. Potentials such...
Established in 1950 as a masonry block and hollow core slab producer with ten employees in Plaidt, Romey Baustoffwerke has evolved to become a well-known industry player currently employing about 240...
The striking Edge ElbSide office building under construction at the eastern entrance to Hamburg’s HafenCity is a new landmark for the Hanseatic City. The 18-story building with a total rental space of...
ANDECE presents in the magazine CementoHormigón a series of recent works in cases where the use of precast concrete elements has contributed to the latter to meet requirements such as faster...
Already in issue 7/2021, BFT International reported on an interview with Wolfgang Salmen, Manager Product Technology Mortars & Admixtures Europe, and Maximilian Möllhoff, Manager Sales Admixtures...
The decarbonization process has long since been initiated by the cement industry and subsequently by concrete manufacturers, who have developed CO2-reduced concrete. The following article highlights...
Policymaking by competition on sustainability parameters (John-Erik Reiersen & Löfsjögård)Europe is transforming rapidly, from traditional to value-based competition. How does that affect the play...
(11) HRP20210870 (T1) (22) 23.07.2021(57) The invention relates to a form work (1) for producing concrete products comprising at least one supporting beam (10) with an axis of extension (X), at least...
(10) DE 10 2020 135 107 A1 (22) 30.12.2020(43) 15.07.2021(57) Die Erfindung betrifft ein begehbares oder befahrbares Bodenelement aus Beton, insbesondere Betonstein, das wenigstens eine...
(10) DE 10 2020 200 600 A1 (22) 20.01.2020(43) 22.07.2021(57) Die Erfindung betrifft ein Verfahren zur Instandsetzung einer Stahlbetonbauteil-Anordnung (1), umfassend zumindest ein Stahlbetonbauteil...
(10) DE 20 2021 102 847 U1 (22) 26.05.2021(45) 15.07.2021(57) Futtertisch (100) in Form eines monolithisch aufgebauten Betonfertigteils, geformt aus einem waagrechten Teil (102), an das sich...
(11) EP 3 851 581 Al(22) 14.01.2021(43) 21.07.2021 Patentblatt 2021/2957) Die Erfindung betrifft einen Pflasterstein aus Beton in Form eines im Verbund verlegbaren Flächenelementes zur Erstellung...
(10) DE 10 2020 131 596 A1 (22) 30.11.2020(43) 29.07.2021(57) Zu einer nachträglichen oder geplanten Sicherung einer randnah in einem Bauwerksteil (5) aus Beton angeordneten C-Profilschiene (2)...
(10) DE 10 2020 101 125 A1 (22) 19.01.2020(43) 22.07.2021(57) Die Erfindung betrifft ein Positioniermittel für wenigstens eine textile Bewehrungslage (2) eines Betonbauteils (10), das...
(10) DE 10 2020 100 860 A1 (22) 15.01.2020(43) 15.07.2021(57) Die Erfindung betrifft einen Pflasterstein aus Beton in Form eines im Verbund verlegbaren Flächen-elementes zur Erstellung eines...
(10) DE 10 2020 109 531 B3 (22) 06.04.2020(45) 29.07.2021(57) Beschrieben wird ein Schalungssystem für den Betonbau aufweisend ein Schalungselement 1 und zumindest eine Abhängung 2, wobei das...
(10) US 2021/0206696 Al (22) 16.03.2021(43) 08.07.2021(57) The present description relates to a method of producing a wet-cast slag-based concrete product particularly where the wet-cast slag-based...
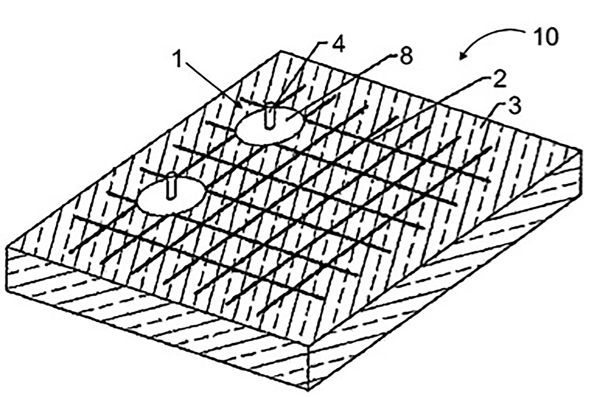
(13) „9,GB „2589617(22) 05.12.2019(43) 09.06.2021(57) The building structure comprises a concrete subfloor 10, external cavity walls 2 with skins 4,6 separated by a cavity containing bead insulation 8...