Some publications hold a very special place in our heart. Our yearbook “Jahrbuch Beton Bauteile” – Concrete Structural Elements – is such a project. Perhaps because it allows us for a short time to...
Afinitas, the leading global infrastructure equipment and services company, recently announced that it completed the acquisition of RJ Watson, Inc., a key provider of engineered structural products...
With their MABA Fertigteilindustrie GmbH company, Kirchdorfer Group is participating in the construction of the Semmering Base Tunnel. On behalf of ARGE FF SBT 5.1 consisting of the Porr Group and the...
India’s construction sector is at a turning point, with mega-projects reshaping cities and an urgent need for speed, quality, and sustainability. To support this transformation, Elematic Oyj, a global...
With its unique combination of a high-caliber technical program, accompanying exhibition, and networking opportunities, the BetonTage are considered the most important training and communication...
In 2020, Axel Schneider began as Managing Director of C&G Pigment Europe, developing the European business for iron oxide pigments for his company. After these five years, the BFT editorial team asked...
The building material engineers at HMP & QSI GmbH have been a reliable and experienced partner in the fields of building material technology, quality assurance, building inspection, and damage...
Who is looking at a concrete façade on a rainy day in autumn, will occasionally see dark stains which may turn into permanent damages in the course of time. When it comes to protect the material,...
The Steypustöðin company had already started operations in 1947, thus paving the way for civil engineering in Iceland. Since that time, the production of fresh concrete as well as of concrete slabs...
The success story of Paul Maschinenfabrik began in 1925, when Max Paul set up a mechanical workshop in his father‘s facility in the German town of Dürmentingen. For a start, he manufactured special...
Holcim is active in pioneering work for the regeneration of oceans. In a pilot project, Holcim installed an artificial reef, approximately 20-m long, in Kiel-Friedrichsort, in the German federal state...
MBT Construction Chemicals, a leading provider of advanced construction solutions and part of the Master Builders Solutions Group, proudly announces the inauguration of its new state-of-the-art...
Betonwerk Kunaschk GmbH, based in Neschwitz, Saxony, is a family-run company with many years of experience in the manufacture of high-quality concrete products and precast concrete elements. With two...
With new, modular concrete production techniques that enable high-precision ex-works at low production, transport, and erection costs, magnetic levitation train technology is being touted as a robust...
More house per hour, lower costs per square meter, reproducible as often as desired, with a reduced carbon footprint – and, as a building type optimized for 3D printing, available to everyone for the...
Lammers Beton has emerged as a leading company in precast concrete production through automating its machinery and using software solutions. Founded in 1987, the business currently operates three...
With its Easycleaner, Pucest Protect GmbH has developed and launched an efficient cleaning system for concrete mixing plants that is ready for series production. In practice, this innovative,...
Austria‘s tallest residential tower „Danube Flats“ sets new standards in terms of design and architecture. The high loads of the surrounding balconies are reliably transferred by Schöck Isokorb. With...
Based in Brazil’s southernmost state of Rio Grande do Sul, Torri Engenharia e Saneamento considers itself to be both a concrete producer and a supplier. Its product range includes precast elements for...
A new single-family home in Kleinmachnow, near Berlin, combines sophisticated architecture, a maximum of living comfort, and outstanding energy efficiency. The building envelope of Liapor...
A project in the city of Mönchengladbach on the Lower Rhine River demonstrates how high quality standards can be combined with efficient construction. An apartment building comprising 19 fully...
(10) US2025262797A1(22) 25.04.2025; (43) 21.08.2025(57) A method for manufacturing a precast concrete utility vault is disclosed, focusing on fabricating a single-piece, rectangular lower riser...
(10) US12398730B1(22) 30.05.2024(43) 26.08.2025(57) A dual channel volute of a concrete volute pump (CVP) is prefabricated and then transported and assembled to its base at the application site. A...
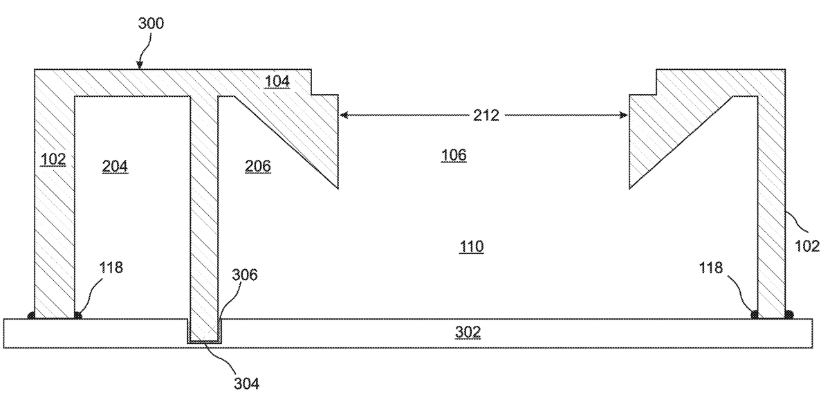
(10) CN120190892(22) 26.05.2025(43) 24.06.2025(57) The invention discloses a processing mold and a preparation method of an underground gas storage concrete sealing tank model, and relates to the...
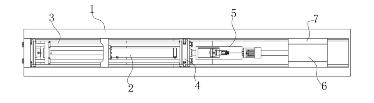
(10) CN120170901(22) 22.05.2025(43) 20.06.2025(57) The invention provides a cutting device for concrete block machining, and belongs to the technical field of concrete block machining, the cutting...
(10) CN120142157(22) 15.05.2025(43) 13.06.2025(57) The invention discloses a platform for testing the bonding performance of a reinforced concrete test block in an engineering environment, and relates...
(10) CN119777538(22) 14.11.2025(43) 08.04.2025(57) The invention discloses a prefabricated concrete mixed component and a connecting method thereof. The prefabricated concrete mixed component...
(10) DE202025102984U1(22) 28.05.2025(43) 01.07.2025(57) Unterlagsplatte (10) für die Betonsteinindustrie, insbesondere zur Aufnahme von entschalten Betonsteinen (50) im Nasszustand, wobei...
(10) DE102024104556A1(22) 19.02.2024(43) 21.08.2025(57) Die Erfindung betrifft ein Anschlusselement (13) zum Anschließen einer Deckenplatte (10) mit wenigstens einem Hohlraum (11) an einen Sturz. Um...
(10) EP3971362A1(22) 25.03.2020(43) 23.03.2022(57) The present invention relates to a combination structure of permanent forms and a prefabricated steel assembly for a steel concrete composite member,...