since the format used last year at the CCU Ulm has proved successful,we want to use it again and develop it further. We have added many new elements to enable us to offer even better service to our...
As all are aware, concrete is an indispensable and highly versatile material that plays a crucial role in modern society. It has been an integral part of countless infrastructure projects throughout...
on December 9, 2022, the Gesellschaft für deutsche Sprache (German Language Society) selected “Zeitenwende” as the word of the year 2022. This term refers to a change or transition in society, or to a...
Dear European Colleagues,in the name of BIBM, the Federation of the European Precast Concrete Industry, I welcome all of you at the 67. BetonTage congress.In these times of turmoil and fast changes,...
Germany has a high-performance infrastructure. Maintaining, renewing and expanding it in line with demand is one of the most important tasks to be solved in order to retain the attractiveness of...
Particularly in precast construction, which is characterized by its cost effectiveness, high-quality production alternatives, including self-compacting concrete, open up a wide range of opportunities...
Now that the pandemic is no longer making the headlines, the omnipresent effects of global warming have rightly been receiving much public attention over the last few months.After several years of...
The construction industry fulfils basic human needs and is thus one of the cornerstones of our economy. However, the sector also contributes significantly to greenhouse gas emissions. According to the...
The team from the Büscher group of companies de-monstrated that both load-bearing and non-load-bearing interior walls can be ma-nufactured exclu-sively with demo-lition materialsand used in build-ing...
The existing challenges in urban development owing to heavy rainfall, urban heat islands and long drought periods will be enhanced due to the consequences of climate change in the future. The concept...
Every day thousands of square meters are newly sealed or renewed. These days, road surfaces are selected largely according to technical road construction requirements; in inner-city areas, design...
Concrete became the most commonly used building material in the world due to its versatility, its moldability, its load-bearing capacity and its durability. Correspondingly, special emphasis is also...
In 2022, the project bearing that title was conducted for the German Concrete Association Road, Landscape and Garden Construction (SLG) and in close exchange with the industry. The presentation...
The wide range of concrete products prefabricated at the factory offered for the surfacing of traffic areas as well as the demands on respective block pavements and slab pavements have increased...
The code of practice on pavements using concrete blocks and slabs in unbound design (M FP) published by FGSV (Forschungsgesellschaft für Straßen- und Verkehrswesen - German Research Association for...
Concrete is the construction material of the last century – and rightly so!Today, in the 21st century, the requirements placed on our construction materials have increased. This concerns both the...
“Those who measure, measure crap.” Has this ever happened to you? Individual experiences range from annoying to dangerous. Measurement methods for determining material moisture contribute to...
Welcome to the world of carbon-reinforced concrete construction!This presentation will address the potentials of carbon-reinforced concrete construction.In concrete with non-metallic types of...
Geopolymer concrete is a promising alternative to traditional Portland cement-based materials due to its superior environmental performance. Life cycle assessment studies have shown that geopolymer...
For more than 90 years, Dyckerhoff Weiss has continually contributed fresh ideas to building and designing with concrete. Differentiating between grades (“Starke Typen von Dyckerhoff Weiss”) made it...
Integrating laser projection systems already provides measurable benefits in precast element production, such as speeding up the process and avoiding errors and, consequently, rejects. The systems’...
Deadline and cost pressure, shortage of materials and skilled labor, and calls for increased sustainability – the construction industry is facing enormous challenges. Digital construction processes...
According to the records of the German Meteorological Service (Deutscher Wetterdienst; DWD), the summer of 2022 was the sunniest, third-hottest and fifth-driest ever since weather documentation began....
In recent years, the demand for high-quality, free-form precast elements has increased continuously. Polystyrene milling is a leading manufacturing technology for producing the necessary shapes....
Over the past few years, building regulations have become more open to constructions and surfaces made of combustible materials such as timber. From a fire safety perspective, however, load-bearing...
In 2019, the decision was made to establish the carbon-reinforced concrete pilot program with its Dresden, Aachen and Leipzig sites. In Leipzig, the Institute of Concrete Construction at Leipzig...
Against the backdrop of climate change, reducing carbon emissionsin cement and concrete production is one of the major challengesin the construction industry. Beside process engineeringapproaches such...
The processing and use of secondary raw materials opens up a huge potential for meeting the constantly increasing demand for raw materials in the construction industry. Besides saving primary...
Holistic system approaches for constructing climate-neutral buildings and neighborhoods are being developed and tested in a number of major collaborative projects funded by the Federal Ministry for...
Volume 2 of the DBV (German Society for Concrete and Construction Technology) series of publications No. 50 (Fig. 1) on sustainable and resource-efficient concrete construction is an initial...
Punching shear verification is often the most relevant verification in the design of flat slabs due to the bending and shear stresses occurring above the concentrated supports. In addition,...
The sealing effect of the “pre-applied bonded membrane” type of construction is based on the full-surface waterproof bond bet-ween the pre-applied bonded membranes and the fresh waterproof concrete....
The guideline “Precast concrete elements with non-metallic reinforcement” compiled by the German Committee for Reinforced Concrete (Deutscher Ausschuss für Stahlbeton [DAfStb]) is expected to be...
The guideline “Precast elements with non-metallic reinforcement” compiled by the German Committee for Reinforced Concrete (DAfStb) is expected to be published as a standard (white print) in 2023. Its...
The future of fiber-reinforced composites in the construction industry refers to the use of materials such as glass fibers, carbon fibers, basalt fibers and natural fibers that are bonded to a matrix...
Climate change is the biggest challenge both for current and future generations. For the construction industry, this means, in concrete terms, that we need to increase resource efficiency. Several...
Versatility, moldability, loadbearing capacity and durability have made concrete the world’s most widely used construction material. For that reason, the environmental impact resulting from the...
The climate protection aims of the German government call for fast and effective action for conversion to CO2-neutral production methods. For the industrial area of action, amendment of the German...
The construction and real-estate sector is the largest user of the world’s raw materials and is the source of immense waste. At the same time, most greenhouse gas emissions are moreover created in the...
Today, it is compulsory that construction projects have to be designed and executed in consideration of sustainability criteria. This requirement has become binding with Directive 2014/24/EU of the...
The number of environmental certification programs is enormous. All of them are focusingon supporting sustainable construction with the aid of a specific rating system. In additionto certifications...
The Technical University of Vienna (TU Wien) has developed a new construction method for the fast and material-efficient construction of post-tensioned concrete bridges. The development of the LT...
The majority of concrete bridges in use in Germany are in extremely poor condition and must be replaced in the near future. The construction of new build bridges, however, entails immense CO2...
High performance capability of transport infrastructure at a time of ever-increasing passenger and freight transport is of critical significance for Germany as a business location. Numerous...
Stairs are surely among the most challenging of the large variety of structural precast elements, both for planners and producers. In addition to their function as connection between floors, further...
The new Jordahl JTB-LA channel with perforated anchors for attaching trapezoidal sheet metal, approved by the German Institute for Construction Engineering (DiBt), enables reliable transfer of forces...
A high-performance insulating board made of Resol rigid foam revolutionizes construction with precast concrete elements.What – in terms of production engineering – are the benefits of Kooltherm K20...
A valuation principle is part of every product approval. The European Assessment Document (EAD) describes the scope, the verification requirements, the test setup and the analysis of the results. A...
Cast stones manufactured in compliance with DIN 18500-2 and standard DIN 18516-5 regarding façades made of cast stone, respectively, make a contribution to decarbonization, resource-conservation,...
Under the umbrella “Wine meets Architecture”, the architect and daughter of the house, Jil Bentz of the architecture firm Studio Jil Bentz, develops together with the winery Domaine Claude Bentz an...
In 2020, we received an inquiry to participate in the Sports Center façade project of Vytautas Magnus University. The Sports Center is named after Valdas Adamkus, the former Lithuanian president and...
Fair-faced concrete construction is an irreplaceable stylistic device, in particular, for the design of prestigious building structures made of concrete. Despite the growing variety of possibilities...
In the heart of the German capital a building is currently going up that in terms of sustainability is in a class all of is own. The Edge East Side Berlin skyscraper of 142 m height with an office...
Goldbeck GmbH is one of the major and most innovative construction companies in Europe. It is therefore hardly surprising that Goldbeck is also at the forefront of the topic of “sustainable building...
The high demand for construction materials, together with large overall quantities and limited availability, have an increasingly adverse impact on eco-systems and lead to loss of land....
Concrete is one of the most versatile construction materials of our time. As structural building material it is comprehensively standardized and regulated. But concrete often also serves for designing...
Now that the pandemic is no longer making the headlines, the omnipresent effects of global warming have rightly been receiving much public attention over the last few months.After several years of...
Under the umbrella “Wine meets Architecture”, the architect and daughter of the house, Jil Bentz of the architecture firm Studio Jil Bentz, developstogether with the winery Domaine Claude Bentz an...
The non-metallic reinforcements offered in the market at present are above all available in a planar shape – that is to say as straight bars or grids. Non-metallic, shaped reinforcements such as...
Making construction more sustainable – that is the challenge! So that this is successful, a fundamental transformation is needed in the construction industry. The material carbon-reinforced concrete...
Damages caused on concrete constructions range from simple crack formation through to the ingress of water, corrosion damages, defective building joints and surface damages. With the aid of resistive...
Because of the minimum concrete cover, the previous minimum thickness of façade panels made of steel-reinforced concrete amounts to 7.0 cm, with the façade anchor plates being approved by building...
Due to its advantages, carbon-reinforced concrete has already provento be a valuable alternative to conventional concrete constructions and offers great potential for construction in a...
The ultra-high performance fiber building material, a pure mineral concrete matrix in combination with steel fibers, is one of the standardized and common building materials in Switzerland. On the...
Apart from many advantages as against reinforcement steel, the high materials costs are a crucial disadvantage of carbon reinforcement. Therefore, it is reasonable to develop manufacturing methods...
The CPC construction method is based on a totally new approach in load-bearing concrete construction and it differs from the conventional reinforced-concrete construction method fundamentally....
In recent years, numerous precast components and struc-tures have been produced with non-metallic reinforcement, including façades, bridges, and a full-fledged house.At the outset, the process of...
Starting in 2024, the Corporate Sustainability Reporting Directive (CSRD) will gradually require a significantly larger number of companies to make disclosures on environmental, social and governance...
The built environment is the basis for any societal development; it is subject to a constant drive for change and renewal. Due to their long life cycles, buildings and structures have a lasting impact...
The construction industry generates 38 % of global carbon emissions, and therefore has a special responsibility to act. It is for this reason that Bürkle Betonfertigteile GmbH & Co. KG was interested...
If you ask companies in the building materials and minerals industries what the most pressing problem of the future is, you will get only one answer: How do I find suitable employees and how do I...
Contracts entered into in times of uncertainty entail significant risks for both parties. The impacts of both the COVID-19 pandemic and the war in Ukraine have recently become tangible in construction...
Social media platforms and networks such as LinkedIn are today counted among the indispensable sales channels in the marketing mix. Via these channels the coverage is greater and offers the...
In the field of wall construction materials, material-related goals have led to the development of insulation materials that are inorganic and suitable for recycling on the one hand while providing...
With the future DIN 1045-2 standard, concretes containing recycled aggregates according to DIN EN 12620 will be transferred into the new concept of concrete classes. As before, the general rules will...
With the European Green Deal, the European Commission has presented an action plan that envisages a more efficient use of resources and the transition to a clean and circular economy in less than a...
The new laboratory cube at the precast plant Meier Betonwerke in Lauterhofen, in Bavaria near Nuremberg, is 23 m long, 10 m wide and 4.25 m high. Insiders know that this rather inconspicuous one-story...
The Brüninghoff Group precast plant at its Heiden location is oriented to sustainable production. To achieve this objective, the specialist in hybrid construction uses an environmentally friendly...
Sustainability: This concept of environmental responsibility and renewability is at the forefront of many minds today. When it comes to construction, multiple pieces play into this puzzle, especially...
Masa is a manufacturer of efficiant and durable production plants for the building materials industry. The quality of the final products manufactured in these plants is influenced by many factors....
Since 1967 MCT Italy has been managing the complexity of the production cycle, transport and distribution of concrete, developing for the customer integrated and customized technological systems in...
South Africa’s largest abalone producer, Abagold, has installed drainage channels constructed with precast concrete sections manufactured by CMA member, Concrete Units. The installation forms part of...
Eurobend has more than 30 years of experience in the construction of CNC controlled machines and offers a wide range of equipment for the rebar processing, such as 2D and 3D automatic stirrup bender,...
The Bludenz recycling yard on Klarenbrunnstraße being just completed features a particular flat roof: It is 32.5 % lighter than comparable concrete roof slabs. In this way, 33 tons of greenhouse gases...
B+S Engineering GmbH specializes in the production of molds and machines for the precast concrete industry and supplies plants all over the world. After the eight-month rebuild phase and the...
Dwindling growth forecasts, strained supply chains and escalating material costs – new (and old) challenges place heavy demands on producers in the precast concrete industry. Ratec, from its base in...
Methodology to evaluate the service life of concrete elements (José Rodriguez Soalleiro)Two alternative methods based on recent Spanish standards that allow to calculate the expected service life of...
(10) CN114108846 (A)(22) 22.12.2021(43) 01.03.2022(57) The invention discloses a concrete prefabricated part connecting structure which comprises a concrete prefabricated wall plate and further...
(10) CN114319718A(22) 30.09.2020(43) 12.04.2022(57) The invention belongs to the technical field of structural engineering, and particularly discloses a steel prestressed concrete composite beam and a...
(10) CN114922054(22) 31.05.2022(43) 19.08.2022(57) The invention discloses a prestressed steel-concrete bearing platform structure of a continuous rigid frame bridge and a construction method of the...
(10) DE102009001203B4(22) 26.02.2009(43) 30.03.2023(57) Verwahreinrichtung (100) für Seilschlaufen (20), und mit einem Verwahrkasten (10), der mindestens ein Klemmteil und eine Seilöse (21) der...
(10) DE102021004266A1(22) 28.08.2021(43) 02.03.2023(57) Das erfindungsgemäße Leitplanken-/Schutzplanken-„System“ besteht im Wesentlichen aus einem mobilen Leitplanken-/Schutzplanken-„Körper“ (s....
(10) DE102021004840A1(22) 24.09.2021(43) 30.03.2023(57) Verfahren und eine Vorrichtung zur Überwachung des Lebenszyklus von Bauwerken aus monotithischen Beton oder Betonelementen vorzugsweise im...
(10) DE102021123993A1(22) 16.09.2021(43) 16.03.2023(57) Die vorliegende Erfindung betrifft einen Bausatz (1) zur Herstellung eines Hohlkörpers (10) zur Integration in ein Bauteil, vorzugsweise...
(10) DE102021125394A1(22) 30.09.2021(43) 30.03.2023(57) Die Erfindung betrifft eine Betonstein-Herstellvorrichtung (10) und ein Herstellverfahren zur Verteilung von rieselfähigem Material (40),...
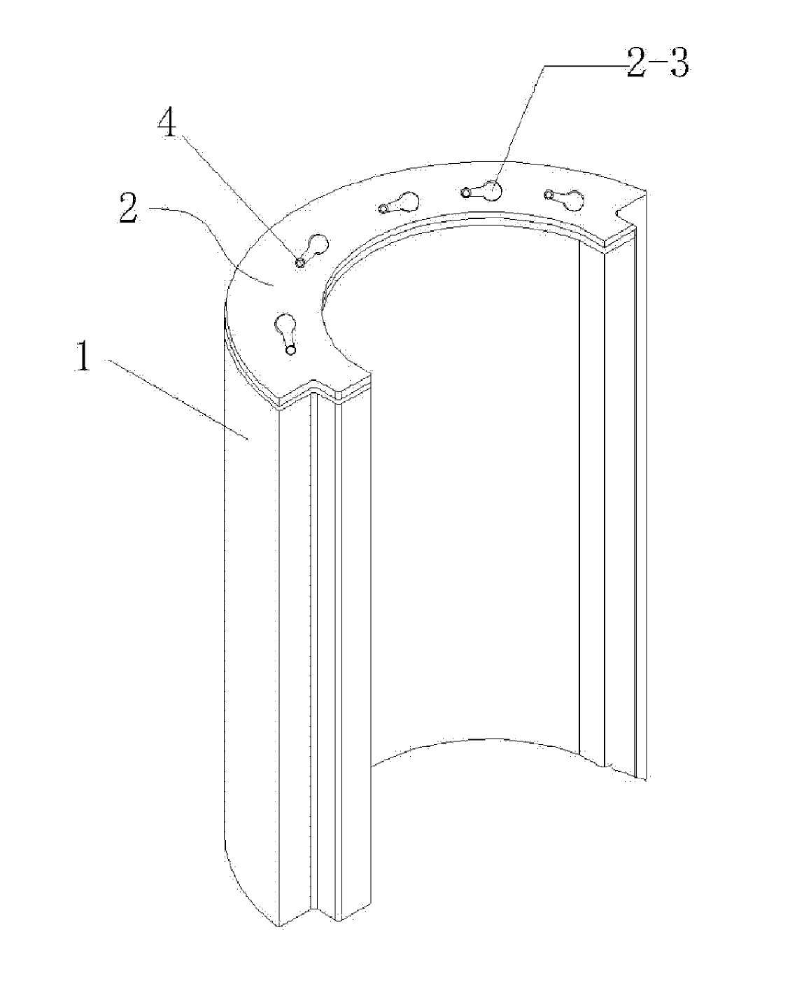
(10) DE202021003260U1(22) 20.10.2021(43) 09.03.2023(57) Betonfertigteil (1), insbesondere zum Bau von Parkhäusern, wobei das Betonfertigteil (1) einen Beton und eine zumindest teilweise innerhalb des...
(10) DE202023100527U1(22) 03.02.2023(43) 30.03.2023(57) Betonstein (1) mit einem im Wesentlichen L-förmigen Querschnitt, insbesondere zur Erstellung eines begrenzenden Steinverbundes, umfassend...
(10) WO2023030213A1(22) 29.08.2022(43) 09.03.2023(57) Provided are a prestressed concrete support pile and a production method therefor, comprising a wave-shaped concrete pile body and a connecting...