Great events cast their shadows ahead. In my last greetings to you, dear readers, there was already repeated mention of important dates – concerning industry meetings, specialist congresses and...
Developed by US inventor and civil engineer Michael Butler, the new admix allows for the rapid vertical buildability of concrete at a low dose. 3D-Admix consists of water-reactive solids highly...
The Glatthaar Group, headquartered in Schramberg-Waldmössingen in Germany, has successfully completed the business year of 2022. The overall turnover of the Glatthaar Group increased to 266 million...
A Libyan Construction Company saw Elkon concrete equipments in many different places in Libya. The customer located in Tripoli understand the quality and heavy duty design of Elkon.The company after...
Master Builders Solutions is launching MasterSphere, according to the supplier, a revolutionary air entraining admixture, in Germany and Switzerland. The innovative technology is based on specially...
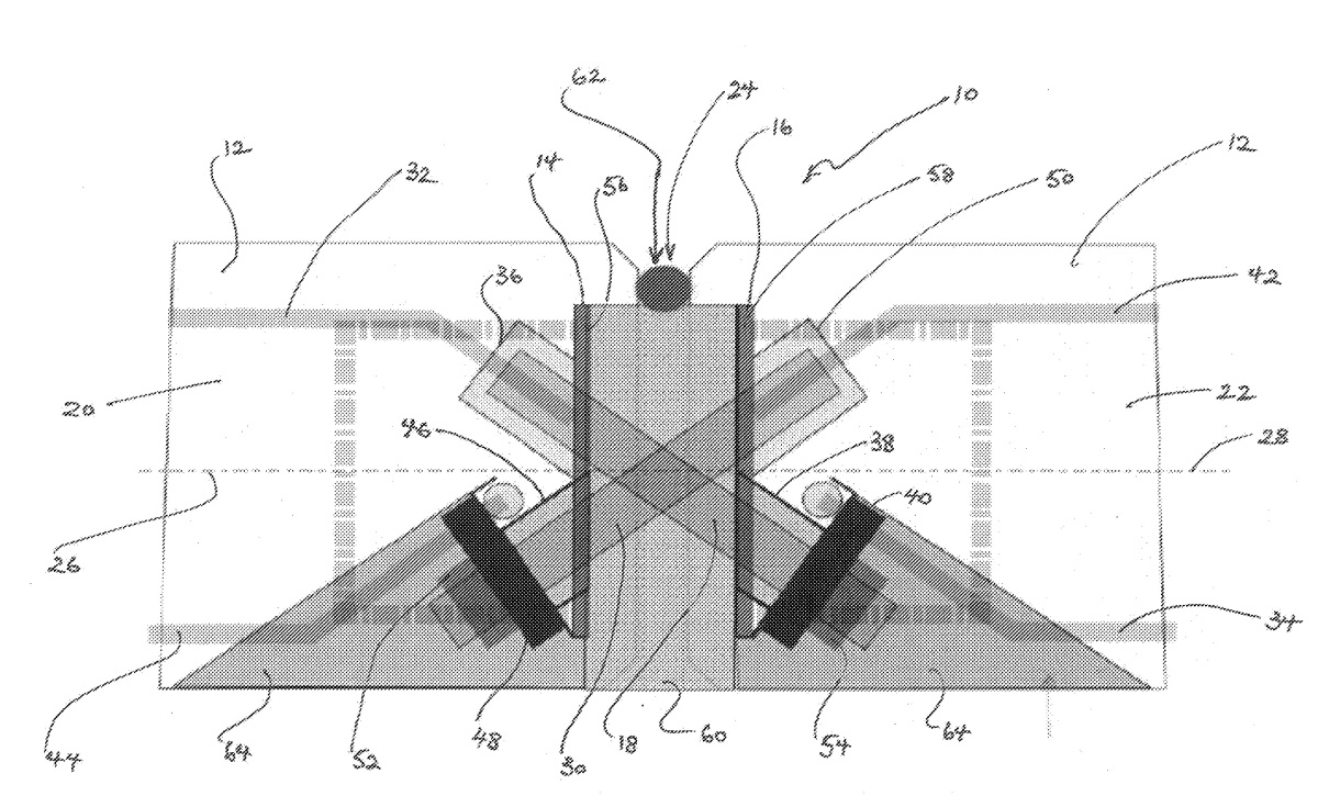
In the construction of new buildings, the conduits for building ventilation can be integrated into the concrete slab to save space. Flexible pipes are often used to permit flexible and variable...
The long-established club has been waiting for this for a long time: with the construction of the new BBBank Wildpark stadium, the professional football team of Karlsruher SC will finally have a...
Concrete production businesses can now substantially reduce equipment downtime and related costs in the mixing and final production stages, thanks to the latest wearfacing technologie - therefore,...
Away from planning and managing via individual systems and interfaces, towards one system for all business and production processes specific to the precast industry. The limestone producer Calduran,...
The range of Eurobend GmbH includes sustainable solutions and an extensive range of automatic mesh welding and reinforcing steel processing machines for all types of precast concrete applications....
Formee Sp. z o.o. is a manufacturer and contractor of structures made of prefabricated concrete. The factory is located in Miedzyrzecz and the core business is to offer comprehensive solutions for the...
The new, ultra-modern concrete mixing plant of Beton- und Fertigteilgesellschaft mbH Lauchhammer (BFL) was officially commissioned on 20 March, 2023. The commissioning ceremony at the BFL premises was...
The wide range of products offered by Betonwerk Stigloher includes precast floors, suspended floor slabs, concrete, expanded clay and form blocks as well as precast walls and columns, floor slabs for...
Since the beginning of the year, the Concrete Rudolph precast producer, which is part of the Rohrdorfer group of companies, has been using the Chekker technology platform of the Austrian Beamionic...
The new technical data sheet on fair-faced concrete [1] extends the concept of fair-faced concrete classes [2] established for in-situ concrete construction by adding specific requirements for precast...
Montblanc, manufacturer of high-quality writing instruments, has opened a permanent exhibition in Hamburg, whose scenography and interior design were created by Büro Projektile. The spectacular new...
In the course of a trip to North America, Silvio Schade has recently visited a trade show and precast production plants in Canada and the USA. The BFT editor-in-chief was particularly impressed by the...
The 32nd edition of the rheology conference took place in Regensburg in March. Besides nine interesting short lectures, Schleibinger, the manufacturer of testing systems and devices, showcased its...
The important concurrent event of CADE Architectural Design Expo is jointly organized by Bauwelt and Messe München GmbH as well as its subsidiary in China, Zoomlion (Beijing) International Exhibition...
The sun shone down on The Precast Show 2023 – both literally and figuratively – as record-setting crowds enjoyed three days in Columbus, Ohio. A 70-degree day welcomed the Grand Opening on Thursday,...
It took three years for Canadian Concrete Expo to get back to its regular show dates in February. The record attendance at CCE 2023 spoke volumes about the need for the continuation of face-to-face...
(10) US 2022/0356699 A1(22) 04.05.2022(43) 10.11.2022(57) A fastening apparatus for two or more prefabricated blocks, in which the apparatus includes a perforated plate, a first block with a step, a...
(10) WO2022/246525A1(22) 22.03.2022(43) 01.12.2022(57) The present invention consists of a concrete additive composition and manufacturing process designed to give concrete hydrophobic and...
(10) WO2022/252754A1(22) 17.03.2022(43) 08.12.2022(57) A prefabricated assembly and cast-in-place concrete combined wind turbine foundation, comprising a prefabricated assembly part and a...
(10) WO2022265952(22) 13.06.2022(43) 22.12.2022(57) A method for making concrete and concrete structures includes: providing a liquid admixture with a carbon nanomaterial in a liquid aqueous or...
(10) CN113942097 (22) 23.09.2021 (43) 18.01.2022 (57) The invention relates to the technical field of concrete decorative plates, in particular to a preparation method of an ultra-high performance...
(10) DE 10 2021 209089A1(22) 18.08.2021(43) 23.02.2023(57) Ein Verfahren zur Herstellung eines aus Beton gegossenen Wand- oder Decken-Plattenelements mit einem darin eingebetteten Leerrohr-Teil...
(10) EP 4 134 503 A1(22) 12.08.2021(43) 15.02.2023(57) Die Erfindung betrifft ein Verfahren zur Herstellung eines Betonteils (200) mit einem Schraubloch für eine Betonschraube oder mit einem...
(10) US 2023/0040105A1(22) 18.10.2022(43) 09.02.2023(57) A system for use with a post-tensioning concrete anchor may comprise a connector anchor including a bore therethrough, the bore including a...
(10) US 2023/0044480A1(22) 23.12.2020(43) 09.02.2023(57) An apparatus for connecting precast elements, wherein the apparatus includes a first part adapted for being cast into a first one of the...
(10) WO2023/006235 A1(22) 25.07.2022(43) 02.02.2023(57) Die Erfindung beschreibt Betonbauteile, die aus Beton mit verwittertem Gesteinsmehl als Füllmaterial hergestellt werden. Auf diese Weise wird es...
(10) WO 2023/009783A1(22) 29.07.2022(43) 02.02.2023(57) Alkali-activated concrete having a glassy surface finish, and methods and products related to the same. A substrate comprising the...
(10) WO 2023/022457A1(22) 16.08.2022(43) 23.02.2023(57) According to the present invention, a first concrete block is installed while a guide pole is temporarily coupled to a rebar assembly for a...
(10) US 2023/0030796A1(22) 11.10.2022(43) 02.02.2023(57) A slip form assembly and a slip form construction system are provided. The slip form construction system includes a first slip form assembly...
(10) WO 2022/161839 A1 (22) 20.01.2022 (43) 04.08.2022 (57) Ein Leitwandelement (1) weist einen Grundkörper (2) aus Beton, mit einer Längserstreckung (L), zwei Längsseiten (6), zwei Stirnseiten (5)...
(10) CN114658276 (A) (22) 15.03.2022 (43) 24.06.2022 (57) The invention relates to a modular prefabricated reinforced concrete structure house system convenient to transport, which comprises a house...
(10) DE 10 2014 117 737 B4(22) 03.12.2014(43) 09.06.2016(56) Schalungselement zum Erzeugen einer Arbeitsfuge in einem Betonteil, aufweisend eine zwei seitliche Abschnitte (1) und einen zwischen den...
(10) DE 10 2017 206 660 B4(22) 20.04.2017(43) 25.10.2018(57) Verfahren zum Mischen von Beton und/oder Mörtel, wobei zu mischende Substanzen in einen Mischbehälter (2) eingefüllt und mittels zumindest...