System for connecting a wooden beam to a concrete element
(10) DE102022116558B4
(22) 02.07.2022; (43) 12.01.2023
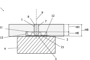
(57) System (10) zur Verbindung eines Holzträgerelements (4) mit einem Betonelement (5) enthaltend ein erstes Verbindungselement (1) und ein zweites Verbindungselement (2), wobei das erste Verbindungselement (1) ein erstes Grundelement (11) enthält, wobei das erste Grundelement (11) einen ersten Grundkörper (12) umfasst, wobei der erste Grundkörper (12) zur Aufnahme im Betonelement (5) ausgebildet ist, dadurch gekennzeichnet, dass der erste Grundkörper (12) als eine Schale ausgebildet ist, die einen Schalenboden und Schalenwände und eine dem Schalenboden gegenüberliegende Schalenöffnung enthält, wobei der Schalenboden und die Schalenwände ausgebildet sind, das Eindringen von fließfähigem Beton in die Schale während der Montage des ersten Verbindungselements (1) zu verhindern, wobei in der Schale eine Mehrzahl von ersten Eingriffselementen (13) angeordnet ist, wobei die ersten Eingriffselemente (13) sich vom Schalenboden in Richtung der Schalenöffnung erstrecken, wobei das zweite Verbindungselement (2) ein zweites Grundelement (21) enthält, wobei das zweite Grundelement (21) einen zweiten Grundkörper (22) umfasst, wobei der zweite Grundkörper (22) eine Mehrzahl von zweiten Eingriffselementen (23) enthält, die als Ausnehmungen im zweiten Grundkörper (22) ausgebildet sind, wobei das erste Verbindungselement (1) mit dem zweiten Verbindungselement (2) derart verbindbar ist, dass die ersten Eingriffselemente (13) in den zweiten Eingriffselementen (23) zumindest teilweise aufgenommen sind, wenn das erste Verbindungselement (1) und das zweite Verbindungselement (2) miteinander verbunden sind.
(71) Erne AG Holzbau, Laufenburg, CH
